|
|
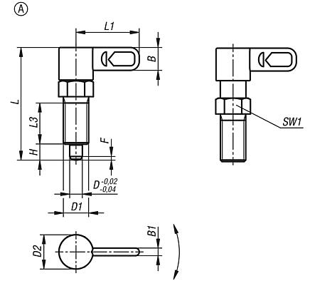
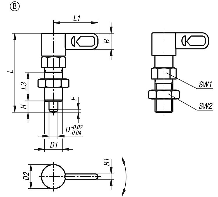
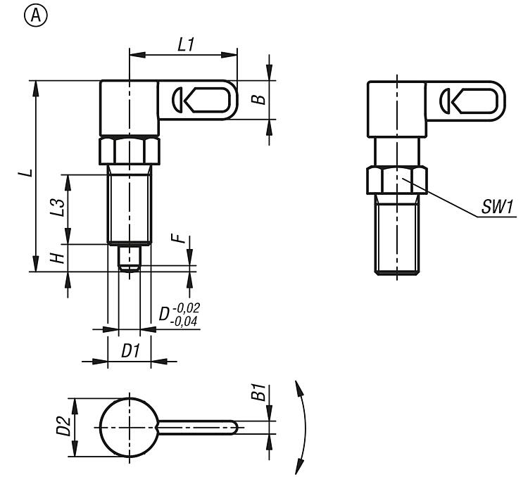
产品说明产品描述:用凸轮旋柄柱塞可防止锁紧位置由于受横向力的作用而发生移动。手柄旋转 180° 柱塞顶销缩回,因此可以改变锁紧位置。凹槽确保手柄保持在此位置,柱塞顶销保持缩回状态。材料:螺纹套筒和锁止器 1.0503。 易切削钢柱塞顶销。 压力弹簧 1.4310。 热塑 PA 闩盖。规格:螺纹套筒和锁扣经黑色氧化处理。 柱塞顶销硬化,经打磨和黑色氧化。 压力弹簧亮色。 不同颜色的螺栓帽: - 黑灰色 RAL 7021 - 纯橙色 RAL 2004 - 油菜籽黄色 RAL 1021 - 交通红色 RAL 3020 - 信号绿色 RAL 6032 - 交通蓝色 RAL 5017 - 浅灰色 RAL 7035应用:由于其封闭式设计,带内导轨的凸轮旋柄柱塞可以安装在如灰尘和飞溅火花等污染严重的地方。优点:- 将手柄旋转 180°,柱塞顶销即可缩回。 - 封闭式设计可防止灰尘进入螺纹套筒。 - 套筒上的六角便于安装凸轮旋柄柱塞。根据要求:特殊类型。附件:固定支架 03099。 定位衬套 03099-50, 03099-60, 03099-61。 图纸提示:A 型:无螺栓帽,不带锁紧螺母 B 型:无螺栓帽,带锁紧螺母 C 型:有螺栓帽,不带锁紧螺母 D 型:有螺栓帽,带锁紧螺母 特点: 下载此处为收集信息的 PDF:
查找 CAD 数据?请直接在产品列表中查找。
|
带内导轨的钢制凸轮旋柄柱塞,A 型,无螺栓帽,无螺母 |
更多信息 |
| 订货号 | 类型 | D
| D1 | D2 | L | L1 | L3 | B | B1 | H | SW1 | Fx30° | 初始位置 弹簧弹力 F1 约 N | 终点位置 弹簧弹力 F2 约 N | CAD | 配件 | 价格 | 订购 |
|---|
| 03099-35-0405101 | A | 5 | M10x1 | 16 | 45,8 | 25 | 15 | 9 | 3 | 6 | 13 | 1,3 | 8 | 14 |  | | 根据要求 | | | 03099-35-0406121 | A | 6 | M12x1,5 | 17,4 | 55,4 | 30 | 19 | 10,2 | 3,6 | 8 | 14 | 1,8 | 8 | 15 |  | | 根据要求 | | | 03099-35-0408161 | A | 8 | M16x1,5 | 21,6 | 71 | 40 | 26 | 14,4 | 4,8 | 10 | 19 | 2,3 | 15 | 35 |  | | 根据要求 | | | 03099-35-0410201 | A | 10 | M20x1,5 | 24,8 | 80,5 | 50 | 30 | 17 | 6 | 12 | 22 | 2,8 | 20 | 60 |  | | 根据要求 | |
|
带内导轨的钢制凸轮旋柄柱塞,B 型,无螺栓帽,有螺母 |
更多信息 |
| 订货号 | 类型 | D
| D1 | D2 | L | L1 | L3 | B | B1 | H | SW1 | SW2 | Fx30° | 初始位置 弹簧弹力 F1 约 N | 终点位置 弹簧弹力 F2 约 N | CAD | 配件 | 价格 | 订购 |
|---|
| 03099-35-0505101 | B | 5 | M10x1 | 16 | 45,8 | 25 | 15 | 9 | 3 | 6 | 13 | 17 | 1,3 | 8 | 14 |  | | 根据要求 | | | 03099-35-0506121 | B | 6 | M12x1,5 | 17,4 | 55,4 | 30 | 19 | 10,2 | 3,6 | 8 | 14 | 19 | 1,8 | 8 | 15 |  | | 根据要求 | | | 03099-35-0508161 | B | 8 | M16x1,5 | 21,6 | 71 | 40 | 26 | 14,4 | 4,8 | 10 | 19 | 24 | 2,3 | 15 | 35 |  | | 根据要求 | | | 03099-35-0510201 | B | 10 | M20x1,5 | 24,8 | 80,5 | 50 | 30 | 17 | 6 | 12 | 22 | 30 | 2,8 | 20 | 60 |  | | 根据要求 | |
|
带内导轨的钢制凸轮旋柄柱塞,C 型,有螺栓帽,无螺母 |
更多信息 |
| 订货号 | 类型 | 组件 颜色 | D
| D1 | D2 | L | L1 | L3 | B | B1 | H | SW1 | Fx30° | 初始位置 弹簧弹力 F1 约 N | 终点位置 弹簧弹力 F2 约 N | CAD | 配件 | 价格 | 订购 |
|---|
| 03099-35-0605101 | C | 黑灰色 RAL 7021 | 5 | M10x1 | 16 | 46,7 | 26,3 | 15 | 10,9 | 4,9 | 6 | 13 | 1,3 | 8 | 14 |  | | 根据要求 | | | 03099-35-0606121 | C | 黑灰色 RAL 7021 | 6 | M12x1,5 | 17,4 | 56,5 | 31,5 | 19 | 13 | 5,8 | 8 | 14 | 1,8 | 8 | 15 |  | | 根据要求 | | | 03099-35-0608161 | C | 黑灰色 RAL 7021 | 8 | M16x1,5 | 21,6 | 72,6 | 42 | 26 | 17,7 | 8,1 | 10 | 19 | 2,3 | 15 | 35 |  | | 根据要求 | | | 03099-35-0610201 | C | 黑灰色 RAL 7021 | 10 | M20x1,5 | 24,8 | 82,3 | 51,6 | 30 | 21,5 | 9,5 | 12 | 22 | 2,8 | 20 | 60 |  | | 根据要求 | | | 03099-35-06051012 | C | 橙色 RAL 2004 | 5 | M10x1 | 16 | 46,7 | 26,3 | 15 | 10,9 | 4,9 | 6 | 13 | 1,3 | 8 | 14 |  | | 根据要求 | | | 03099-35-06061212 | C | 橙色 RAL 2004 | 6 | M12x1,5 | 17,4 | 56,5 | 31,5 | 19 | 13 | 5,8 | 8 | 14 | 1,8 | 8 | 15 |  | | 根据要求 | | | 03099-35-06081612 | C | 橙色 RAL 2004 | 8 | M16x1,5 | 21,6 | 72,6 | 42 | 26 | 17,7 | 8,1 | 10 | 19 | 2,3 | 15 | 35 |  | | 根据要求 | | | 03099-35-06102012 | C | 橙色 RAL 2004 | 10 | M20x1,5 | 24,8 | 82,3 | 51,6 | 30 | 21,5 | 9,5 | 12 | 22 | 2,8 | 20 | 60 |  | | 根据要求 | | | 03099-35-060510116 | C | 黄色 RAL 1021 | 5 | M10x1 | 16 | 46,7 | 26,3 | 15 | 10,9 | 4,9 | 6 | 13 | 1,3 | 8 | 14 |  | | 根据要求 | | | 03099-35-060612116 | C | 黄色 RAL 1021 | 6 | M12x1,5 | 17,4 | 56,5 | 31,5 | 19 | 13 | 5,8 | 8 | 14 | 1,8 | 8 | 15 |  | | 根据要求 | | | 03099-35-060816116 | C | 黄色 RAL 1021 | 8 | M16x1,5 | 21,6 | 72,6 | 42 | 26 | 17,7 | 8,1 | 10 | 19 | 2,3 | 15 | 35 |  | | 根据要求 | | | 03099-35-061020116 | C | 黄色 RAL 1021 | 10 | M20x1,5 | 24,8 | 82,3 | 51,6 | 30 | 21,5 | 9,5 | 12 | 22 | 2,8 | 20 | 60 |  | | 根据要求 | | | 03099-35-060510148 | C | 红色 RAL 3020 | 5 | M10x1 | 16 | 46,7 | 26,3 | 15 | 10,9 | 4,9 | 6 | 13 | 1,3 | 8 | 14 |  | | 根据要求 | | | 03099-35-060612148 | C | 红色 RAL 3020 | 6 | M12x1,5 | 17,4 | 56,5 | 31,5 | 19 | 13 | 5,8 | 8 | 14 | 1,8 | 8 | 15 |  | | 根据要求 | | | 03099-35-060816148 | C | 红色 RAL 3020 | 8 | M16x1,5 | 21,6 | 72,6 | 42 | 26 | 17,7 | 8,1 | 10 | 19 | 2,3 | 15 | 35 |  | | 根据要求 | | | 03099-35-061020148 | C | 红色 RAL 3020 | 10 | M20x1,5 | 24,8 | 82,3 | 51,6 | 30 | 21,5 | 9,5 | 12 | 22 | 2,8 | 20 | 60 |  | | 根据要求 | | | 03099-35-060510186 | C | 灰色 RAL 6032 | 5 | M10x1 | 16 | 46,7 | 26,3 | 15 | 10,9 | 4,9 | 6 | 13 | 1,3 | 8 | 14 |  | | 根据要求 | | | 03099-35-060612186 | C | 灰色 RAL 6032 | 6 | M12x1,5 | 17,4 | 56,5 | 31,5 | 19 | 13 | 5,8 | 8 | 14 | 1,8 | 8 | 15 |  | | 根据要求 | | | 03099-35-060816186 | C | 灰色 RAL 6032 | 8 | M16x1,5 | 21,6 | 72,6 | 42 | 26 | 17,7 | 8,1 | 10 | 19 | 2,3 | 15 | 35 |  | | 根据要求 | | | 03099-35-061020186 | C | 灰色 RAL 6032 | 10 | M20x1,5 | 24,8 | 82,3 | 51,6 | 30 | 21,5 | 9,5 | 12 | 22 | 2,8 | 20 | 60 |  | | 根据要求 | | | 03099-35-060510187 | C | 蓝色 RAL 5017 | 5 | M10x1 | 16 | 46,7 | 26,3 | 15 | 10,9 | 4,9 | 6 | 13 | 1,3 | 8 | 14 |  | | 根据要求 | | | 03099-35-060612187 | C | 蓝色 RAL 5017 | 6 | M12x1,5 | 17,4 | 56,5 | 31,5 | 19 | 13 | 5,8 | 8 | 14 | 1,8 | 8 | 15 |  | | 根据要求 | | | 03099-35-060816187 | C | 蓝色 RAL 5017 | 8 | M16x1,5 | 21,6 | 72,6 | 42 | 26 | 17,7 | 8,1 | 10 | 19 | 2,3 | 15 | 35 |  | | 根据要求 | | | 03099-35-061020187 | C | 蓝色 RAL 5017 | 10 | M20x1,5 | 24,8 | 82,3 | 51,6 | 30 | 21,5 | 9,5 | 12 | 22 | 2,8 | 20 | 60 |  | | 根据要求 | | | 03099-35-060510188 | C | 灰色 RAL 7035 | 5 | M10x1 | 16 | 46,7 | 26,3 | 15 | 10,9 | 4,9 | 6 | 13 | 1,3 | 8 | 14 |  | | 根据要求 | | | 03099-35-060612188 | C | 灰色 RAL 7035 | 6 | M12x1,5 | 17,4 | 56,5 | 31,5 | 19 | 13 | 5,8 | 8 | 14 | 1,8 | 8 | 15 |  | | 根据要求 | | | 03099-35-060816188 | C | 灰色 RAL 7035 | 8 | M16x1,5 | 21,6 | 72,6 | 42 | 26 | 17,7 | 8,1 | 10 | 19 | 2,3 | 15 | 35 |  | | 根据要求 | | | 03099-35-061020188 | C | 灰色 RAL 7035 | 10 | M20x1,5 | 24,8 | 82,3 | 51,6 | 30 | 21,5 | 9,5 | 12 | 22 | 2,8 | 20 | 60 |  | | 根据要求 | |
|
带内导轨的钢制凸轮旋柄柱塞,D 型,有螺栓帽,无螺母 |
更多信息 |
| 订货号 | 类型 | 组件 颜色 | D
| D1 | D2 | L | L1 | L3 | B | B1 | H | SW1 | SW2 | Fx30° | 初始位置 弹簧弹力 F1 约 N | 终点位置 弹簧弹力 F2 约 N | CAD | 配件 | 价格 | 订购 |
|---|
| 03099-35-0705101 | D | 黑灰色 RAL 7021 | 5 | M10x1 | 16 | 46,7 | 26,3 | 15 | 10,9 | 4,9 | 6 | 13 | 17 | 1,3 | 8 | 14 |  | | 根据要求 | | | 03099-35-0706121 | D | 黑灰色 RAL 7021 | 6 | M12x1,5 | 17,4 | 56,5 | 31,5 | 19 | 13 | 5,8 | 8 | 14 | 19 | 1,8 | 8 | 15 |  | | 根据要求 | | | 03099-35-0708161 | D | 黑灰色 RAL 7021 | 8 | M16x1,5 | 21,6 | 72,6 | 42 | 26 | 17,7 | 8,1 | 10 | 19 | 24 | 2,3 | 15 | 35 |  | | 根据要求 | | | 03099-35-0710201 | D | 黑灰色 RAL 7021 | 10 | M20x1,5 | 24,8 | 82,3 | 51,6 | 30 | 21,5 | 9,5 | 12 | 22 | 30 | 2,8 | 20 | 60 |  | | 根据要求 | | | 03099-35-07051012 | D | 橙色 RAL 2004 | 5 | M10x1 | 16 | 46,7 | 26,3 | 15 | 10,9 | 4,9 | 6 | 13 | 17 | 1,3 | 8 | 14 |  | | 根据要求 | | | 03099-35-07061212 | D | 橙色 RAL 2004 | 6 | M12x1,5 | 17,4 | 56,5 | 31,5 | 19 | 13 | 5,8 | 8 | 14 | 19 | 1,8 | 8 | 15 |  | | 根据要求 | | | 03099-35-07081612 | D | 橙色 RAL 2004 | 8 | M16x1,5 | 21,6 | 72,6 | 42 | 26 | 17,7 | 8,1 | 10 | 19 | 24 | 2,3 | 15 | 35 |  | | 根据要求 | | | 03099-35-07102012 | D | 橙色 RAL 2004 | 10 | M20x1,5 | 24,8 | 82,3 | 51,6 | 30 | 21,5 | 9,5 | 12 | 22 | 30 | 2,8 | 20 | 60 |  | | 根据要求 | | | 03099-35-070510116 | D | 黄色 RAL 1021 | 5 | M10x1 | 16 | 46,7 | 26,3 | 15 | 10,9 | 4,9 | 6 | 13 | 17 | 1,3 | 8 | 14 |  | | 根据要求 | | | 03099-35-070612116 | D | 黄色 RAL 1021 | 6 | M12x1,5 | 17,4 | 56,5 | 31,5 | 19 | 13 | 5,8 | 8 | 14 | 19 | 1,8 | 8 | 15 |  | | 根据要求 | | | 03099-35-070816116 | D | 黄色 RAL 1021 | 8 | M16x1,5 | 21,6 | 72,6 | 42 | 26 | 17,7 | 8,1 | 10 | 19 | 24 | 2,3 | 15 | 35 |  | | 根据要求 | | | 03099-35-071020116 | D | 黄色 RAL 1021 | 10 | M20x1,5 | 24,8 | 82,3 | 51,6 | 30 | 21,5 | 9,5 | 12 | 22 | 30 | 2,8 | 20 | 60 |  | | 根据要求 | | | 03099-35-070510148 | D | 红色 RAL 3020 | 5 | M10x1 | 16 | 46,7 | 26,3 | 15 | 10,9 | 4,9 | 6 | 13 | 17 | 1,3 | 8 | 14 |  | | 根据要求 | | | 03099-35-070612148 | D | 红色 RAL 3020 | 6 | M12x1,5 | 17,4 | 56,5 | 31,5 | 19 | 13 | 5,8 | 8 | 14 | 19 | 1,8 | 8 | 15 |  | | 根据要求 | | | 03099-35-070816148 | D | 红色 RAL 3020 | 8 | M16x1,5 | 21,6 | 72,6 | 42 | 26 | 17,7 | 8,1 | 10 | 19 | 24 | 2,3 | 15 | 35 |  | | 根据要求 | | | 03099-35-071020148 | D | 红色 RAL 3020 | 10 | M20x1,5 | 24,8 | 82,3 | 51,6 | 30 | 21,5 | 9,5 | 12 | 22 | 30 | 2,8 | 20 | 60 |  | | 根据要求 | | | 03099-35-070510186 | D | 灰色 RAL 6032 | 5 | M10x1 | 16 | 46,7 | 26,3 | 15 | 10,9 | 4,9 | 6 | 13 | 17 | 1,3 | 8 | 14 |  | | 根据要求 | | | 03099-35-070612186 | D | 灰色 RAL 6032 | 6 | M12x1,5 | 17,4 | 56,5 | 31,5 | 19 | 13 | 5,8 | 8 | 14 | 19 | 1,8 | 8 | 15 |  | | 根据要求 | | | 03099-35-070816186 | D | 灰色 RAL 6032 | 8 | M16x1,5 | 21,6 | 72,6 | 42 | 26 | 17,7 | 8,1 | 10 | 19 | 24 | 2,3 | 15 | 35 |  | | 根据要求 | | | 03099-35-071020186 | D | 灰色 RAL 6032 | 10 | M20x1,5 | 24,8 | 82,3 | 51,6 | 30 | 21,5 | 9,5 | 12 | 22 | 30 | 2,8 | 20 | 60 |  | | 根据要求 | | | 03099-35-070510187 | D | 蓝色 RAL 5017 | 5 | M10x1 | 16 | 46,7 | 26,3 | 15 | 10,9 | 4,9 | 6 | 13 | 17 | 1,3 | 8 | 14 |  | | 根据要求 | | | 03099-35-070612187 | D | 蓝色 RAL 5017 | 6 | M12x1,5 | 17,4 | 56,5 | 31,5 | 19 | 13 | 5,8 | 8 | 14 | 19 | 1,8 | 8 | 15 |  | | 根据要求 | | | 03099-35-070816187 | D | 蓝色 RAL 5017 | 8 | M16x1,5 | 21,6 | 72,6 | 42 | 26 | 17,7 | 8,1 | 10 | 19 | 24 | 2,3 | 15 | 35 |  | | 根据要求 | | | 03099-35-071020187 | D | 蓝色 RAL 5017 | 10 | M20x1,5 | 24,8 | 82,3 | 51,6 | 30 | 21,5 | 9,5 | 12 | 22 | 30 | 2,8 | 20 | 60 |  | | 根据要求 | | | 03099-35-070510188 | D | 灰色 RAL 7035 | 5 | M10x1 | 16 | 46,7 | 26,3 | 15 | 10,9 | 4,9 | 6 | 13 | 17 | 1,3 | 8 | 14 |  | | 根据要求 | | | 03099-35-070612188 | D | 灰色 RAL 7035 | 6 | M12x1,5 | 17,4 | 56,5 | 31,5 | 19 | 13 | 5,8 | 8 | 14 | 19 | 1,8 | 8 | 15 |  | | 根据要求 | | | 03099-35-070816188 | D | 灰色 RAL 7035 | 8 | M16x1,5 | 21,6 | 72,6 | 42 | 26 | 17,7 | 8,1 | 10 | 19 | 24 | 2,3 | 15 | 35 |  | | 根据要求 | | | 03099-35-071020188 | D | 灰色 RAL 7035 | 10 | M20x1,5 | 24,8 | 82,3 | 51,6 | 30 | 21,5 | 9,5 | 12 | 22 | 30 | 2,8 | 20 | 60 |  | | 根据要求 | |
|
|
|