norelem 使用 Cookies 以优化设计和持续改进网页。您通过继续使用网页,同意使用 Cookies。在我们的数据保护声明中可以找到有关 Cookies 主题的详细信息。同意
钢制或不锈钢制定位衬套 带状态传感器
03099-60

钢制或不锈钢制定位衬套 带状态传感器

返回

商品描述/产品说明

查看/筛选所有商品
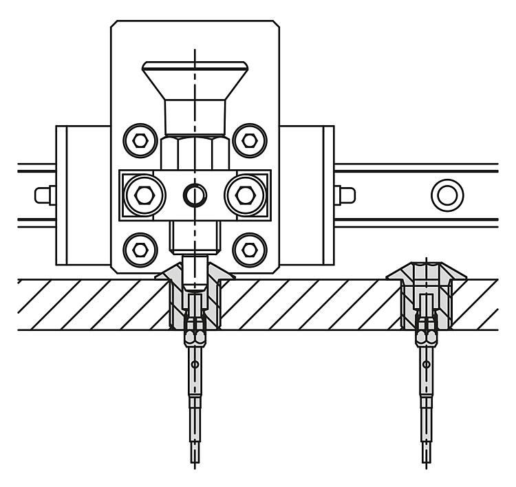
产品说明产品描述:定位衬套是螺栓形操作元件和锁定元件的安装点,它们可以安全准确地卡入其中。

带有状态传感器的定位衬套在衬套上有一个可调节的传感器。这样就可以以电子方式查询螺栓是否在定位衬套中。
使用多个衬套,可确定操作元件或锁定元件位于其中哪个衬套中。
材料:

钢制或不锈钢制定位衬套 1.4034。
不锈钢制传感器。
黄铜夹紧螺母。

规格:定位衬套:
钢制,经硬化和氧化处理。
不锈钢,经硬化和抛光处理。

传感器经抛光处理。
夹紧螺母镀镍。
提示:适用于保留件 03099。
状态传感器和夹紧螺母在供货时未组装。
夹紧螺母的最大紧固扭矩:1.2 Nm。
技术参数:感应式传感器:
输出电路:常开触点 (NO)
工作电压:10 - 30 V DC
工作电流:<100 mA
开关距离:1 mm
开关频率:<3500 Hz
防短路:有
反极性保护:有
保护级别:IP 67
连接方式:2 m 电缆 PVC
温度范围:-25° C - +70°C
许可证:CE、c-UL-us、EAC
应用:定位衬套与状态传感器相结合,可实现与驱动相关的过程控制。此外,还可以确保操作元件或锁定元件处于所需位置。
例如,在调整包装机的格式中。
装配:传感器通过夹紧螺母固定在衬套上,并进行轴向调整。最终通过拧紧夹紧螺母将传感器固定到位。

装配说明中描述了详细程序。
安全:带状态传感器的定位衬套不适合用于保障人身安全。图纸提示:
A型:贯穿螺纹
B型:带螺纹和套圈
C型:带螺纹和启动锥
D型:光滑

1) LED

BN = 棕色
BK = 黑色
BU = 蓝色
特点:
RoHS
下载此处为收集信息的 PDF:

查找 CAD 数据?请直接在产品列表中查找。
 Datasheet 03099-60 钢制或不锈钢制定位衬套 带状态传感器 581 kB

图片(总概述)

钢制或不锈钢制定位衬套 带状态传感器

钢制或不锈钢制定位衬套,带状态传感器,A 型,连续螺纹

更多信息

图纸

钢制或不锈钢制定位衬套,带状态传感器,A 型,连续螺纹

商品选择/筛选

订货号类型形状类型主体
材料
D

D1D3HH3LTT1SW1SW2CAD配件价格订购
03099-60-1031011A贯穿螺纹钢制3M10x13124277435 根据要求
03099-60-1041011A贯穿螺纹钢制4M10x13124277445 根据要求
03099-60-1051211A贯穿螺纹钢制5M12x1,531542711455 根据要求
03099-60-1061211A贯穿螺纹钢制6M12x1,531542711465 根据要求
03099-60-1081611A贯穿螺纹钢制8M16x1,532042715,5685 根据要求
03099-60-1101611A贯穿螺纹钢制10M16x1,532042715,56105 根据要求
03099-60-1122011A贯穿螺纹钢制12M20x1,5325427196125 根据要求
03099-60-1162411A贯穿螺纹钢制16M24x2332427258165 根据要求
03099-60-11031011A贯穿螺纹不锈钢3M10x13124277435 根据要求
03099-60-11041011A贯穿螺纹不锈钢4M10x13124277445 根据要求
03099-60-11051211A贯穿螺纹不锈钢5M12x1,531542711455 根据要求
03099-60-11061211A贯穿螺纹不锈钢6M12x1,531542711465 根据要求
03099-60-11081611A贯穿螺纹不锈钢8M16x1,532042715,5685 根据要求
03099-60-11101611A贯穿螺纹不锈钢10M16x1,532042715,56105 根据要求
03099-60-11122011A贯穿螺纹不锈钢12M20x1,5325427196125 根据要求
03099-60-11162411A贯穿螺纹不锈钢16M24x2332427258165 根据要求

钢制或不锈钢制定位衬套,带状态传感器,B 型,带螺纹和轴环

更多信息

图纸

钢制或不锈钢制定位衬套,带状态传感器,B 型,带螺纹和轴环

商品选择/筛选

订货号类型形状类型主体
材料
D

D1D3HH1H2H3LTSW1SW2CAD配件价格订购
03099-60-2031011B带螺纹和套圈钢制3M10x13151210,54277115 根据要求
03099-60-2041011B带螺纹和套圈钢制4M10x13151210,54277115 根据要求
03099-60-2051211B带螺纹和套圈钢制5M12x1,53151210,542711135 根据要求
03099-60-2061211B带螺纹和套圈钢制6M12x1,53151210,542711135 根据要求
03099-60-2081611B带螺纹和套圈钢制8M16x1,53201513,542715,5175 根据要求
03099-60-2101611B带螺纹和套圈钢制10M16x1,53201513,542715,5175 根据要求
03099-60-2122011B带螺纹和套圈钢制12M20x1,53252018,542719225 根据要求
03099-60-2162411B带螺纹和套圈钢制16M24x23322725,542725275 根据要求
03099-60-12031011B带螺纹和套圈不锈钢3M10x13151210,54277115 根据要求
03099-60-12041011B带螺纹和套圈不锈钢4M10x13151210,54277115 根据要求
03099-60-12051211B带螺纹和套圈不锈钢5M12x1,53151210,542711135 根据要求
03099-60-12061211B带螺纹和套圈不锈钢6M12x1,53151210,542711135 根据要求
03099-60-12081611B带螺纹和套圈不锈钢8M16x1,53201513,542715,5175 根据要求
03099-60-12101611B带螺纹和套圈不锈钢10M16x1,53201513,542715,5175 根据要求
03099-60-12122011B带螺纹和套圈不锈钢12M20x1,53252018,542719225 根据要求
03099-60-12162411B带螺纹和套圈不锈钢16M24x23322725,542725275 根据要求

钢制或不锈钢制定位衬套,带状态传感器,C 型,带螺纹和启动锥

更多信息

图纸

钢制或不锈钢制定位衬套,带状态传感器,C 型,带螺纹和启动锥

商品选择/筛选

订货号类型形状类型主体
材料
D

D1D2D3HH1H2H3LTSW1SW2CAD配件价格订购
03099-60-3041211C带螺纹和启动锥钢制4M12x1,5193161210,54271145 根据要求
03099-60-3051211C带螺纹和启动锥钢制5M12x1,5193161210,54271155 根据要求
03099-60-3061211C带螺纹和启动锥钢制6M12x1,5193161210,54271165 根据要求
03099-60-3081611C带螺纹和启动锥钢制8M16x1,5263201513,542715,585 根据要求
03099-60-3101611C带螺纹和启动锥钢制10M16x1,5263201513,542715,5105 根据要求
03099-60-13041211C带螺纹和启动锥不锈钢4M12x1,5193161210,54271145 根据要求
03099-60-13051211C带螺纹和启动锥不锈钢5M12x1,5193161210,54271155 根据要求
03099-60-13061211C带螺纹和启动锥不锈钢6M12x1,5193161210,54271165 根据要求
03099-60-13081611C带螺纹和启动锥不锈钢8M16x1,5263201513,542715,585 根据要求
03099-60-13101611C带螺纹和启动锥不锈钢10M16x1,5263201513,542715,5105 根据要求

钢制或不锈钢制定位衬套,带状态传感器,D 型,光滑

更多信息

图纸

钢制或不锈钢制定位衬套,带状态传感器,D 型,光滑

商品选择/筛选

订货号类型形状类型主体
材料
D

D1D3HH1H3LTSW2CAD配件价格订购
03099-60-4030891D光滑钢制38310642755 根据要求
03099-60-4040891D光滑钢制48310642755 根据要求
03099-60-4050891D光滑钢制58310642765 根据要求
03099-60-4061091D光滑钢制610311742775 根据要求
03099-60-4081391D光滑钢制813,53149,54279,55 根据要求
03099-60-4101791D光滑钢制101731611,542711,55 根据要求
03099-60-14030891D光滑不锈钢38310642755 根据要求
03099-60-14040891D光滑不锈钢48310642755 根据要求
03099-60-14050891D光滑不锈钢58310642765 根据要求
03099-60-14061091D光滑不锈钢610311742775 根据要求
03099-60-14081391D光滑不锈钢813,53149,54279,55 根据要求
03099-60-14101791D光滑不锈钢101731611,542711,55 根据要求
我的 norelemE-Mail密码
购物车
商品数量: 0
总数: 0.00  
点击购物车
欢迎扫描二维码
咨询诺瑞朗官方客服微信
中国
苏ICP备20011289号-1  苏公网安备32058502011222 网页地图 打印 推荐 Top
Copyright © 2025 norelem. 保留所有权利。 电话 +49 71 45/206-44 至 45 · 传真 +49 71 45/206-83