norelem 使用 Cookies 以优化设计和持续改进网页。您通过继续使用网页,同意使用 Cookies。在我们的数据保护声明中可以找到有关 Cookies 主题的详细信息。同意
不锈钢制锁柄,带复位弹簧锁柄向上或向下
03102-15

不锈钢制锁柄,带复位弹簧 锁柄向上或向下

返回

商品描述/产品说明

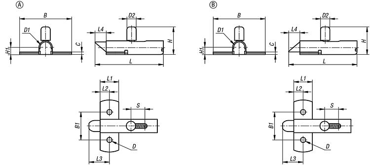
产品说明材料:不锈钢。提示:可轻松地将带复位弹簧的锁柄拧到门、翻板和盖罩上。提供两种不同类型的向上或向下倾斜的锁柄。通过倾斜的表面无需操作锁柄即可关闭或打开应用。锁柄在集成弹簧的作用下始终回到其初始位置。使用说明:推动操纵杆,将锁柄置于打开位置,即可打开门。通过斜面关紧门后会自动确保锁定。特点:
不锈钢RoHS
下载此处为收集信息的 PDF:

查找 CAD 数据?请直接在产品列表中查找。
 Datasheet 03102-15 不锈钢制锁柄,带复位弹簧锁柄向上或向下 192 kB

图纸

不锈钢制锁柄,带复位弹簧锁柄向上或向下

商品选择/筛选

订货号类型形状类型BB1CD

D1D2HH1行程
S
LL1L2L3L4CAD配件价格订购
03102-15-07356A锁柄向上56302,75,5121029,77,351373,520102212 根据要求
03102-15-17356B锁柄向下56302,75,5121029,77,351373,520102212 根据要求
我的 norelemE-Mail密码
购物车
商品数量: 0
总数: 0.00  
点击购物车
欢迎扫描二维码
咨询诺瑞朗官方客服微信
中国
苏ICP备20011289号-1  苏公网安备32058502011222 网页地图 打印 推荐 Top
Copyright © 2025 norelem. 保留所有权利。 电话 +49 71 45/206-44 至 45 · 传真 +49 71 45/206-83