norelem 使用 Cookies 以优化设计和持续改进网页。您通过继续使用网页,同意使用 Cookies。在我们的数据保护声明中可以找到有关 Cookies 主题的详细信息。同意
齿带轮HTD 5M 型,用于使用锥形夹紧套安装
22005

齿带轮 HTD 5M 型,用于使用锥形夹紧套安装

返回

商品描述/产品说明

产品说明材料:钢制或灰口铸铁。规格:磷化。提示:带公制节距的标准 HTD 型材(半圆形齿轮)。必须至少一个齿带轮具有凸缘轮。适用于锥形夹紧衬套的锥孔。锥形夹紧衬套必须单独订购,并支持多种轴直径。锥孔凸缘轮依照 ISO 1940 质量等级 G16 静态平衡。附件:锥形夹紧套 23200。特点:
RoHS
下载此处为收集信息的 PDF:

查找 CAD 数据?请直接在产品列表中查找。
 Datasheet 22005 齿带轮HTD 5M 型,用于使用锥形夹紧套安装 235 kB
 齿形皮带 22062 使用说明 1.021 kB

图纸

齿带轮HTD 5M 型,用于使用锥形夹紧套安装

商品选择/筛选

订货号皮带宽度类型主体
材料
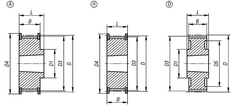
类型 2齿数

D

D1
max.
D3D4
max.
D5BLCAD配件价格订购
22005-051503415H钢制适用锥形衬套10083454,11-52,9757-2222  根据要求
22005-051503615H钢制适用锥形衬套11083657,3-56,1662-2222  根据要求
22005-051503815H钢制适用锥形衬套11083860,48-59,3467-2222  根据要求
22005-051504015H钢制适用锥形衬套11084063,66-62,5273-2222  根据要求
22005-051504415H钢制适用锥形衬套11084470,03-68,8975-2222  根据要求
22005-051504815A钢制适用锥形衬套12104876,396475,2584-20,525  根据要求
22005-051505615A灰口铸铁适用锥形衬套12105689,137087,9994-20,525  根据要求
22005-051506415A灰口铸铁适用锥形衬套121064101,8680100,72108-20,525  根据要求
22005-051507215A灰口铸铁适用锥形衬套161072114,5992113,45121-20,525  根据要求
22005-051508015A灰口铸铁适用锥形衬套161080127,3292126,18135-20,525  根据要求
22005-051509015O灰口铸铁适用锥形衬套161090143,2492142,1-12220,525  根据要求
22005-051511215O灰口铸铁适用锥形衬套1610112178,25110177,11-15720,525  根据要求
我的 norelemE-Mail密码
购物车
商品数量: 0
总数: 0.00  
点击购物车
欢迎扫描二维码
咨询诺瑞朗官方客服微信
中国
苏ICP备20011289号-1  苏公网安备32058502011222 网页地图 打印 推荐 Top
Copyright © 2025 norelem. 保留所有权利。 电话 +49 71 45/206-44 至 45 · 传真 +49 71 45/206-83