|
|
|
03089Indexing plungers, stainless steel with stainless steel mushroom... |
go back |
|
Item description/product images |
|
|
DescriptionProduct description:Indexing plungers are used to prevent any change in locking position due to lateral forces. A new locking position can only be set after the pin has been manually disengaged. Form C or D is recommended for applications where the plunger remains disengaged over a long period and the pin should be prevented from springing back.Material:Stainless steel version A1:
Threaded sleeve and mushroom grip 1.4305.
Indexing pin hardened 1.4034.
Indexing pin not hardened 1.4305.
Stainless steel version A4:
Threaded sleeve, mushroom grip and indexing pin 1.4404. Version:Stainless steel version A1: Threaded sleeve and mushroom grip bright. Indexing pin hardened and ground, bright. Indexing pin not hardened and ground, bright.
Stainless steel version A4: Threaded sleeve bright. Mushroom grip bright or abrasive blasted. Indexing pin ground and chemically nickel-plated. Indexing pin ground, bright.Note:The materials used enable a wide range of applications. Indexing plungers made from A4 stainless steel are recommended for applications with very high corrosion resistance requirements. Accessory:Spacer rings 03089. fastening sets for thin-walled parts 03094-10.Drawing reference:Form A: non-lockout type, without locknut Form B: non-lockout type, with locknut Form C: lockout type, without locknut Form D: lockout type, with locknut Special features: DownloadHere is all the information as a PDF datasheet:
Are you looking for CAD data? These can be found directly in the product table.
|
Drawings (total overview) |
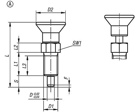
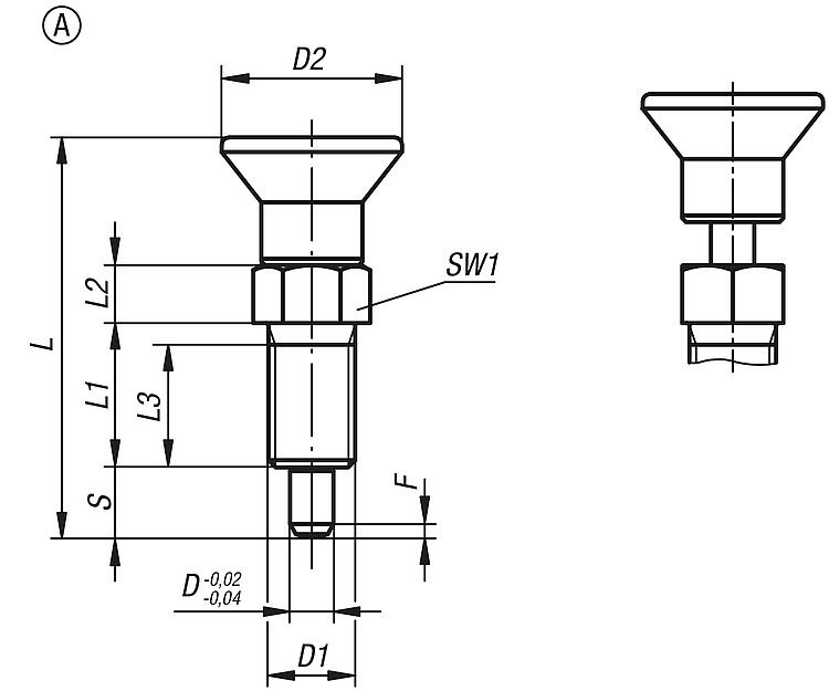
Indexing plungers, stainless steel with stainless steel mushroom grip and extended indexing pin, without locking slot or locknut |
More information |
| Order No. | Size | Form | Form definition | Steel code | Surface finish component | D | D1 | D2 | L | L1 | L2 | L3 | CAD | Acc. | Price | Order |
|---|
| 03089-2001903 | 9 | A | without locking slot, without locknut | 1.4034 | bright | 3 | M6x0,75 | 14 | 33 | 12 | 5 | 10 |  | | on request | | | 03089-2001004 | 0 | A | without locking slot, without locknut | 1.4034 | bright | 4 | M8x1 | 18 | 40,5 | 15 | 6 | 13 |  | | on request | | | 03089-2001105 | 1 | A | without locking slot, without locknut | 1.4034 | bright | 5 | M10x1 | 21 | 46,5 | 17 | 7 | 15 |  | | on request | | | 03089-2001206 | 2 | A | without locking slot, without locknut | 1.4034 | bright | 6 | M12x1,5 | 25 | 54,7 | 20 | 8 | 17 |  | | on request | | | 03089-2001308 | 3 | A | without locking slot, without locknut | 1.4034 | bright | 8 | M16x1,5 | 33 | 72 | 26 | 10 | 23 |  | | on request | | | 03089-2001410 | 4 | A | without locking slot, without locknut | 1.4034 | bright | 10 | M20x1,5 | 33 | 79 | 28 | 12 | 25 |  | | on request | | | 03089-2001412 | 4 | A | without locking slot, without locknut | 1.4034 | bright | 12 | M20x1,5 | 33 | 84 | 28 | 14 | 25 |  | | on request | | | 03089-2001516 | 5 | A | without locking slot, without locknut | 1.4034 | bright | 16 | M24x2 | 40 | 104 | 32 | 18 | 28 |  | | on request | | | 03089-2111903 | 9 | A | without locking slot, without locknut | 1.4305 | bright | 3 | M6x0,75 | 14 | 33 | 12 | 5 | 10 |  | | on request | | | 03089-2111004 | 0 | A | without locking slot, without locknut | 1.4305 | bright | 4 | M8x1 | 18 | 40,5 | 15 | 6 | 13 |  | | on request | | | 03089-2111105 | 1 | A | without locking slot, without locknut | 1.4305 | bright | 5 | M10x1 | 21 | 46,5 | 17 | 7 | 15 |  | | on request | | | 03089-2111206 | 2 | A | without locking slot, without locknut | 1.4305 | bright | 6 | M12x1,5 | 25 | 54,7 | 20 | 8 | 17 |  | | on request | | | 03089-2111308 | 3 | A | without locking slot, without locknut | 1.4305 | bright | 8 | M16x1,5 | 33 | 72 | 26 | 10 | 23 |  | | on request | | | 03089-2111410 | 4 | A | without locking slot, without locknut | 1.4305 | bright | 10 | M20x1,5 | 33 | 79 | 28 | 12 | 25 |  | | on request | | | 03089-2111412 | 4 | A | without locking slot, without locknut | 1.4305 | bright | 12 | M20x1,5 | 33 | 84 | 28 | 14 | 25 |  | | on request | | | 03089-2111516 | 5 | A | without locking slot, without locknut | 1.4305 | bright | 16 | M24x2 | 40 | 104 | 32 | 18 | 28 |  | | on request | | | 03089-2061903 | 9 | A | without locking slot, without locknut | 1.4404 | bright | 3 | M6x0,75 | 14 | 33 | 12 | 5 | 10 |  | | on request | | | 03089-2061004 | 0 | A | without locking slot, without locknut | 1.4404 | bright | 4 | M8x1 | 18 | 40,5 | 15 | 6 | 13 |  | | on request | | | 03089-2061105 | 1 | A | without locking slot, without locknut | 1.4404 | bright | 5 | M10x1 | 21 | 46,5 | 17 | 7 | 15 |  | | on request | | | 03089-2061206 | 2 | A | without locking slot, without locknut | 1.4404 | bright | 6 | M12x1,5 | 25 | 54,7 | 20 | 8 | 17 |  | | on request | | | 03089-2061308 | 3 | A | without locking slot, without locknut | 1.4404 | bright | 8 | M16x1,5 | 33 | 72 | 26 | 10 | 23 |  | | on request | | | 03089-2061410 | 4 | A | without locking slot, without locknut | 1.4404 | bright | 10 | M20x1,5 | 33 | 79 | 28 | 12 | 25 |  | | on request | | | 03089-2061412 | 4 | A | without locking slot, without locknut | 1.4404 | bright | 12 | M20x1,5 | 33 | 84 | 28 | 14 | 25 |  | | on request | | | 03089-2061516 | 5 | A | without locking slot, without locknut | 1.4404 | bright | 16 | M24x2 | 40 | 104 | 32 | 18 | 28 |  | | on request | | | 03089-2171903 | 9 | A | without locking slot, without locknut | 1.4404 | bright | 3 | M6x0,75 | 14 | 33 | 12 | 5 | 10 |  | | on request | | | 03089-2171004 | 0 | A | without locking slot, without locknut | 1.4404 | bright | 4 | M8x1 | 18 | 40,5 | 15 | 6 | 13 |  | | on request | | | 03089-2171105 | 1 | A | without locking slot, without locknut | 1.4404 | bright | 5 | M10x1 | 21 | 46,5 | 17 | 7 | 15 |  | | on request | | | 03089-2171206 | 2 | A | without locking slot, without locknut | 1.4404 | bright | 6 | M12x1,5 | 25 | 54,7 | 20 | 8 | 17 |  | | on request | | | 03089-2171308 | 3 | A | without locking slot, without locknut | 1.4404 | bright | 8 | M16x1,5 | 33 | 72 | 26 | 10 | 23 |  | | on request | | | 03089-2171410 | 4 | A | without locking slot, without locknut | 1.4404 | bright | 10 | M20x1,5 | 33 | 79 | 28 | 12 | 25 |  | | on request | | | 03089-2171412 | 4 | A | without locking slot, without locknut | 1.4404 | bright | 12 | M20x1,5 | 33 | 84 | 28 | 14 | 25 |  | | on request | | | 03089-2171516 | 5 | A | without locking slot, without locknut | 1.4404 | bright | 16 | M24x2 | 40 | 104 | 32 | 18 | 28 |  | | on request | | | 03089-20619031 | 9 | A | without locking slot, without locknut | 1.4404 | blasted | 3 | M6x0,75 | 14 | 33 | 12 | 5 | 10 |  | | on request | | | 03089-20610041 | 0 | A | without locking slot, without locknut | 1.4404 | blasted | 4 | M8x1 | 18 | 40,5 | 15 | 6 | 13 |  | | on request | | | 03089-20611051 | 1 | A | without locking slot, without locknut | 1.4404 | blasted | 5 | M10x1 | 21 | 46,5 | 17 | 7 | 15 |  | | on request | | | 03089-20612061 | 2 | A | without locking slot, without locknut | 1.4404 | blasted | 6 | M12x1,5 | 25 | 54,7 | 20 | 8 | 17 |  | | on request | | | 03089-20613081 | 3 | A | without locking slot, without locknut | 1.4404 | blasted | 8 | M16x1,5 | 33 | 72 | 26 | 10 | 23 |  | | on request | | | 03089-20614101 | 4 | A | without locking slot, without locknut | 1.4404 | blasted | 10 | M20x1,5 | 33 | 79 | 28 | 12 | 25 |  | | on request | | | 03089-20614121 | 4 | A | without locking slot, without locknut | 1.4404 | blasted | 12 | M20x1,5 | 33 | 84 | 28 | 14 | 25 |  | | on request | | | 03089-20615161 | 5 | A | without locking slot, without locknut | 1.4404 | blasted | 16 | M24x2 | 40 | 104 | 32 | 18 | 28 |  | | on request | | | 03089-21719031 | 9 | A | without locking slot, without locknut | 1.4404 | blasted | 3 | M6x0,75 | 14 | 33 | 12 | 5 | 10 |  | | on request | | | 03089-21710041 | 0 | A | without locking slot, without locknut | 1.4404 | blasted | 4 | M8x1 | 18 | 40,5 | 15 | 6 | 13 |  | | on request | | | 03089-21711051 | 1 | A | without locking slot, without locknut | 1.4404 | blasted | 5 | M10x1 | 21 | 46,5 | 17 | 7 | 15 |  | | on request | | | 03089-21712061 | 2 | A | without locking slot, without locknut | 1.4404 | blasted | 6 | M12x1,5 | 25 | 54,7 | 20 | 8 | 17 |  | | on request | | | 03089-21713081 | 3 | A | without locking slot, without locknut | 1.4404 | blasted | 8 | M16x1,5 | 33 | 72 | 26 | 10 | 23 |  | | on request | | | 03089-21714101 | 4 | A | without locking slot, without locknut | 1.4404 | blasted | 10 | M20x1,5 | 33 | 79 | 28 | 12 | 25 |  | | on request | | | 03089-21714121 | 4 | A | without locking slot, without locknut | 1.4404 | blasted | 12 | M20x1,5 | 33 | 84 | 28 | 14 | 25 |  | | on request | | | 03089-21715161 | 5 | A | without locking slot, without locknut | 1.4404 | blasted | 16 | M24x2 | 40 | 104 | 32 | 18 | 28 |  | | on request | |
| Order No. | Size | Form | Form definition | Steel code | Surface finish component | Travel S | SW1 | Fx30° | Spring force initial pressure F1 approx. N | Spring force final pressure F2 approx. N | CAD | Acc. | Price | Order |
|---|
| 03089-2001903 | 9 | A | without locking slot, without locknut | 1.4034 | bright | 5 | 8 | 0,8 | 4,5 | 12 |  | | on request | | | 03089-2001004 | 0 | A | without locking slot, without locknut | 1.4034 | bright | 6 | 10 | 1 | 6 | 15 |  | | on request | | | 03089-2001105 | 1 | A | without locking slot, without locknut | 1.4034 | bright | 8 | 13 | 1,3 | 5 | 16 |  | | on request | | | 03089-2001206 | 2 | A | without locking slot, without locknut | 1.4034 | bright | 9 | 14 | 1,8 | 6 | 18 |  | | on request | | | 03089-2001308 | 3 | A | without locking slot, without locknut | 1.4034 | bright | 12 | 19 | 2,3 | 15 | 45 |  | | on request | | | 03089-2001410 | 4 | A | without locking slot, without locknut | 1.4034 | bright | 15 | 22 | 2,8 | 15 | 43 |  | | on request | | | 03089-2001412 | 4 | A | without locking slot, without locknut | 1.4034 | bright | 18 | 22 | 2,8 | 15 | 51 |  | | on request | | | 03089-2001516 | 5 | A | without locking slot, without locknut | 1.4034 | bright | 24 | 27 | 3,2 | 20 | 50 |  | | on request | | | 03089-2111903 | 9 | A | without locking slot, without locknut | 1.4305 | bright | 5 | 8 | 0,8 | 4,5 | 12 |  | | on request | | | 03089-2111004 | 0 | A | without locking slot, without locknut | 1.4305 | bright | 6 | 10 | 1 | 6 | 15 |  | | on request | | | 03089-2111105 | 1 | A | without locking slot, without locknut | 1.4305 | bright | 8 | 13 | 1,3 | 5 | 16 |  | | on request | | | 03089-2111206 | 2 | A | without locking slot, without locknut | 1.4305 | bright | 9 | 14 | 1,8 | 6 | 18 |  | | on request | | | 03089-2111308 | 3 | A | without locking slot, without locknut | 1.4305 | bright | 12 | 19 | 2,3 | 15 | 45 |  | | on request | | | 03089-2111410 | 4 | A | without locking slot, without locknut | 1.4305 | bright | 15 | 22 | 2,8 | 15 | 43 |  | | on request | | | 03089-2111412 | 4 | A | without locking slot, without locknut | 1.4305 | bright | 18 | 22 | 2,8 | 15 | 51 |  | | on request | | | 03089-2111516 | 5 | A | without locking slot, without locknut | 1.4305 | bright | 24 | 27 | 3,2 | 20 | 50 |  | | on request | | | 03089-2061903 | 9 | A | without locking slot, without locknut | 1.4404 | bright | 5 | 8 | 0,8 | 3 | 8 |  | | on request | | | 03089-2061004 | 0 | A | without locking slot, without locknut | 1.4404 | bright | 6 | 10 | 1 | 7 | 19 |  | | on request | | | 03089-2061105 | 1 | A | without locking slot, without locknut | 1.4404 | bright | 8 | 13 | 1,3 | 4 | 17 |  | | on request | | | 03089-2061206 | 2 | A | without locking slot, without locknut | 1.4404 | bright | 9 | 14 | 1,8 | 7 | 18 |  | | on request | | | 03089-2061308 | 3 | A | without locking slot, without locknut | 1.4404 | bright | 12 | 19 | 2,3 | 15 | 45 |  | | on request | | | 03089-2061410 | 4 | A | without locking slot, without locknut | 1.4404 | bright | 15 | 22 | 2,8 | 15 | 40 |  | | on request | | | 03089-2061412 | 4 | A | without locking slot, without locknut | 1.4404 | bright | 18 | 22 | 2,8 | 15 | 51 |  | | on request | | | 03089-2061516 | 5 | A | without locking slot, without locknut | 1.4404 | bright | 24 | 27 | 3,2 | 20 | 50 |  | | on request | | | 03089-2171903 | 9 | A | without locking slot, without locknut | 1.4404 | bright | 5 | 8 | 0,8 | 3 | 8 |  | | on request | | | 03089-2171004 | 0 | A | without locking slot, without locknut | 1.4404 | bright | 6 | 10 | 1 | 7 | 19 |  | | on request | | | 03089-2171105 | 1 | A | without locking slot, without locknut | 1.4404 | bright | 8 | 13 | 1,3 | 4 | 17 |  | | on request | | | 03089-2171206 | 2 | A | without locking slot, without locknut | 1.4404 | bright | 9 | 14 | 1,8 | 7 | 18 |  | | on request | | | 03089-2171308 | 3 | A | without locking slot, without locknut | 1.4404 | bright | 12 | 19 | 2,3 | 15 | 45 |  | | on request | | | 03089-2171410 | 4 | A | without locking slot, without locknut | 1.4404 | bright | 15 | 22 | 2,8 | 15 | 40 |  | | on request | | | 03089-2171412 | 4 | A | without locking slot, without locknut | 1.4404 | bright | 18 | 22 | 2,8 | 15 | 51 |  | | on request | | | 03089-2171516 | 5 | A | without locking slot, without locknut | 1.4404 | bright | 24 | 27 | 3,2 | 20 | 50 |  | | on request | | | 03089-20619031 | 9 | A | without locking slot, without locknut | 1.4404 | blasted | 5 | 8 | 0,8 | 3 | 8 |  | | on request | | | 03089-20610041 | 0 | A | without locking slot, without locknut | 1.4404 | blasted | 6 | 10 | 1 | 7 | 19 |  | | on request | | | 03089-20611051 | 1 | A | without locking slot, without locknut | 1.4404 | blasted | 8 | 13 | 1,3 | 4 | 17 |  | | on request | | | 03089-20612061 | 2 | A | without locking slot, without locknut | 1.4404 | blasted | 9 | 14 | 1,8 | 7 | 18 |  | | on request | | | 03089-20613081 | 3 | A | without locking slot, without locknut | 1.4404 | blasted | 12 | 19 | 2,3 | 15 | 45 |  | | on request | | | 03089-20614101 | 4 | A | without locking slot, without locknut | 1.4404 | blasted | 15 | 22 | 2,8 | 15 | 40 |  | | on request | | | 03089-20614121 | 4 | A | without locking slot, without locknut | 1.4404 | blasted | 18 | 22 | 2,8 | 15 | 51 |  | | on request | | | 03089-20615161 | 5 | A | without locking slot, without locknut | 1.4404 | blasted | 24 | 27 | 3,2 | 20 | 50 |  | | on request | | | 03089-21719031 | 9 | A | without locking slot, without locknut | 1.4404 | blasted | 5 | 8 | 0,8 | 3 | 8 |  | | on request | | | 03089-21710041 | 0 | A | without locking slot, without locknut | 1.4404 | blasted | 6 | 10 | 1 | 7 | 19 |  | | on request | | | 03089-21711051 | 1 | A | without locking slot, without locknut | 1.4404 | blasted | 8 | 13 | 1,3 | 4 | 17 |  | | on request | | | 03089-21712061 | 2 | A | without locking slot, without locknut | 1.4404 | blasted | 9 | 14 | 1,8 | 7 | 18 |  | | on request | | | 03089-21713081 | 3 | A | without locking slot, without locknut | 1.4404 | blasted | 12 | 19 | 2,3 | 15 | 45 |  | | on request | | | 03089-21714101 | 4 | A | without locking slot, without locknut | 1.4404 | blasted | 15 | 22 | 2,8 | 15 | 40 |  | | on request | | | 03089-21714121 | 4 | A | without locking slot, without locknut | 1.4404 | blasted | 18 | 22 | 2,8 | 15 | 51 |  | | on request | | | 03089-21715161 | 5 | A | without locking slot, without locknut | 1.4404 | blasted | 24 | 27 | 3,2 | 20 | 50 |  | | on request | |
|
Indexing plungers, stainless steel with stainless steel mushroom grip, extended indexing pin and locknut |
More information |
| Order No. | Size | Form | Form definition | Steel code | Surface finish component | D | D1 | D2 | L | L1 | L2 | L3 | CAD | Acc. | Price | Order |
|---|
| 03089-2002903 | 9 | B | without locking slot, with locknut | 1.4034 | bright | 3 | M6x0,75 | 14 | 33 | 12 | 5 | 10 |  | | on request | | | 03089-2002004 | 0 | B | without locking slot, with locknut | 1.4034 | bright | 4 | M8x1 | 18 | 40,5 | 15 | 6 | 13 |  | | on request | | | 03089-2002105 | 1 | B | without locking slot, with locknut | 1.4034 | bright | 5 | M10x1 | 21 | 46,5 | 17 | 7 | 15 |  | | on request | | | 03089-2002206 | 2 | B | without locking slot, with locknut | 1.4034 | bright | 6 | M12x1,5 | 25 | 54,7 | 20 | 8 | 17 |  | | on request | | | 03089-2002308 | 3 | B | without locking slot, with locknut | 1.4034 | bright | 8 | M16x1,5 | 33 | 72 | 26 | 10 | 23 |  | | on request | | | 03089-2002410 | 4 | B | without locking slot, with locknut | 1.4034 | bright | 10 | M20x1,5 | 33 | 79 | 28 | 12 | 25 |  | | on request | | | 03089-2002412 | 4 | B | without locking slot, with locknut | 1.4034 | bright | 12 | M20x1,5 | 33 | 84 | 28 | 14 | 25 |  | | on request | | | 03089-2002516 | 5 | B | without locking slot, with locknut | 1.4034 | bright | 16 | M24x2 | 40 | 104 | 32 | 18 | 28 |  | | on request | | | 03089-2112903 | 9 | B | without locking slot, with locknut | 1.4305 | bright | 3 | M6x0,75 | 14 | 33 | 12 | 5 | 10 |  | | on request | | | 03089-2112004 | 0 | B | without locking slot, with locknut | 1.4305 | bright | 4 | M8x1 | 18 | 40,5 | 15 | 6 | 13 |  | | on request | | | 03089-2112105 | 1 | B | without locking slot, with locknut | 1.4305 | bright | 5 | M10x1 | 21 | 46,5 | 17 | 7 | 15 |  | | on request | | | 03089-2112206 | 2 | B | without locking slot, with locknut | 1.4305 | bright | 6 | M12x1,5 | 25 | 54,7 | 20 | 8 | 17 |  | | on request | | | 03089-2112308 | 3 | B | without locking slot, with locknut | 1.4305 | bright | 8 | M16x1,5 | 33 | 72 | 26 | 10 | 23 |  | | on request | | | 03089-2112410 | 4 | B | without locking slot, with locknut | 1.4305 | bright | 10 | M20x1,5 | 33 | 79 | 28 | 12 | 25 |  | | on request | | | 03089-2112412 | 4 | B | without locking slot, with locknut | 1.4305 | bright | 12 | M20x1,5 | 33 | 84 | 28 | 14 | 25 |  | | on request | | | 03089-2112516 | 5 | B | without locking slot, with locknut | 1.4305 | bright | 16 | M24x2 | 40 | 104 | 32 | 18 | 28 |  | | on request | | | 03089-2062903 | 9 | B | without locking slot, with locknut | 1.4404 | bright | 3 | M6x0,75 | 14 | 33 | 12 | 5 | 10 |  | | on request | | | 03089-2062004 | 0 | B | without locking slot, with locknut | 1.4404 | bright | 4 | M8x1 | 18 | 40,5 | 15 | 6 | 13 |  | | on request | | | 03089-2062105 | 1 | B | without locking slot, with locknut | 1.4404 | bright | 5 | M10x1 | 21 | 46,5 | 17 | 7 | 15 |  | | on request | | | 03089-2062206 | 2 | B | without locking slot, with locknut | 1.4404 | bright | 6 | M12x1,5 | 25 | 54,7 | 20 | 8 | 17 |  | | on request | | | 03089-2062308 | 3 | B | without locking slot, with locknut | 1.4404 | bright | 8 | M16x1,5 | 33 | 72 | 26 | 10 | 23 |  | | on request | | | 03089-2062410 | 4 | B | without locking slot, with locknut | 1.4404 | bright | 10 | M20x1,5 | 33 | 79 | 28 | 12 | 25 |  | | on request | | | 03089-2062412 | 4 | B | without locking slot, with locknut | 1.4404 | bright | 12 | M20x1,5 | 33 | 84 | 28 | 14 | 25 |  | | on request | | | 03089-2062516 | 5 | B | without locking slot, with locknut | 1.4404 | bright | 16 | M24x2 | 40 | 104 | 32 | 18 | 28 |  | | on request | | | 03089-2172903 | 9 | B | without locking slot, with locknut | 1.4404 | bright | 3 | M6x0,75 | 14 | 33 | 12 | 5 | 10 |  | | on request | | | 03089-2172004 | 0 | B | without locking slot, with locknut | 1.4404 | bright | 4 | M8x1 | 18 | 40,5 | 15 | 6 | 13 |  | | on request | | | 03089-2172105 | 1 | B | without locking slot, with locknut | 1.4404 | bright | 5 | M10x1 | 21 | 46,5 | 17 | 7 | 15 |  | | on request | | | 03089-2172206 | 2 | B | without locking slot, with locknut | 1.4404 | bright | 6 | M12x1,5 | 25 | 54,7 | 20 | 8 | 17 |  | | on request | | | 03089-2172308 | 3 | B | without locking slot, with locknut | 1.4404 | bright | 8 | M16x1,5 | 33 | 72 | 26 | 10 | 23 |  | | on request | | | 03089-2172410 | 4 | B | without locking slot, with locknut | 1.4404 | bright | 10 | M20x1,5 | 33 | 79 | 28 | 12 | 25 |  | | on request | | | 03089-2172412 | 4 | B | without locking slot, with locknut | 1.4404 | bright | 12 | M20x1,5 | 33 | 84 | 28 | 14 | 25 |  | | on request | | | 03089-2172516 | 5 | B | without locking slot, with locknut | 1.4404 | bright | 16 | M24x2 | 40 | 104 | 32 | 18 | 28 |  | | on request | | | 03089-20629031 | 9 | B | without locking slot, with locknut | 1.4404 | blasted | 3 | M6x0,75 | 14 | 33 | 12 | 5 | 10 |  | | on request | | | 03089-20620041 | 0 | B | without locking slot, with locknut | 1.4404 | blasted | 4 | M8x1 | 18 | 40,5 | 15 | 6 | 13 |  | | on request | | | 03089-20621051 | 1 | B | without locking slot, with locknut | 1.4404 | blasted | 5 | M10x1 | 21 | 46,5 | 17 | 7 | 15 |  | | on request | | | 03089-20622061 | 2 | B | without locking slot, with locknut | 1.4404 | blasted | 6 | M12x1,5 | 25 | 54,7 | 20 | 8 | 17 |  | | on request | | | 03089-20623081 | 3 | B | without locking slot, with locknut | 1.4404 | blasted | 8 | M16x1,5 | 33 | 72 | 26 | 10 | 23 |  | | on request | | | 03089-20624101 | 4 | B | without locking slot, with locknut | 1.4404 | blasted | 10 | M20x1,5 | 33 | 79 | 28 | 12 | 25 |  | | on request | | | 03089-20624121 | 4 | B | without locking slot, with locknut | 1.4404 | blasted | 12 | M20x1,5 | 33 | 84 | 28 | 14 | 25 |  | | on request | | | 03089-20625161 | 5 | B | without locking slot, with locknut | 1.4404 | blasted | 16 | M24x2 | 40 | 104 | 32 | 18 | 28 |  | | on request | | | 03089-21729031 | 9 | B | without locking slot, with locknut | 1.4404 | blasted | 3 | M6x0,75 | 14 | 33 | 12 | 5 | 10 |  | | on request | | | 03089-21720041 | 0 | B | without locking slot, with locknut | 1.4404 | blasted | 4 | M8x1 | 18 | 40,5 | 15 | 6 | 13 |  | | on request | | | 03089-21721051 | 1 | B | without locking slot, with locknut | 1.4404 | blasted | 5 | M10x1 | 21 | 46,5 | 17 | 7 | 15 |  | | on request | | | 03089-21722061 | 2 | B | without locking slot, with locknut | 1.4404 | blasted | 6 | M12x1,5 | 25 | 54,7 | 20 | 8 | 17 |  | | on request | | | 03089-21723081 | 3 | B | without locking slot, with locknut | 1.4404 | blasted | 8 | M16x1,5 | 33 | 72 | 26 | 10 | 23 |  | | on request | | | 03089-21724101 | 4 | B | without locking slot, with locknut | 1.4404 | blasted | 10 | M20x1,5 | 33 | 79 | 28 | 12 | 25 |  | | on request | | | 03089-21724121 | 4 | B | without locking slot, with locknut | 1.4404 | blasted | 12 | M20x1,5 | 33 | 84 | 28 | 14 | 25 |  | | on request | | | 03089-21725161 | 5 | B | without locking slot, with locknut | 1.4404 | blasted | 16 | M24x2 | 40 | 104 | 32 | 18 | 28 |  | | on request | |
| Order No. | Size | Form | Form definition | Steel code | Surface finish component | Travel S | SW1 | SW2 | Fx30° | Spring force initial pressure F1 approx. N | Spring force final pressure F2 approx. N | CAD | Acc. | Price | Order |
|---|
| 03089-2002903 | 9 | B | without locking slot, with locknut | 1.4034 | bright | 5 | 8 | 10 | 0,8 | 4,5 | 12 |  | | on request | | | 03089-2002004 | 0 | B | without locking slot, with locknut | 1.4034 | bright | 6 | 10 | 13 | 1 | 6 | 15 |  | | on request | | | 03089-2002105 | 1 | B | without locking slot, with locknut | 1.4034 | bright | 8 | 13 | 17 | 1,3 | 5 | 16 |  | | on request | | | 03089-2002206 | 2 | B | without locking slot, with locknut | 1.4034 | bright | 9 | 14 | 19 | 1,8 | 6 | 18 |  | | on request | | | 03089-2002308 | 3 | B | without locking slot, with locknut | 1.4034 | bright | 12 | 19 | 24 | 2,3 | 15 | 45 |  | | on request | | | 03089-2002410 | 4 | B | without locking slot, with locknut | 1.4034 | bright | 15 | 22 | 30 | 2,8 | 15 | 43 |  | | on request | | | 03089-2002412 | 4 | B | without locking slot, with locknut | 1.4034 | bright | 18 | 22 | 30 | 2,8 | 15 | 51 |  | | on request | | | 03089-2002516 | 5 | B | without locking slot, with locknut | 1.4034 | bright | 24 | 27 | 36 | 3,2 | 20 | 50 |  | | on request | | | 03089-2112903 | 9 | B | without locking slot, with locknut | 1.4305 | bright | 5 | 8 | 10 | 0,8 | 4,5 | 12 |  | | on request | | | 03089-2112004 | 0 | B | without locking slot, with locknut | 1.4305 | bright | 6 | 10 | 13 | 1 | 6 | 15 |  | | on request | | | 03089-2112105 | 1 | B | without locking slot, with locknut | 1.4305 | bright | 8 | 13 | 17 | 1,3 | 5 | 16 |  | | on request | | | 03089-2112206 | 2 | B | without locking slot, with locknut | 1.4305 | bright | 9 | 14 | 19 | 1,8 | 6 | 18 |  | | on request | | | 03089-2112308 | 3 | B | without locking slot, with locknut | 1.4305 | bright | 12 | 19 | 24 | 2,3 | 15 | 45 |  | | on request | | | 03089-2112410 | 4 | B | without locking slot, with locknut | 1.4305 | bright | 15 | 22 | 30 | 2,8 | 15 | 43 |  | | on request | | | 03089-2112412 | 4 | B | without locking slot, with locknut | 1.4305 | bright | 18 | 22 | 30 | 2,8 | 15 | 51 |  | | on request | | | 03089-2112516 | 5 | B | without locking slot, with locknut | 1.4305 | bright | 24 | 27 | 36 | 3,2 | 20 | 50 |  | | on request | | | 03089-2062903 | 9 | B | without locking slot, with locknut | 1.4404 | bright | 5 | 8 | 10 | 0,8 | 3 | 8 |  | | on request | | | 03089-2062004 | 0 | B | without locking slot, with locknut | 1.4404 | bright | 6 | 10 | 13 | 1 | 7 | 19 |  | | on request | | | 03089-2062105 | 1 | B | without locking slot, with locknut | 1.4404 | bright | 8 | 13 | 17 | 1,3 | 4 | 17 |  | | on request | | | 03089-2062206 | 2 | B | without locking slot, with locknut | 1.4404 | bright | 9 | 14 | 19 | 1,8 | 7 | 18 |  | | on request | | | 03089-2062308 | 3 | B | without locking slot, with locknut | 1.4404 | bright | 12 | 19 | 24 | 2,3 | 15 | 45 |  | | on request | | | 03089-2062410 | 4 | B | without locking slot, with locknut | 1.4404 | bright | 15 | 22 | 30 | 2,8 | 15 | 40 |  | | on request | | | 03089-2062412 | 4 | B | without locking slot, with locknut | 1.4404 | bright | 18 | 22 | 30 | 2,8 | 15 | 51 |  | | on request | | | 03089-2062516 | 5 | B | without locking slot, with locknut | 1.4404 | bright | 24 | 27 | 36 | 3,2 | 20 | 50 |  | | on request | | | 03089-2172903 | 9 | B | without locking slot, with locknut | 1.4404 | bright | 5 | 8 | 10 | 0,8 | 3 | 8 |  | | on request | | | 03089-2172004 | 0 | B | without locking slot, with locknut | 1.4404 | bright | 6 | 10 | 13 | 1 | 7 | 19 |  | | on request | | | 03089-2172105 | 1 | B | without locking slot, with locknut | 1.4404 | bright | 8 | 13 | 17 | 1,3 | 4 | 17 |  | | on request | | | 03089-2172206 | 2 | B | without locking slot, with locknut | 1.4404 | bright | 9 | 14 | 19 | 1,8 | 7 | 18 |  | | on request | | | 03089-2172308 | 3 | B | without locking slot, with locknut | 1.4404 | bright | 12 | 19 | 24 | 2,3 | 15 | 45 |  | | on request | | | 03089-2172410 | 4 | B | without locking slot, with locknut | 1.4404 | bright | 15 | 22 | 30 | 2,8 | 15 | 40 |  | | on request | | | 03089-2172412 | 4 | B | without locking slot, with locknut | 1.4404 | bright | 18 | 22 | 30 | 2,8 | 15 | 51 |  | | on request | | | 03089-2172516 | 5 | B | without locking slot, with locknut | 1.4404 | bright | 24 | 27 | 36 | 3,2 | 20 | 50 |  | | on request | | | 03089-20629031 | 9 | B | without locking slot, with locknut | 1.4404 | blasted | 5 | 8 | 10 | 0,8 | 3 | 8 |  | | on request | | | 03089-20620041 | 0 | B | without locking slot, with locknut | 1.4404 | blasted | 6 | 10 | 13 | 1 | 7 | 19 |  | | on request | | | 03089-20621051 | 1 | B | without locking slot, with locknut | 1.4404 | blasted | 8 | 13 | 17 | 1,3 | 4 | 17 |  | | on request | | | 03089-20622061 | 2 | B | without locking slot, with locknut | 1.4404 | blasted | 9 | 14 | 19 | 1,8 | 7 | 18 |  | | on request | | | 03089-20623081 | 3 | B | without locking slot, with locknut | 1.4404 | blasted | 12 | 19 | 24 | 2,3 | 15 | 45 |  | | on request | | | 03089-20624101 | 4 | B | without locking slot, with locknut | 1.4404 | blasted | 15 | 22 | 30 | 2,8 | 15 | 40 |  | | on request | | | 03089-20624121 | 4 | B | without locking slot, with locknut | 1.4404 | blasted | 18 | 22 | 30 | 2,8 | 15 | 51 |  | | on request | | | 03089-20625161 | 5 | B | without locking slot, with locknut | 1.4404 | blasted | 24 | 27 | 36 | 3,2 | 20 | 50 |  | | on request | | | 03089-21729031 | 9 | B | without locking slot, with locknut | 1.4404 | blasted | 5 | 8 | 10 | 0,8 | 3 | 8 |  | | on request | | | 03089-21720041 | 0 | B | without locking slot, with locknut | 1.4404 | blasted | 6 | 10 | 13 | 1 | 7 | 19 |  | | on request | | | 03089-21721051 | 1 | B | without locking slot, with locknut | 1.4404 | blasted | 8 | 13 | 17 | 1,3 | 4 | 17 |  | | on request | | | 03089-21722061 | 2 | B | without locking slot, with locknut | 1.4404 | blasted | 9 | 14 | 19 | 1,8 | 7 | 18 |  | | on request | | | 03089-21723081 | 3 | B | without locking slot, with locknut | 1.4404 | blasted | 12 | 19 | 24 | 2,3 | 15 | 45 |  | | on request | | | 03089-21724101 | 4 | B | without locking slot, with locknut | 1.4404 | blasted | 15 | 22 | 30 | 2,8 | 15 | 40 |  | | on request | | | 03089-21724121 | 4 | B | without locking slot, with locknut | 1.4404 | blasted | 18 | 22 | 30 | 2,8 | 15 | 51 |  | | on request | | | 03089-21725161 | 5 | B | without locking slot, with locknut | 1.4404 | blasted | 24 | 27 | 36 | 3,2 | 20 | 50 |  | | on request | |
|
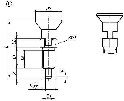
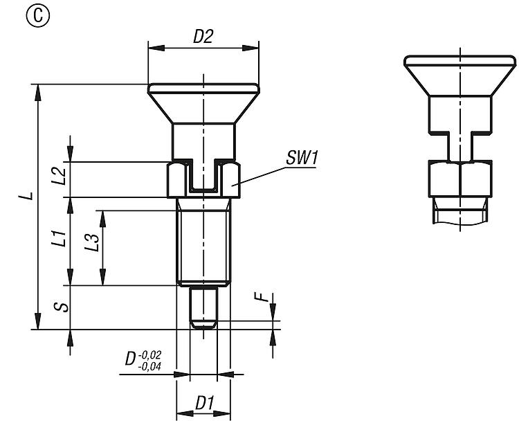
Indexing plungers, stainless steel with stainless steel mushroom grip, extended indexing pin and locking slot |
More information |
| Order No. | Size | Form | Form definition | Steel code | Surface finish component | D | D1 | D2 | L | L1 | L2 | L3 | CAD | Acc. | Price | Order |
|---|
| 03089-2003903 | 9 | C | with locking slot, without locknut | 1.4034 | bright | 3 | M6x0,75 | 14 | 34,5 | 12 | 6,5 | 10 |  | | on request | | | 03089-2003004 | 0 | C | with locking slot, without locknut | 1.4034 | bright | 4 | M8x1 | 18 | 42,5 | 15 | 8 | 13 |  | | on request | | | 03089-2003105 | 1 | C | with locking slot, without locknut | 1.4034 | bright | 5 | M10x1 | 21 | 49,5 | 17 | 10 | 15 |  | | on request | | | 03089-2003206 | 2 | C | with locking slot, without locknut | 1.4034 | bright | 6 | M12x1,5 | 25 | 57,7 | 20 | 11 | 17 |  | | on request | | | 03089-2003308 | 3 | C | with locking slot, without locknut | 1.4034 | bright | 8 | M16x1,5 | 33 | 76 | 26 | 14 | 23 |  | | on request | | | 03089-2003410 | 4 | C | with locking slot, without locknut | 1.4034 | bright | 10 | M20x1,5 | 33 | 84 | 28 | 17 | 25 |  | | on request | | | 03089-2003412 | 4 | C | with locking slot, without locknut | 1.4034 | bright | 12 | M20x1,5 | 33 | 90 | 28 | 20 | 25 |  | | on request | | | 03089-2003516 | 5 | C | with locking slot, without locknut | 1.4034 | bright | 16 | M24x2 | 40 | 112 | 32 | 26 | 28 |  | | on request | | | 03089-2113903 | 9 | C | with locking slot, without locknut | 1.4305 | bright | 3 | M6x0,75 | 14 | 34,5 | 12 | 6,5 | 10 |  | | on request | | | 03089-2113004 | 0 | C | with locking slot, without locknut | 1.4305 | bright | 4 | M8x1 | 18 | 42,5 | 15 | 8 | 13 |  | | on request | | | 03089-2113105 | 1 | C | with locking slot, without locknut | 1.4305 | bright | 5 | M10x1 | 21 | 49,5 | 17 | 10 | 15 |  | | on request | | | 03089-2113206 | 2 | C | with locking slot, without locknut | 1.4305 | bright | 6 | M12x1,5 | 25 | 57,7 | 20 | 11 | 17 |  | | on request | | | 03089-2113308 | 3 | C | with locking slot, without locknut | 1.4305 | bright | 8 | M16x1,5 | 33 | 76 | 26 | 14 | 23 |  | | on request | | | 03089-2113410 | 4 | C | with locking slot, without locknut | 1.4305 | bright | 10 | M20x1,5 | 33 | 84 | 28 | 17 | 25 |  | | on request | | | 03089-2113412 | 4 | C | with locking slot, without locknut | 1.4305 | bright | 12 | M20x1,5 | 33 | 90 | 28 | 20 | 25 |  | | on request | | | 03089-2113516 | 5 | C | with locking slot, without locknut | 1.4305 | bright | 16 | M24x2 | 40 | 112 | 32 | 26 | 28 |  | | on request | | | 03089-2063903 | 9 | C | with locking slot, without locknut | 1.4404 | bright | 3 | M6x0,75 | 14 | 34,5 | 12 | 6,5 | 10 |  | | on request | | | 03089-2063004 | 0 | C | with locking slot, without locknut | 1.4404 | bright | 4 | M8x1 | 18 | 42,5 | 15 | 8 | 13 |  | | on request | | | 03089-2063105 | 1 | C | with locking slot, without locknut | 1.4404 | bright | 5 | M10x1 | 21 | 49,5 | 17 | 10 | 15 |  | | on request | | | 03089-2063206 | 2 | C | with locking slot, without locknut | 1.4404 | bright | 6 | M12x1,5 | 25 | 57,7 | 20 | 11 | 17 |  | | on request | | | 03089-2063308 | 3 | C | with locking slot, without locknut | 1.4404 | bright | 8 | M16x1,5 | 33 | 76 | 26 | 14 | 23 |  | | on request | | | 03089-2063410 | 4 | C | with locking slot, without locknut | 1.4404 | bright | 10 | M20x1,5 | 33 | 84 | 28 | 17 | 25 |  | | on request | | | 03089-2063412 | 4 | C | with locking slot, without locknut | 1.4404 | bright | 12 | M20x1,5 | 33 | 90 | 28 | 20 | 25 |  | | on request | | | 03089-2063516 | 5 | C | with locking slot, without locknut | 1.4404 | bright | 16 | M24x2 | 40 | 112 | 32 | 26 | 28 |  | | on request | | | 03089-2173903 | 9 | C | with locking slot, without locknut | 1.4404 | bright | 3 | M6x0,75 | 14 | 34,5 | 12 | 6,5 | 10 |  | | on request | | | 03089-2173004 | 0 | C | with locking slot, without locknut | 1.4404 | bright | 4 | M8x1 | 18 | 42,5 | 15 | 8 | 13 |  | | on request | | | 03089-2173105 | 1 | C | with locking slot, without locknut | 1.4404 | bright | 5 | M10x1 | 21 | 49,5 | 17 | 10 | 15 |  | | on request | | | 03089-2173206 | 2 | C | with locking slot, without locknut | 1.4404 | bright | 6 | M12x1,5 | 25 | 57,7 | 20 | 11 | 17 |  | | on request | | | 03089-2173308 | 3 | C | with locking slot, without locknut | 1.4404 | bright | 8 | M16x1,5 | 33 | 76 | 26 | 14 | 23 |  | | on request | | | 03089-2173410 | 4 | C | with locking slot, without locknut | 1.4404 | bright | 10 | M20x1,5 | 33 | 84 | 28 | 17 | 25 |  | | on request | | | 03089-2173412 | 4 | C | with locking slot, without locknut | 1.4404 | bright | 12 | M20x1,5 | 33 | 90 | 28 | 20 | 25 |  | | on request | | | 03089-2173516 | 5 | C | with locking slot, without locknut | 1.4404 | bright | 16 | M24x2 | 40 | 112 | 32 | 26 | 28 |  | | on request | | | 03089-20639031 | 9 | C | with locking slot, without locknut | 1.4404 | blasted | 3 | M6x0,75 | 14 | 34,5 | 12 | 6,5 | 10 |  | | on request | | | 03089-20630041 | 0 | C | with locking slot, without locknut | 1.4404 | blasted | 4 | M8x1 | 18 | 42,5 | 15 | 8 | 13 |  | | on request | | | 03089-20631051 | 1 | C | with locking slot, without locknut | 1.4404 | blasted | 5 | M10x1 | 21 | 49,5 | 17 | 10 | 15 |  | | on request | | | 03089-20632061 | 2 | C | with locking slot, without locknut | 1.4404 | blasted | 6 | M12x1,5 | 25 | 57,7 | 20 | 11 | 17 |  | | on request | | | 03089-20633081 | 3 | C | with locking slot, without locknut | 1.4404 | blasted | 8 | M16x1,5 | 33 | 76 | 26 | 14 | 23 |  | | on request | | | 03089-20634101 | 4 | C | with locking slot, without locknut | 1.4404 | blasted | 10 | M20x1,5 | 33 | 84 | 28 | 17 | 25 |  | | on request | | | 03089-20634121 | 4 | C | with locking slot, without locknut | 1.4404 | blasted | 12 | M20x1,5 | 33 | 90 | 28 | 20 | 25 |  | | on request | | | 03089-20635161 | 5 | C | with locking slot, without locknut | 1.4404 | blasted | 16 | M24x2 | 40 | 112 | 32 | 26 | 28 |  | | on request | | | 03089-21739031 | 9 | C | with locking slot, without locknut | 1.4404 | blasted | 3 | M6x0,75 | 14 | 34,5 | 12 | 6,5 | 10 |  | | on request | | | 03089-21730041 | 0 | C | with locking slot, without locknut | 1.4404 | blasted | 4 | M8x1 | 18 | 42,5 | 15 | 8 | 13 |  | | on request | | | 03089-21731051 | 1 | C | with locking slot, without locknut | 1.4404 | blasted | 5 | M10x1 | 21 | 49,5 | 17 | 10 | 15 |  | | on request | | | 03089-21732061 | 2 | C | with locking slot, without locknut | 1.4404 | blasted | 6 | M12x1,5 | 25 | 57,7 | 20 | 11 | 17 |  | | on request | | | 03089-21733081 | 3 | C | with locking slot, without locknut | 1.4404 | blasted | 8 | M16x1,5 | 33 | 76 | 26 | 14 | 23 |  | | on request | | | 03089-21734101 | 4 | C | with locking slot, without locknut | 1.4404 | blasted | 10 | M20x1,5 | 33 | 84 | 28 | 17 | 25 |  | | on request | | | 03089-21734121 | 4 | C | with locking slot, without locknut | 1.4404 | blasted | 12 | M20x1,5 | 33 | 90 | 28 | 20 | 25 |  | | on request | | | 03089-21735161 | 5 | C | with locking slot, without locknut | 1.4404 | blasted | 16 | M24x2 | 40 | 112 | 32 | 26 | 28 |  | | on request | |
| Order No. | Size | Form | Form definition | Steel code | Surface finish component | Travel S | SW1 | Fx30° | Spring force initial pressure F1 approx. N | Spring force final pressure F2 approx. N | CAD | Acc. | Price | Order |
|---|
| 03089-2003903 | 9 | C | with locking slot, without locknut | 1.4034 | bright | 5 | 8 | 0,8 | 3 | 10 |  | | on request | | | 03089-2003004 | 0 | C | with locking slot, without locknut | 1.4034 | bright | 6 | 10 | 1 | 6 | 21 |  | | on request | | | 03089-2003105 | 1 | C | with locking slot, without locknut | 1.4034 | bright | 8 | 13 | 1,3 | 5 | 16 |  | | on request | | | 03089-2003206 | 2 | C | with locking slot, without locknut | 1.4034 | bright | 9 | 14 | 1,8 | 6 | 18 |  | | on request | | | 03089-2003308 | 3 | C | with locking slot, without locknut | 1.4034 | bright | 12 | 19 | 2,3 | 15 | 45 |  | | on request | | | 03089-2003410 | 4 | C | with locking slot, without locknut | 1.4034 | bright | 15 | 22 | 2,8 | 14 | 42 |  | | on request | | | 03089-2003412 | 4 | C | with locking slot, without locknut | 1.4034 | bright | 18 | 22 | 2,8 | 15 | 51 |  | | on request | | | 03089-2003516 | 5 | C | with locking slot, without locknut | 1.4034 | bright | 24 | 27 | 3,2 | 18 | 48 |  | | on request | | | 03089-2113903 | 9 | C | with locking slot, without locknut | 1.4305 | bright | 5 | 8 | 0,8 | 3 | 10 |  | | on request | | | 03089-2113004 | 0 | C | with locking slot, without locknut | 1.4305 | bright | 6 | 10 | 1 | 6 | 21 |  | | on request | | | 03089-2113105 | 1 | C | with locking slot, without locknut | 1.4305 | bright | 8 | 13 | 1,3 | 5 | 16 |  | | on request | | | 03089-2113206 | 2 | C | with locking slot, without locknut | 1.4305 | bright | 9 | 14 | 1,8 | 6 | 18 |  | | on request | | | 03089-2113308 | 3 | C | with locking slot, without locknut | 1.4305 | bright | 12 | 19 | 2,3 | 15 | 45 |  | | on request | | | 03089-2113410 | 4 | C | with locking slot, without locknut | 1.4305 | bright | 15 | 22 | 2,8 | 14 | 42 |  | | on request | | | 03089-2113412 | 4 | C | with locking slot, without locknut | 1.4305 | bright | 18 | 22 | 2,8 | 15 | 51 |  | | on request | | | 03089-2113516 | 5 | C | with locking slot, without locknut | 1.4305 | bright | 24 | 27 | 3,2 | 18 | 48 |  | | on request | | | 03089-2063903 | 9 | C | with locking slot, without locknut | 1.4404 | bright | 5 | 8 | 0,8 | 2 | 7 |  | | on request | | | 03089-2063004 | 0 | C | with locking slot, without locknut | 1.4404 | bright | 6 | 10 | 1 | 7 | 19 |  | | on request | | | 03089-2063105 | 1 | C | with locking slot, without locknut | 1.4404 | bright | 8 | 13 | 1,3 | 4 | 17 |  | | on request | | | 03089-2063206 | 2 | C | with locking slot, without locknut | 1.4404 | bright | 9 | 14 | 1,8 | 7 | 18 |  | | on request | | | 03089-2063308 | 3 | C | with locking slot, without locknut | 1.4404 | bright | 12 | 19 | 2,3 | 15 | 45 |  | | on request | | | 03089-2063410 | 4 | C | with locking slot, without locknut | 1.4404 | bright | 15 | 22 | 2,8 | 14 | 42 |  | | on request | | | 03089-2063412 | 4 | C | with locking slot, without locknut | 1.4404 | bright | 18 | 22 | 2,8 | 15 | 51 |  | | on request | | | 03089-2063516 | 5 | C | with locking slot, without locknut | 1.4404 | bright | 24 | 27 | 3,2 | 18 | 48 |  | | on request | | | 03089-2173903 | 9 | C | with locking slot, without locknut | 1.4404 | bright | 5 | 8 | 0,8 | 2 | 7 |  | | on request | | | 03089-2173004 | 0 | C | with locking slot, without locknut | 1.4404 | bright | 6 | 10 | 1 | 7 | 19 |  | | on request | | | 03089-2173105 | 1 | C | with locking slot, without locknut | 1.4404 | bright | 8 | 13 | 1,3 | 4 | 17 |  | | on request | | | 03089-2173206 | 2 | C | with locking slot, without locknut | 1.4404 | bright | 9 | 14 | 1,8 | 7 | 18 |  | | on request | | | 03089-2173308 | 3 | C | with locking slot, without locknut | 1.4404 | bright | 12 | 19 | 2,3 | 15 | 45 |  | | on request | | | 03089-2173410 | 4 | C | with locking slot, without locknut | 1.4404 | bright | 15 | 22 | 2,8 | 14 | 42 |  | | on request | | | 03089-2173412 | 4 | C | with locking slot, without locknut | 1.4404 | bright | 18 | 22 | 2,8 | 15 | 51 |  | | on request | | | 03089-2173516 | 5 | C | with locking slot, without locknut | 1.4404 | bright | 24 | 27 | 3,2 | 18 | 48 |  | | on request | | | 03089-20639031 | 9 | C | with locking slot, without locknut | 1.4404 | blasted | 5 | 8 | 0,8 | 2 | 7 |  | | on request | | | 03089-20630041 | 0 | C | with locking slot, without locknut | 1.4404 | blasted | 6 | 10 | 1 | 7 | 19 |  | | on request | | | 03089-20631051 | 1 | C | with locking slot, without locknut | 1.4404 | blasted | 8 | 13 | 1,3 | 4 | 17 |  | | on request | | | 03089-20632061 | 2 | C | with locking slot, without locknut | 1.4404 | blasted | 9 | 14 | 1,8 | 7 | 18 |  | | on request | | | 03089-20633081 | 3 | C | with locking slot, without locknut | 1.4404 | blasted | 12 | 19 | 2,3 | 15 | 45 |  | | on request | | | 03089-20634101 | 4 | C | with locking slot, without locknut | 1.4404 | blasted | 15 | 22 | 2,8 | 14 | 42 |  | | on request | | | 03089-20634121 | 4 | C | with locking slot, without locknut | 1.4404 | blasted | 18 | 22 | 2,8 | 15 | 51 |  | | on request | | | 03089-20635161 | 5 | C | with locking slot, without locknut | 1.4404 | blasted | 24 | 27 | 3,2 | 18 | 48 |  | | on request | | | 03089-21739031 | 9 | C | with locking slot, without locknut | 1.4404 | blasted | 5 | 8 | 0,8 | 2 | 7 |  | | on request | | | 03089-21730041 | 0 | C | with locking slot, without locknut | 1.4404 | blasted | 6 | 10 | 1 | 7 | 19 |  | | on request | | | 03089-21731051 | 1 | C | with locking slot, without locknut | 1.4404 | blasted | 8 | 13 | 1,3 | 4 | 17 |  | | on request | | | 03089-21732061 | 2 | C | with locking slot, without locknut | 1.4404 | blasted | 9 | 14 | 1,8 | 7 | 18 |  | | on request | | | 03089-21733081 | 3 | C | with locking slot, without locknut | 1.4404 | blasted | 12 | 19 | 2,3 | 15 | 45 |  | | on request | | | 03089-21734101 | 4 | C | with locking slot, without locknut | 1.4404 | blasted | 15 | 22 | 2,8 | 14 | 42 |  | | on request | | | 03089-21734121 | 4 | C | with locking slot, without locknut | 1.4404 | blasted | 18 | 22 | 2,8 | 15 | 51 |  | | on request | | | 03089-21735161 | 5 | C | with locking slot, without locknut | 1.4404 | blasted | 24 | 27 | 3,2 | 18 | 48 |  | | on request | |
|
Indexing plungers, stainless steel with stainless steel mushroom grip, extended indexing pin, locking slot and locknut |
More information |
| Order No. | Size | Form | Form definition | Steel code | Surface finish component | D | D1 | D2 | L | L1 | L2 | L3 | CAD | Acc. | Price | Order |
|---|
| 03089-2004903 | 9 | D | with locking slot, with locknut | 1.4034 | bright | 3 | M6x0,75 | 14 | 34,5 | 12 | 6,5 | 10 |  | | on request | | | 03089-2004004 | 0 | D | with locking slot, with locknut | 1.4034 | bright | 4 | M8x1 | 18 | 42,5 | 15 | 8 | 13 |  | | on request | | | 03089-2004105 | 1 | D | with locking slot, with locknut | 1.4034 | bright | 5 | M10x1 | 21 | 49,5 | 17 | 10 | 15 |  | | on request | | | 03089-2004206 | 2 | D | with locking slot, with locknut | 1.4034 | bright | 6 | M12x1,5 | 25 | 57,7 | 20 | 11 | 17 |  | | on request | | | 03089-2004308 | 3 | D | with locking slot, with locknut | 1.4034 | bright | 8 | M16x1,5 | 33 | 76 | 26 | 14 | 23 |  | | on request | | | 03089-2004410 | 4 | D | with locking slot, with locknut | 1.4034 | bright | 10 | M20x1,5 | 33 | 84 | 28 | 17 | 25 |  | | on request | | | 03089-2004412 | 4 | D | with locking slot, with locknut | 1.4034 | bright | 12 | M20x1,5 | 33 | 90 | 28 | 20 | 25 |  | | on request | | | 03089-2004516 | 5 | D | with locking slot, with locknut | 1.4034 | bright | 16 | M24x2 | 40 | 112 | 32 | 26 | 28 |  | | on request | | | 03089-2114903 | 9 | D | with locking slot, with locknut | 1.4305 | bright | 3 | M6x0,75 | 14 | 34,5 | 12 | 6,5 | 10 |  | | on request | | | 03089-2114004 | 0 | D | with locking slot, with locknut | 1.4305 | bright | 4 | M8x1 | 18 | 42,5 | 15 | 8 | 13 |  | | on request | | | 03089-2114105 | 1 | D | with locking slot, with locknut | 1.4305 | bright | 5 | M10x1 | 21 | 49,5 | 17 | 10 | 15 |  | | on request | | | 03089-2114206 | 2 | D | with locking slot, with locknut | 1.4305 | bright | 6 | M12x1,5 | 25 | 57,7 | 20 | 11 | 17 |  | | on request | | | 03089-2114308 | 3 | D | with locking slot, with locknut | 1.4305 | bright | 8 | M16x1,5 | 33 | 76 | 26 | 14 | 23 |  | | on request | | | 03089-2114410 | 4 | D | with locking slot, with locknut | 1.4305 | bright | 10 | M20x1,5 | 33 | 84 | 28 | 17 | 25 |  | | on request | | | 03089-2114412 | 4 | D | with locking slot, with locknut | 1.4305 | bright | 12 | M20x1,5 | 33 | 90 | 28 | 20 | 25 |  | | on request | | | 03089-2114516 | 5 | D | with locking slot, with locknut | 1.4305 | bright | 16 | M24x2 | 40 | 112 | 32 | 26 | 28 |  | | on request | | | 03089-2064903 | 9 | D | with locking slot, with locknut | 1.4404 | bright | 3 | M6x0,75 | 14 | 34,5 | 12 | 6,5 | 10 |  | | on request | | | 03089-2064004 | 0 | D | with locking slot, with locknut | 1.4404 | bright | 4 | M8x1 | 18 | 42,5 | 15 | 8 | 13 |  | | on request | | | 03089-2064105 | 1 | D | with locking slot, with locknut | 1.4404 | bright | 5 | M10x1 | 21 | 49,5 | 17 | 10 | 15 |  | | on request | | | 03089-2064206 | 2 | D | with locking slot, with locknut | 1.4404 | bright | 6 | M12x1,5 | 25 | 57,7 | 20 | 11 | 17 |  | | on request | | | 03089-2064308 | 3 | D | with locking slot, with locknut | 1.4404 | bright | 8 | M16x1,5 | 33 | 76 | 26 | 14 | 23 |  | | on request | | | 03089-2064410 | 4 | D | with locking slot, with locknut | 1.4404 | bright | 10 | M20x1,5 | 33 | 84 | 28 | 17 | 25 |  | | on request | | | 03089-2064412 | 4 | D | with locking slot, with locknut | 1.4404 | bright | 12 | M20x1,5 | 33 | 90 | 28 | 20 | 25 |  | | on request | | | 03089-2064516 | 5 | D | with locking slot, with locknut | 1.4404 | bright | 16 | M24x2 | 40 | 112 | 32 | 26 | 28 |  | | on request | | | 03089-2174903 | 9 | D | with locking slot, with locknut | 1.4404 | bright | 3 | M6x0,75 | 14 | 34,5 | 12 | 6,5 | 10 |  | | on request | | | 03089-2174004 | 0 | D | with locking slot, with locknut | 1.4404 | bright | 4 | M8x1 | 18 | 42,5 | 15 | 8 | 13 |  | | on request | | | 03089-2174105 | 1 | D | with locking slot, with locknut | 1.4404 | bright | 5 | M10x1 | 21 | 49,5 | 17 | 10 | 15 |  | | on request | | | 03089-2174206 | 2 | D | with locking slot, with locknut | 1.4404 | bright | 6 | M12x1,5 | 25 | 57,7 | 20 | 11 | 17 |  | | on request | | | 03089-2174308 | 3 | D | with locking slot, with locknut | 1.4404 | bright | 8 | M16x1,5 | 33 | 76 | 26 | 14 | 23 |  | | on request | | | 03089-2174410 | 4 | D | with locking slot, with locknut | 1.4404 | bright | 10 | M20x1,5 | 33 | 84 | 28 | 17 | 25 |  | | on request | | | 03089-2174412 | 4 | D | with locking slot, with locknut | 1.4404 | bright | 12 | M20x1,5 | 33 | 90 | 28 | 20 | 25 |  | | on request | | | 03089-2174516 | 5 | D | with locking slot, with locknut | 1.4404 | bright | 16 | M24x2 | 40 | 112 | 32 | 26 | 28 |  | | on request | | | 03089-20649031 | 9 | D | with locking slot, with locknut | 1.4404 | blasted | 3 | M6x0,75 | 14 | 34,5 | 12 | 6,5 | 10 |  | | on request | | | 03089-20640041 | 0 | D | with locking slot, with locknut | 1.4404 | blasted | 4 | M8x1 | 18 | 42,5 | 15 | 8 | 13 |  | | on request | | | 03089-20641051 | 1 | D | with locking slot, with locknut | 1.4404 | blasted | 5 | M10x1 | 21 | 49,5 | 17 | 10 | 15 |  | | on request | | | 03089-20642061 | 2 | D | with locking slot, with locknut | 1.4404 | blasted | 6 | M12x1,5 | 25 | 57,7 | 20 | 11 | 17 |  | | on request | | | 03089-20643081 | 3 | D | with locking slot, with locknut | 1.4404 | blasted | 8 | M16x1,5 | 33 | 76 | 26 | 14 | 23 |  | | on request | | | 03089-20644101 | 4 | D | with locking slot, with locknut | 1.4404 | blasted | 10 | M20x1,5 | 33 | 84 | 28 | 17 | 25 |  | | on request | | | 03089-20644121 | 4 | D | with locking slot, with locknut | 1.4404 | blasted | 12 | M20x1,5 | 33 | 90 | 28 | 20 | 25 |  | | on request | | | 03089-20645161 | 5 | D | with locking slot, with locknut | 1.4404 | blasted | 16 | M24x2 | 40 | 112 | 32 | 26 | 28 |  | | on request | | | 03089-21749031 | 9 | D | with locking slot, with locknut | 1.4404 | blasted | 3 | M6x0,75 | 14 | 34,5 | 12 | 6,5 | 10 |  | | on request | | | 03089-21740041 | 0 | D | with locking slot, with locknut | 1.4404 | blasted | 4 | M8x1 | 18 | 42,5 | 15 | 8 | 13 |  | | on request | | | 03089-21741051 | 1 | D | with locking slot, with locknut | 1.4404 | blasted | 5 | M10x1 | 21 | 49,5 | 17 | 10 | 15 |  | | on request | | | 03089-21742061 | 2 | D | with locking slot, with locknut | 1.4404 | blasted | 6 | M12x1,5 | 25 | 57,7 | 20 | 11 | 17 |  | | on request | | | 03089-21743081 | 3 | D | with locking slot, with locknut | 1.4404 | blasted | 8 | M16x1,5 | 33 | 76 | 26 | 14 | 23 |  | | on request | | | 03089-21744101 | 4 | D | with locking slot, with locknut | 1.4404 | blasted | 10 | M20x1,5 | 33 | 84 | 28 | 17 | 25 |  | | on request | | | 03089-21744121 | 4 | D | with locking slot, with locknut | 1.4404 | blasted | 12 | M20x1,5 | 33 | 90 | 28 | 20 | 25 |  | | on request | | | 03089-21745161 | 5 | D | with locking slot, with locknut | 1.4404 | blasted | 16 | M24x2 | 40 | 112 | 32 | 26 | 28 |  | | on request | |
| Order No. | Size | Form | Form definition | Steel code | Surface finish component | Travel S | SW1 | SW2 | Fx30° | Spring force initial pressure F1 approx. N | Spring force final pressure F2 approx. N | CAD | Acc. | Price | Order |
|---|
| 03089-2004903 | 9 | D | with locking slot, with locknut | 1.4034 | bright | 5 | 8 | 10 | 0,8 | 3 | 10 |  | | on request | | | 03089-2004004 | 0 | D | with locking slot, with locknut | 1.4034 | bright | 6 | 10 | 13 | 1 | 6 | 21 |  | | on request | | | 03089-2004105 | 1 | D | with locking slot, with locknut | 1.4034 | bright | 8 | 13 | 17 | 1,3 | 5 | 16 |  | | on request | | | 03089-2004206 | 2 | D | with locking slot, with locknut | 1.4034 | bright | 9 | 14 | 19 | 1,8 | 6 | 18 |  | | on request | | | 03089-2004308 | 3 | D | with locking slot, with locknut | 1.4034 | bright | 12 | 19 | 24 | 2,3 | 15 | 45 |  | | on request | | | 03089-2004410 | 4 | D | with locking slot, with locknut | 1.4034 | bright | 15 | 22 | 30 | 2,8 | 14 | 42 |  | | on request | | | 03089-2004412 | 4 | D | with locking slot, with locknut | 1.4034 | bright | 18 | 22 | 30 | 2,8 | 15 | 51 |  | | on request | | | 03089-2004516 | 5 | D | with locking slot, with locknut | 1.4034 | bright | 24 | 27 | 36 | 3,2 | 18 | 48 |  | | on request | | | 03089-2114903 | 9 | D | with locking slot, with locknut | 1.4305 | bright | 5 | 8 | 10 | 0,8 | 3 | 10 |  | | on request | | | 03089-2114004 | 0 | D | with locking slot, with locknut | 1.4305 | bright | 6 | 10 | 13 | 1 | 6 | 21 |  | | on request | | | 03089-2114105 | 1 | D | with locking slot, with locknut | 1.4305 | bright | 8 | 13 | 17 | 1,3 | 5 | 16 |  | | on request | | | 03089-2114206 | 2 | D | with locking slot, with locknut | 1.4305 | bright | 9 | 14 | 19 | 1,8 | 6 | 18 |  | | on request | | | 03089-2114308 | 3 | D | with locking slot, with locknut | 1.4305 | bright | 12 | 19 | 24 | 2,3 | 15 | 45 |  | | on request | | | 03089-2114410 | 4 | D | with locking slot, with locknut | 1.4305 | bright | 15 | 22 | 30 | 2,8 | 14 | 42 |  | | on request | | | 03089-2114412 | 4 | D | with locking slot, with locknut | 1.4305 | bright | 18 | 22 | 30 | 2,8 | 15 | 51 |  | | on request | | | 03089-2114516 | 5 | D | with locking slot, with locknut | 1.4305 | bright | 24 | 27 | 36 | 3,2 | 18 | 48 |  | | on request | | | 03089-2064903 | 9 | D | with locking slot, with locknut | 1.4404 | bright | 5 | 8 | 10 | 0,8 | 2 | 7 |  | | on request | | | 03089-2064004 | 0 | D | with locking slot, with locknut | 1.4404 | bright | 6 | 10 | 13 | 1 | 7 | 19 |  | | on request | | | 03089-2064105 | 1 | D | with locking slot, with locknut | 1.4404 | bright | 8 | 13 | 17 | 1,3 | 4 | 17 |  | | on request | | | 03089-2064206 | 2 | D | with locking slot, with locknut | 1.4404 | bright | 9 | 14 | 19 | 1,8 | 7 | 18 |  | | on request | | | 03089-2064308 | 3 | D | with locking slot, with locknut | 1.4404 | bright | 12 | 19 | 24 | 2,3 | 15 | 45 |  | | on request | | | 03089-2064410 | 4 | D | with locking slot, with locknut | 1.4404 | bright | 15 | 22 | 30 | 2,8 | 14 | 42 |  | | on request | | | 03089-2064412 | 4 | D | with locking slot, with locknut | 1.4404 | bright | 18 | 22 | 30 | 2,8 | 15 | 51 |  | | on request | | | 03089-2064516 | 5 | D | with locking slot, with locknut | 1.4404 | bright | 24 | 27 | 36 | 3,2 | 18 | 48 |  | | on request | | | 03089-2174903 | 9 | D | with locking slot, with locknut | 1.4404 | bright | 5 | 8 | 10 | 0,8 | 2 | 7 |  | | on request | | | 03089-2174004 | 0 | D | with locking slot, with locknut | 1.4404 | bright | 6 | 10 | 13 | 1 | 7 | 19 |  | | on request | | | 03089-2174105 | 1 | D | with locking slot, with locknut | 1.4404 | bright | 8 | 13 | 17 | 1,3 | 4 | 17 |  | | on request | | | 03089-2174206 | 2 | D | with locking slot, with locknut | 1.4404 | bright | 9 | 14 | 19 | 1,8 | 7 | 18 |  | | on request | | | 03089-2174308 | 3 | D | with locking slot, with locknut | 1.4404 | bright | 12 | 19 | 24 | 2,3 | 15 | 45 |  | | on request | | | 03089-2174410 | 4 | D | with locking slot, with locknut | 1.4404 | bright | 15 | 22 | 30 | 2,8 | 14 | 42 |  | | on request | | | 03089-2174412 | 4 | D | with locking slot, with locknut | 1.4404 | bright | 18 | 22 | 30 | 2,8 | 15 | 51 |  | | on request | | | 03089-2174516 | 5 | D | with locking slot, with locknut | 1.4404 | bright | 24 | 27 | 36 | 3,2 | 18 | 48 |  | | on request | | | 03089-20649031 | 9 | D | with locking slot, with locknut | 1.4404 | blasted | 5 | 8 | 10 | 0,8 | 2 | 7 |  | | on request | | | 03089-20640041 | 0 | D | with locking slot, with locknut | 1.4404 | blasted | 6 | 10 | 13 | 1 | 7 | 19 |  | | on request | | | 03089-20641051 | 1 | D | with locking slot, with locknut | 1.4404 | blasted | 8 | 13 | 17 | 1,3 | 4 | 17 |  | | on request | | | 03089-20642061 | 2 | D | with locking slot, with locknut | 1.4404 | blasted | 9 | 14 | 19 | 1,8 | 7 | 18 |  | | on request | | | 03089-20643081 | 3 | D | with locking slot, with locknut | 1.4404 | blasted | 12 | 19 | 24 | 2,3 | 15 | 45 |  | | on request | | | 03089-20644101 | 4 | D | with locking slot, with locknut | 1.4404 | blasted | 15 | 22 | 30 | 2,8 | 14 | 42 |  | | on request | | | 03089-20644121 | 4 | D | with locking slot, with locknut | 1.4404 | blasted | 18 | 22 | 30 | 2,8 | 15 | 51 |  | | on request | | | 03089-20645161 | 5 | D | with locking slot, with locknut | 1.4404 | blasted | 24 | 27 | 36 | 3,2 | 18 | 48 |  | | on request | | | 03089-21749031 | 9 | D | with locking slot, with locknut | 1.4404 | blasted | 5 | 8 | 10 | 0,8 | 2 | 7 |  | | on request | | | 03089-21740041 | 0 | D | with locking slot, with locknut | 1.4404 | blasted | 6 | 10 | 13 | 1 | 7 | 19 |  | | on request | | | 03089-21741051 | 1 | D | with locking slot, with locknut | 1.4404 | blasted | 8 | 13 | 17 | 1,3 | 4 | 17 |  | | on request | | | 03089-21742061 | 2 | D | with locking slot, with locknut | 1.4404 | blasted | 9 | 14 | 19 | 1,8 | 7 | 18 |  | | on request | | | 03089-21743081 | 3 | D | with locking slot, with locknut | 1.4404 | blasted | 12 | 19 | 24 | 2,3 | 15 | 45 |  | | on request | | | 03089-21744101 | 4 | D | with locking slot, with locknut | 1.4404 | blasted | 15 | 22 | 30 | 2,8 | 14 | 42 |  | | on request | | | 03089-21744121 | 4 | D | with locking slot, with locknut | 1.4404 | blasted | 18 | 22 | 30 | 2,8 | 15 | 51 |  | | on request | | | 03089-21745161 | 5 | D | with locking slot, with locknut | 1.4404 | blasted | 24 | 27 | 36 | 3,2 | 18 | 48 |  | | on request | |
|
Other items in this category |
|
|