|
|
|
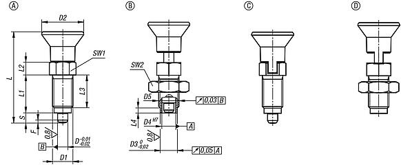
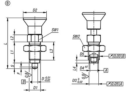
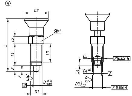
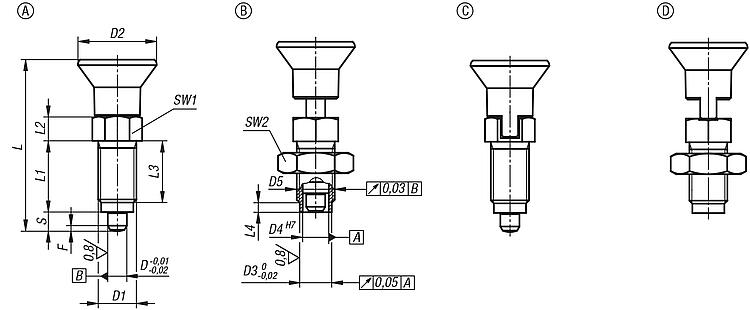
03089Premium - Indexing plungers, steel or stainless steel with... |
go back |
|
|
DescriptionProduct description:Indexing plungers are used where any change in locking position due to lateral forces should be prevented. A new indexed position can be only be moved to after the pin has been manually retracted. Form C and D are recommended for applications where the indexing pin should remain disengaged for an extended period and be prevented from springing back.
Premium indexing plungers are characterised by higher manufacturing demands of the indexing plunger and the threaded sleeve. In addition, a centring locator has been added to the threaded sleeve, which can be used to increase positioning accuracy.Material:Steel version:
Threaded sleeve and indexing pin free-cutting steel.
Stainless steel version:
Threaded sleeve 1.4305.
Indexing pin 1.4034.
Mushroom grip thermoplastic.
Thread lock polyamide. Version:Steel version: Threaded sleeve black oxidised. Indexing pin hardened, ground and black oxidised. Stainless steel version: Threaded sleeve bright. Indexing pin hardened and ground, bright.
Mushroom grip black grey RAL7021. Note:When high lateral forces are to be expected, the centring locator should be used.Assembly:When using the threaded sleeve centring, it is recommended the receiving reamed hole be machined before tapping.On request:Special versions.Accessory:Matching cylindrical bush 03089. Locknut 07212-….Drawing reference:Form A: non-lockout type, without locknut Form B: non-lockout type, with locknut Form C: lockout type, without locknut Form D: lockout type, with locknut Special features: DownloadHere is all the information as a PDF datasheet:
Are you looking for CAD data? These can be found directly in the product table.
|
Drawings (total overview) |
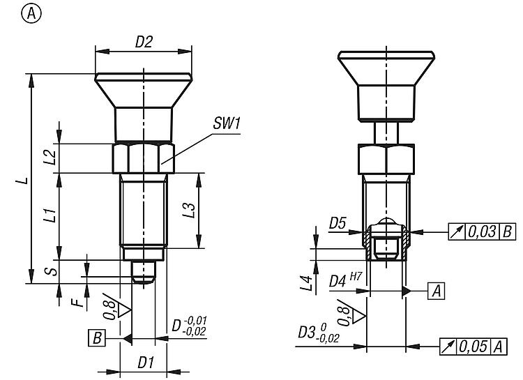
Premium indexing plungers, steel or stainless steel with plastic mushroom grip, cylindrical indexing pin, no locking slot or locknut |
More information |
| Order No. | Form | Main material | D | D1 | D2 | D3 | D4 | D5 | L | L1 | L2 | L3 | L4 | Travel S | SW1 | Fx30° | Spring force initial pressure F1 approx. N | Spring force final pressure F2 approx. N | CAD | Acc. | Price | Order |
|---|
| 03089-41105 | A | steel | 5 | M10x1 | 21 | 8 | 6 | 6 -0,01/-0,02 | 43,5 | 17 | 7 | 15 | 3 | 5 | 13 | 1,3 | 5 | 12 |  |  | on request | | | 03089-41206 | A | steel | 6 | M12x1,5 | 25 | 10 | 8,5 | 8,5 -0,01/-0,03 | 51,7 | 20 | 8 | 17 | 3 | 6 | 14 | 1,8 | 6 | 14 |  |  | on request | | | 03089-41308 | A | steel | 8 | M16x1,5 | 33 | 13,5 | 11 | 11 -0,01/-0,03 | 68 | 26 | 10 | 23 | 4 | 8 | 19 | 2,3 | 15 | 35 |  |  | on request | | | 03089-41410 | A | steel | 10 | M20x1,5 | 33 | 17 | 11 | 11 -0,01/-0,03 | 74 | 28 | 12 | 25 | 4 | 10 | 22 | 2,8 | 15 | 34 |  |  | on request | | | 03089-401105 | A | stainless steel | 5 | M10x1 | 21 | 8 | 6 | 6 -0,01/-0,02 | 43,5 | 17 | 7 | 15 | 3 | 5 | 13 | 1,3 | 5 | 12 |  |  | on request | | | 03089-401206 | A | stainless steel | 6 | M12x1,5 | 25 | 10 | 8,5 | 8,5 -0,01/-0,03 | 51,7 | 20 | 8 | 17 | 3 | 6 | 14 | 1,8 | 6 | 14 |  |  | on request | | | 03089-401308 | A | stainless steel | 8 | M16x1,5 | 33 | 13,5 | 11 | 11 -0,01/-0,03 | 68 | 26 | 10 | 23 | 4 | 8 | 19 | 2,3 | 15 | 35 |  |  | on request | | | 03089-401410 | A | stainless steel | 10 | M20x1,5 | 33 | 17 | 11 | 11 -0,01/-0,03 | 74 | 28 | 12 | 25 | 4 | 10 | 22 | 2,8 | 15 | 34 |  |  | on request | |
|
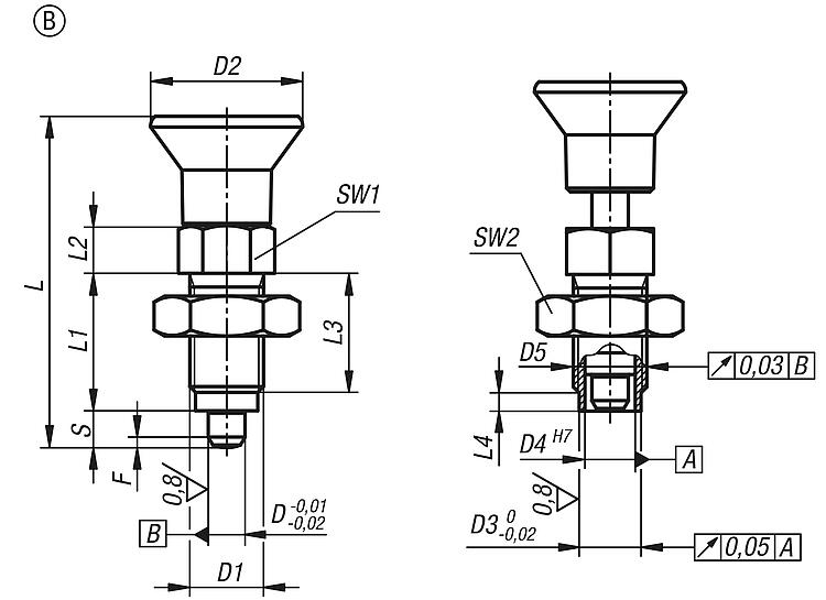
Premium - Indexing plungers, steel or stainless steel with plastic mushroom grip, cylindrical indexing pin and locknut |
More information |
| Order No. | Form | Main material | D | D1 | D2 | D3 | D4 | D5 | L | L1 | L2 | L3 | L4 | Travel S | SW1 | SW2 | Fx30° | Spring force initial pressure F1 approx. N | Spring force final pressure F2 approx. N | CAD | Acc. | Price | Order |
|---|
| 03089-42105 | B | steel | 5 | M10x1 | 21 | 8 | 6 | 6 -0,01/-0,02 | 43,5 | 17 | 7 | 15 | 3 | 5 | 13 | 17 | 1,3 | 5 | 12 |  | | on request | | | 03089-42206 | B | steel | 6 | M12x1,5 | 25 | 10 | 8,5 | 8,5 -0,01/-0,03 | 51,7 | 20 | 8 | 17 | 3 | 6 | 14 | 19 | 1,8 | 6 | 14 |  | | on request | | | 03089-42308 | B | steel | 8 | M16x1,5 | 33 | 13,5 | 11 | 11 -0,01/-0,03 | 68 | 26 | 10 | 23 | 4 | 8 | 19 | 24 | 2,3 | 15 | 35 |  | | on request | | | 03089-42410 | B | steel | 10 | M20x1,5 | 33 | 17 | 11 | 11 -0,01/-0,03 | 74 | 28 | 12 | 25 | 4 | 10 | 22 | 30 | 2,8 | 15 | 34 |  | | on request | | | 03089-402105 | B | stainless steel | 5 | M10x1 | 21 | 8 | 6 | 6 -0,01/-0,02 | 43,5 | 17 | 7 | 15 | 3 | 5 | 13 | 17 | 1,3 | 5 | 12 |  | | on request | | | 03089-402206 | B | stainless steel | 6 | M12x1,5 | 25 | 10 | 8,5 | 8,5 -0,01/-0,03 | 51,7 | 20 | 8 | 17 | 3 | 6 | 14 | 19 | 1,8 | 6 | 14 |  | | on request | | | 03089-402308 | B | stainless steel | 8 | M16x1,5 | 33 | 13,5 | 11 | 11 -0,01/-0,03 | 68 | 26 | 10 | 23 | 4 | 8 | 19 | 24 | 2,3 | 15 | 35 |  | | on request | | | 03089-402410 | B | stainless steel | 10 | M20x1,5 | 33 | 17 | 11 | 11 -0,01/-0,03 | 74 | 28 | 12 | 25 | 4 | 10 | 22 | 30 | 2,8 | 15 | 34 |  | | on request | |
|
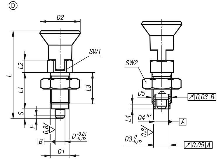
Premium - Indexing plungers, steel or stainless steel with plastic mushroom grip, cylindrical indexing pin and locking slot |
More information |
| Order No. | Form | Main material | D | D1 | D2 | D3 | D4 | D5 | L | L1 | L2 | L3 | L4 | Travel S | SW1 | Fx30° | Spring force initial pressure F1 approx. N | Spring force final pressure F2 approx. N | CAD | Acc. | Price | Order |
|---|
| 03089-43105 | C | steel | 5 | M10x1 | 21 | 8 | 6 | 6 -0,01/-0,02 | 43,5 | 17 | 7 | 15 | 3 | 5 | 13 | 1,3 | 5 | 12 |  | | on request | | | 03089-43206 | C | steel | 6 | M12x1,5 | 25 | 10 | 8,5 | 8,5 -0,01/-0,03 | 51,7 | 20 | 8 | 17 | 3 | 6 | 14 | 1,8 | 6 | 14 |  | | on request | | | 03089-43308 | C | steel | 8 | M16x1,5 | 33 | 13,5 | 11 | 11 -0,01/-0,03 | 68 | 26 | 10 | 23 | 4 | 8 | 19 | 2,3 | 15 | 35 |  | | on request | | | 03089-43410 | C | steel | 10 | M20x1,5 | 33 | 17 | 11 | 11 -0,01/-0,03 | 74 | 28 | 12 | 25 | 4 | 10 | 22 | 2,8 | 15 | 34 |  | | on request | | | 03089-403105 | C | stainless steel | 5 | M10x1 | 21 | 8 | 6 | 6 -0,01/-0,02 | 43,5 | 17 | 7 | 15 | 3 | 5 | 13 | 1,3 | 5 | 12 |  | | on request | | | 03089-403206 | C | stainless steel | 6 | M12x1,5 | 25 | 10 | 8,5 | 8,5 -0,01/-0,03 | 51,7 | 20 | 8 | 17 | 3 | 6 | 14 | 1,8 | 6 | 14 |  | | on request | | | 03089-403308 | C | stainless steel | 8 | M16x1,5 | 33 | 13,5 | 11 | 11 -0,01/-0,03 | 68 | 26 | 10 | 23 | 4 | 8 | 19 | 2,3 | 15 | 35 |  | | on request | | | 03089-403410 | C | stainless steel | 10 | M20x1,5 | 33 | 17 | 11 | 11 -0,01/-0,03 | 74 | 28 | 12 | 25 | 4 | 10 | 22 | 2,8 | 15 | 34 |  | | on request | |
|
Premium - Indexing plungers, steel or stainless steel with plastic mushroom grip, cylindrical indexing pin, locking slot and locknut |
More information |
| Order No. | Form | Main material | D | D1 | D2 | D3 | D4 | D5 | L | L1 | L2 | L3 | L4 | Travel S | SW1 | SW2 | Fx30° | Spring force initial pressure F1 approx. N | Spring force final pressure F2 approx. N | CAD | Acc. | Price | Order |
|---|
| 03089-44105 | D | steel | 5 | M10x1 | 21 | 8 | 6 | 6 -0,01/-0,02 | 43,5 | 17 | 7 | 15 | 3 | 5 | 13 | 17 | 1,3 | 5 | 12 |  | | on request | | | 03089-44206 | D | steel | 6 | M12x1,5 | 25 | 10 | 8,5 | 8,5 -0,01/-0,03 | 51,7 | 20 | 8 | 17 | 3 | 6 | 14 | 19 | 1,8 | 6 | 14 |  | | on request | | | 03089-44308 | D | steel | 8 | M16x1,5 | 33 | 13,5 | 11 | 11 -0,01/-0,03 | 68 | 26 | 10 | 23 | 4 | 8 | 19 | 24 | 2,3 | 15 | 35 |  | | on request | | | 03089-44410 | D | steel | 10 | M20x1,5 | 33 | 17 | 11 | 11 -0,01/-0,03 | 74 | 28 | 12 | 25 | 4 | 10 | 22 | 30 | 2,8 | 15 | 34 |  | | on request | | | 03089-404105 | D | stainless steel | 5 | M10x1 | 21 | 8 | 6 | 6 -0,01/-0,02 | 43,5 | 17 | 7 | 15 | 3 | 5 | 13 | 17 | 1,3 | 5 | 12 |  | | on request | | | 03089-404206 | D | stainless steel | 6 | M12x1,5 | 25 | 10 | 8,5 | 8,5 -0,01/-0,03 | 51,7 | 20 | 8 | 17 | 3 | 6 | 14 | 19 | 1,8 | 6 | 14 |  | | on request | | | 03089-404308 | D | stainless steel | 8 | M16x1,5 | 33 | 13,5 | 11 | 11 -0,01/-0,03 | 68 | 26 | 10 | 23 | 4 | 8 | 19 | 24 | 2,3 | 15 | 35 |  | | on request | | | 03089-404410 | D | stainless steel | 10 | M20x1,5 | 33 | 17 | 11 | 11 -0,01/-0,03 | 74 | 28 | 12 | 25 | 4 | 10 | 22 | 30 | 2,8 | 15 | 34 |  | | on request | |
|
Other items in this category |
|
|