|
|
|
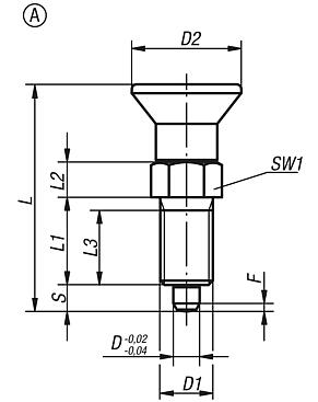
03089Indexing plungers, steel or stainless steel with plastic... |
go back |
|
|
DescriptionProduct description:Indexing plungers are used where any change in locking position due to lateral forces should be prevented. A new locking position can only be attained after the pin has been manually disengaged. Forms C or D should be used where the plunger remains disengaged for an extended period and the indexing pin prevented from springing back. Material:Steel version:
Threaded sleeve and indexing pin free-cutting steel.
Stainless steel version A1:
Threaded sleeve 1.4305.
Indexing pin hardened 1.4034.
Indexing pin not hardened 1.4305.
Stainless steel version A4:
Threaded sleeve and indexing pin 1.4404.
Mushroom grip thermoplastic. Version:Steel version: Threaded sleeve black oxidised. Indexing pin hardened, ground and black oxidised.
Stainless steel version A1: Threaded sleeve bright. Indexing pin hardened and ground, bright. Indexing pin not hardened and ground, bright.
Stainless steel version A4: Threaded sleeve bright. Indexing pin ground and chemically nickel-plated. Indexing pin ground, bright.
Mushroom grip black grey RAL7021 or traffic red RAL3020.Note:The materials used enable a wide range of applications. Indexing plungers made from A4 stainless steel are recommended for applications with very high corrosion resistance requirements. On request:Special versions.Drawing reference:Form A: non-lockout type, without locknut Form B: non-lockout type, with locknut Form C: lockout type, without locknut Form D: lockout type, with locknut DownloadHere is all the information as a PDF datasheet:
Are you looking for CAD data? These can be found directly in the product table.
|
Drawings (total overview) |
Indexing plungers, steel or stainless steel with plastic mushroom grip |
More information |
| Order No. | Form | Main material | Steel code | Surface finish body | Component colour | D | D1 | D2 | L | L1 | L2 | L3 | Travel S | SW1 | Fx30° | Spring force initial pressure F1 approx. N | Spring force final pressure F2 approx. N | CAD | Acc. | Price | Order |
|---|
| 03089-1903 | A | steel | - | hardened | black grey RAL 7021 | 3 | M6x0,75 | 14 | 31,5 | 12 | 5 | 10 | 3,5 | 8 | 0,8 | 4,5 | 10 |  | | on request | | | 03089-1004 | A | steel | - | hardened | black grey RAL 7021 | 4 | M8x1 | 18 | 38,5 | 15 | 6 | 13 | 4 | 10 | 1 | 6 | 12 |  |  | on request | | | 03089-1105 | A | steel | - | hardened | black grey RAL 7021 | 5 | M10x1 | 21 | 43,5 | 17 | 7 | 15 | 5 | 13 | 1,3 | 5 | 12 |  |  | on request | | | 03089-1206 | A | steel | - | hardened | black grey RAL 7021 | 6 | M12x1,5 | 25 | 51,7 | 20 | 8 | 17 | 6 | 14 | 1,8 | 6 | 14 |  |  | on request | | | 03089-1308 | A | steel | - | hardened | black grey RAL 7021 | 8 | M16x1,5 | 33 | 68 | 26 | 10 | 23 | 8 | 19 | 2,3 | 15 | 35 |  |  | on request | | | 03089-1410 | A | steel | - | hardened | black grey RAL 7021 | 10 | M20x1,5 | 33 | 74 | 28 | 12 | 25 | 10 | 22 | 2,8 | 15 | 34 |  | | on request | | | 03089-1412 | A | steel | - | hardened | black grey RAL 7021 | 12 | M20x1,5 | 33 | 78 | 28 | 14 | 25 | 12 | 22 | 2,8 | 15 | 39 |  | | on request | | | 03089-1516 | A | steel | - | hardened | black grey RAL 7021 | 16 | M24x2 | 40 | 96 | 32 | 18 | 28 | 16 | 27 | 3,2 | 20 | 46 |  | | on request | | | 03089-190384 | A | steel | - | hardened | traffic red RAL 3020 | 3 | M6x0,75 | 14 | 31,5 | 12 | 5 | 10 | 3,5 | 8 | 0,8 | 4,5 | 10 |  | | on request | | | 03089-100484 | A | steel | - | hardened | traffic red RAL 3020 | 4 | M8x1 | 18 | 38,5 | 15 | 6 | 13 | 4 | 10 | 1 | 6 | 12 |  | | on request | | | 03089-110584 | A | steel | - | hardened | traffic red RAL 3020 | 5 | M10x1 | 21 | 43,5 | 17 | 7 | 15 | 5 | 13 | 1,3 | 5 | 12 |  | | on request | | | 03089-120684 | A | steel | - | hardened | traffic red RAL 3020 | 6 | M12x1,5 | 25 | 51,7 | 20 | 8 | 17 | 6 | 14 | 1,8 | 6 | 14 |  | | on request | | | 03089-130884 | A | steel | - | hardened | traffic red RAL 3020 | 8 | M16x1,5 | 33 | 68 | 26 | 10 | 23 | 8 | 19 | 2,3 | 15 | 35 |  | | on request | | | 03089-141084 | A | steel | - | hardened | traffic red RAL 3020 | 10 | M20x1,5 | 33 | 74 | 28 | 12 | 25 | 10 | 22 | 2,8 | 15 | 34 |  | | on request | | | 03089-141284 | A | steel | - | hardened | traffic red RAL 3020 | 12 | M20x1,5 | 33 | 78 | 28 | 14 | 25 | 12 | 22 | 2,8 | 15 | 39 |  | | on request | | | 03089-151684 | A | steel | - | hardened | traffic red RAL 3020 | 16 | M24x2 | 40 | 96 | 32 | 18 | 28 | 16 | 27 | 3,2 | 20 | 46 |  | | on request | | | 03089-01903 | A | stainless steel | 1.4034 | hardened | black grey RAL 7021 | 3 | M6x0,75 | 14 | 31,5 | 12 | 5 | 10 | 3,5 | 8 | 0,8 | 4,5 | 10 |  | | on request | | | 03089-01004 | A | stainless steel | 1.4034 | hardened | black grey RAL 7021 | 4 | M8x1 | 18 | 38,5 | 15 | 6 | 13 | 4 | 10 | 1 | 6 | 12 |  |  | on request | | | 03089-01105 | A | stainless steel | 1.4034 | hardened | black grey RAL 7021 | 5 | M10x1 | 21 | 43,5 | 17 | 7 | 15 | 5 | 13 | 1,3 | 5 | 12 |  |  | on request | | | 03089-01206 | A | stainless steel | 1.4034 | hardened | black grey RAL 7021 | 6 | M12x1,5 | 25 | 51,7 | 20 | 8 | 17 | 6 | 14 | 1,8 | 6 | 14 |  |  | on request | | | 03089-01308 | A | stainless steel | 1.4034 | hardened | black grey RAL 7021 | 8 | M16x1,5 | 33 | 68 | 26 | 10 | 23 | 8 | 19 | 2,3 | 15 | 35 |  |  | on request | | | 03089-01410 | A | stainless steel | 1.4034 | hardened | black grey RAL 7021 | 10 | M20x1,5 | 33 | 74 | 28 | 12 | 25 | 10 | 22 | 2,8 | 15 | 34 |  | | on request | | | 03089-01412 | A | stainless steel | 1.4034 | hardened | black grey RAL 7021 | 12 | M20x1,5 | 33 | 78 | 28 | 14 | 25 | 12 | 22 | 2,8 | 15 | 39 |  | | on request | | | 03089-01516 | A | stainless steel | 1.4034 | hardened | black grey RAL 7021 | 16 | M24x2 | 40 | 96 | 32 | 18 | 28 | 16 | 27 | 3,2 | 20 | 46 |  | | on request | | | 03089-0190384 | A | stainless steel | 1.4034 | hardened | traffic red RAL 3020 | 3 | M6x0,75 | 14 | 31,5 | 12 | 5 | 10 | 3,5 | 8 | 0,8 | 4,5 | 10 |  | | on request | | | 03089-0100484 | A | stainless steel | 1.4034 | hardened | traffic red RAL 3020 | 4 | M8x1 | 18 | 38,5 | 15 | 6 | 13 | 4 | 10 | 1 | 6 | 12 |  | | on request | | | 03089-0110584 | A | stainless steel | 1.4034 | hardened | traffic red RAL 3020 | 5 | M10x1 | 21 | 43,5 | 17 | 7 | 15 | 5 | 13 | 1,3 | 5 | 12 |  | | on request | | | 03089-0120684 | A | stainless steel | 1.4034 | hardened | traffic red RAL 3020 | 6 | M12x1,5 | 25 | 51,7 | 20 | 8 | 17 | 6 | 14 | 1,8 | 6 | 14 |  | | on request | | | 03089-0130884 | A | stainless steel | 1.4034 | hardened | traffic red RAL 3020 | 8 | M16x1,5 | 33 | 68 | 26 | 10 | 23 | 8 | 19 | 2,3 | 15 | 35 |  | | on request | | | 03089-0141084 | A | stainless steel | 1.4034 | hardened | traffic red RAL 3020 | 10 | M20x1,5 | 33 | 74 | 28 | 12 | 25 | 10 | 22 | 2,8 | 15 | 34 |  | | on request | | | 03089-0141284 | A | stainless steel | 1.4034 | hardened | traffic red RAL 3020 | 12 | M20x1,5 | 33 | 78 | 28 | 14 | 25 | 12 | 22 | 2,8 | 15 | 39 |  | | on request | | | 03089-0151684 | A | stainless steel | 1.4034 | hardened | traffic red RAL 3020 | 16 | M24x2 | 40 | 96 | 32 | 18 | 28 | 16 | 27 | 3,2 | 20 | 46 |  | | on request | | | 03089-11903 | A | stainless steel | 1.4305 | not hardened | black grey RAL 7021 | 3 | M6x0,75 | 14 | 31,5 | 12 | 5 | 10 | 3,5 | 8 | 0,8 | 4,5 | 10 |  | | on request | | | 03089-11004 | A | stainless steel | 1.4305 | not hardened | black grey RAL 7021 | 4 | M8x1 | 18 | 38,5 | 15 | 6 | 13 | 4 | 10 | 1 | 6 | 12 |  |  | on request | | | 03089-11105 | A | stainless steel | 1.4305 | not hardened | black grey RAL 7021 | 5 | M10x1 | 21 | 43,5 | 17 | 7 | 15 | 5 | 13 | 1,3 | 5 | 12 |  |  | on request | | | 03089-11206 | A | stainless steel | 1.4305 | not hardened | black grey RAL 7021 | 6 | M12x1,5 | 25 | 51,7 | 20 | 8 | 17 | 6 | 14 | 1,8 | 6 | 14 |  |  | on request | | | 03089-11308 | A | stainless steel | 1.4305 | not hardened | black grey RAL 7021 | 8 | M16x1,5 | 33 | 68 | 26 | 10 | 23 | 8 | 19 | 2,3 | 15 | 35 |  |  | on request | | | 03089-11410 | A | stainless steel | 1.4305 | not hardened | black grey RAL 7021 | 10 | M20x1,5 | 33 | 74 | 28 | 12 | 25 | 10 | 22 | 2,8 | 15 | 34 |  | | on request | | | 03089-11412 | A | stainless steel | 1.4305 | not hardened | black grey RAL 7021 | 12 | M20x1,5 | 33 | 78 | 28 | 14 | 25 | 12 | 22 | 2,8 | 15 | 39 |  | | on request | | | 03089-11516 | A | stainless steel | 1.4305 | not hardened | black grey RAL 7021 | 16 | M24x2 | 40 | 96 | 32 | 18 | 28 | 16 | 27 | 3,2 | 20 | 46 |  | | on request | | | 03089-1190384 | A | stainless steel | 1.4305 | not hardened | traffic red RAL 3020 | 3 | M6x0,75 | 14 | 31,5 | 12 | 5 | 10 | 3,5 | 8 | 0,8 | 4,5 | 10 |  | | on request | | | 03089-1100484 | A | stainless steel | 1.4305 | not hardened | traffic red RAL 3020 | 4 | M8x1 | 18 | 38,5 | 15 | 6 | 13 | 4 | 10 | 1 | 6 | 12 |  | | on request | | | 03089-1110584 | A | stainless steel | 1.4305 | not hardened | traffic red RAL 3020 | 5 | M10x1 | 21 | 43,5 | 17 | 7 | 15 | 5 | 13 | 1,3 | 5 | 12 |  | | on request | | | 03089-1120684 | A | stainless steel | 1.4305 | not hardened | traffic red RAL 3020 | 6 | M12x1,5 | 25 | 51,7 | 20 | 8 | 17 | 6 | 14 | 1,8 | 6 | 14 |  | | on request | | | 03089-1130884 | A | stainless steel | 1.4305 | not hardened | traffic red RAL 3020 | 8 | M16x1,5 | 33 | 68 | 26 | 10 | 23 | 8 | 19 | 2,3 | 15 | 35 |  | | on request | | | 03089-1141084 | A | stainless steel | 1.4305 | not hardened | traffic red RAL 3020 | 10 | M20x1,5 | 33 | 74 | 28 | 12 | 25 | 10 | 22 | 2,8 | 15 | 34 |  | | on request | | | 03089-1141284 | A | stainless steel | 1.4305 | not hardened | traffic red RAL 3020 | 12 | M20x1,5 | 33 | 78 | 28 | 14 | 25 | 12 | 22 | 2,8 | 15 | 39 |  | | on request | | | 03089-1151684 | A | stainless steel | 1.4305 | not hardened | traffic red RAL 3020 | 16 | M24x2 | 40 | 96 | 32 | 18 | 28 | 16 | 27 | 3,2 | 20 | 46 |  | | on request | | | 03089-61903 | A | stainless steel | 1.4404 | nickel-plated | black grey RAL 7021 | 3 | M6x0,75 | 14 | 31,5 | 12 | 5 | 10 | 3,5 | 8 | 0,8 | 3 | 6,5 |  | | on request | | | 03089-61004 | A | stainless steel | 1.4404 | nickel-plated | black grey RAL 7021 | 4 | M8x1 | 18 | 38,5 | 15 | 6 | 13 | 4 | 10 | 1 | 7 | 15,5 |  | | on request | | | 03089-61105 | A | stainless steel | 1.4404 | nickel-plated | black grey RAL 7021 | 5 | M10x1 | 21 | 43,5 | 17 | 7 | 15 | 5 | 13 | 1,3 | 4 | 12,5 |  | | on request | | | 03089-61206 | A | stainless steel | 1.4404 | nickel-plated | black grey RAL 7021 | 6 | M12x1,5 | 25 | 51,7 | 20 | 8 | 17 | 6 | 14 | 1,8 | 7 | 14,5 |  | | on request | | | 03089-61308 | A | stainless steel | 1.4404 | nickel-plated | black grey RAL 7021 | 8 | M16x1,5 | 33 | 68 | 26 | 10 | 23 | 8 | 19 | 2,3 | 15 | 35 |  | | on request | | | 03089-61410 | A | stainless steel | 1.4404 | nickel-plated | black grey RAL 7021 | 10 | M20x1,5 | 33 | 74 | 28 | 12 | 25 | 10 | 22 | 2,8 | 15 | 30 |  | | on request | | | 03089-61412 | A | stainless steel | 1.4404 | nickel-plated | black grey RAL 7021 | 12 | M20x1,5 | 33 | 78 | 28 | 14 | 25 | 12 | 22 | 2,8 | 15 | 39 |  | | on request | | | 03089-61516 | A | stainless steel | 1.4404 | nickel-plated | black grey RAL 7021 | 16 | M24x2 | 40 | 96 | 32 | 18 | 28 | 16 | 27 | 3,2 | 20 | 40 |  | | on request | | | 03089-6190384 | A | stainless steel | 1.4404 | nickel-plated | traffic red RAL 3020 | 3 | M6x0,75 | 14 | 31,5 | 12 | 5 | 10 | 3,5 | 8 | 0,8 | 3 | 6,5 |  | | on request | | | 03089-6100484 | A | stainless steel | 1.4404 | nickel-plated | traffic red RAL 3020 | 4 | M8x1 | 18 | 38,5 | 15 | 6 | 13 | 4 | 10 | 1 | 7 | 15,5 |  | | on request | | | 03089-6110584 | A | stainless steel | 1.4404 | nickel-plated | traffic red RAL 3020 | 5 | M10x1 | 21 | 43,5 | 17 | 7 | 15 | 5 | 13 | 1,3 | 4 | 12,5 |  | | on request | | | 03089-6120684 | A | stainless steel | 1.4404 | nickel-plated | traffic red RAL 3020 | 6 | M12x1,5 | 25 | 51,7 | 20 | 8 | 17 | 6 | 14 | 1,8 | 7 | 14,5 |  | | on request | | | 03089-6130884 | A | stainless steel | 1.4404 | nickel-plated | traffic red RAL 3020 | 8 | M16x1,5 | 33 | 68 | 26 | 10 | 23 | 8 | 19 | 2,3 | 15 | 35 |  | | on request | | | 03089-6141084 | A | stainless steel | 1.4404 | nickel-plated | traffic red RAL 3020 | 10 | M20x1,5 | 33 | 74 | 28 | 12 | 25 | 10 | 22 | 2,8 | 15 | 30 |  | | on request | | | 03089-6141284 | A | stainless steel | 1.4404 | nickel-plated | traffic red RAL 3020 | 12 | M20x1,5 | 33 | 78 | 28 | 14 | 25 | 12 | 22 | 2,8 | 15 | 39 |  | | on request | | | 03089-6151684 | A | stainless steel | 1.4404 | nickel-plated | traffic red RAL 3020 | 16 | M24x2 | 40 | 96 | 32 | 18 | 28 | 16 | 27 | 3,2 | 20 | 40 |  | | on request | | | 03089-71903 | A | stainless steel | 1.4404 | bright | black grey RAL 7021 | 3 | M6x0,75 | 14 | 31,5 | 12 | 5 | 10 | 3,5 | 8 | 0,8 | 3 | 6,5 |  | | on request | | | 03089-71004 | A | stainless steel | 1.4404 | bright | black grey RAL 7021 | 4 | M8x1 | 18 | 38,5 | 15 | 6 | 13 | 4 | 10 | 1 | 7 | 15,5 |  | | on request | | | 03089-71105 | A | stainless steel | 1.4404 | bright | black grey RAL 7021 | 5 | M10x1 | 21 | 43,5 | 17 | 7 | 15 | 5 | 13 | 1,3 | 4 | 12,5 |  | | on request | | | 03089-71206 | A | stainless steel | 1.4404 | bright | black grey RAL 7021 | 6 | M12x1,5 | 25 | 51,7 | 20 | 8 | 17 | 6 | 14 | 1,8 | 7 | 14,5 |  | | on request | | | 03089-71308 | A | stainless steel | 1.4404 | bright | black grey RAL 7021 | 8 | M16x1,5 | 33 | 68 | 26 | 10 | 23 | 8 | 19 | 2,3 | 15 | 35 |  | | on request | | | 03089-71410 | A | stainless steel | 1.4404 | bright | black grey RAL 7021 | 10 | M20x1,5 | 33 | 74 | 28 | 12 | 25 | 10 | 22 | 2,8 | 15 | 30 |  | | on request | | | 03089-71412 | A | stainless steel | 1.4404 | bright | black grey RAL 7021 | 12 | M20x1,5 | 33 | 78 | 28 | 14 | 25 | 12 | 22 | 2,8 | 15 | 39 |  | | on request | | | 03089-71516 | A | stainless steel | 1.4404 | bright | black grey RAL 7021 | 16 | M24x2 | 40 | 96 | 32 | 18 | 28 | 16 | 27 | 3,2 | 20 | 40 |  | | on request | | | 03089-7190384 | A | stainless steel | 1.4404 | bright | traffic red RAL 3020 | 3 | M6x0,75 | 14 | 31,5 | 12 | 5 | 10 | 3,5 | 8 | 0,8 | 3 | 6,5 |  | | on request | | | 03089-7100484 | A | stainless steel | 1.4404 | bright | traffic red RAL 3020 | 4 | M8x1 | 18 | 38,5 | 15 | 6 | 13 | 4 | 10 | 1 | 7 | 15,5 |  | | on request | | | 03089-7110584 | A | stainless steel | 1.4404 | bright | traffic red RAL 3020 | 5 | M10x1 | 21 | 43,5 | 17 | 7 | 15 | 5 | 13 | 1,3 | 4 | 12,5 |  | | on request | | | 03089-7120684 | A | stainless steel | 1.4404 | bright | traffic red RAL 3020 | 6 | M12x1,5 | 25 | 51,7 | 20 | 8 | 17 | 6 | 14 | 1,8 | 7 | 14,5 |  | | on request | | | 03089-7130884 | A | stainless steel | 1.4404 | bright | traffic red RAL 3020 | 8 | M16x1,5 | 33 | 68 | 26 | 10 | 23 | 8 | 19 | 2,3 | 15 | 35 |  | | on request | | | 03089-7141084 | A | stainless steel | 1.4404 | bright | traffic red RAL 3020 | 10 | M20x1,5 | 33 | 74 | 28 | 12 | 25 | 10 | 22 | 2,8 | 15 | 30 |  | | on request | | | 03089-7141284 | A | stainless steel | 1.4404 | bright | traffic red RAL 3020 | 12 | M20x1,5 | 33 | 78 | 28 | 14 | 25 | 12 | 22 | 2,8 | 15 | 39 |  | | on request | | | 03089-7151684 | A | stainless steel | 1.4404 | bright | traffic red RAL 3020 | 16 | M24x2 | 40 | 96 | 32 | 18 | 28 | 16 | 27 | 3,2 | 20 | 40 |  | | on request | |
|
Indexing plungers, steel or stainless steel with plastic mushroom grip and locknut |
More information |
| Order No. | Form | Main material | Steel code | Surface finish body | Component colour | D | D1 | D2 | L | L1 | L2 | L3 | Travel S | SW1 | SW2 | Fx30° | Spring force initial pressure F1 approx. N | Spring force final pressure F2 approx. N | CAD | Acc. | Price | Order |
|---|
| 03089-2903 | B | steel | - | hardened | black grey RAL 7021 | 3 | M6x0,75 | 14 | 31,5 | 12 | 5 | 10 | 3,5 | 8 | 10 | 0,8 | 4,5 | 10 |  | | on request | | | 03089-2004 | B | steel | - | hardened | black grey RAL 7021 | 4 | M8x1 | 18 | 38,5 | 15 | 6 | 13 | 4 | 10 | 13 | 1 | 6 | 12 |  |  | on request | | | 03089-2105 | B | steel | - | hardened | black grey RAL 7021 | 5 | M10x1 | 21 | 43,5 | 17 | 7 | 15 | 5 | 13 | 17 | 1,3 | 5 | 12 |  |  | on request | | | 03089-2206 | B | steel | - | hardened | black grey RAL 7021 | 6 | M12x1,5 | 25 | 51,7 | 20 | 8 | 17 | 6 | 14 | 19 | 1,8 | 6 | 14 |  |  | on request | | | 03089-2308 | B | steel | - | hardened | black grey RAL 7021 | 8 | M16x1,5 | 33 | 68 | 26 | 10 | 23 | 8 | 19 | 24 | 2,3 | 15 | 35 |  |  | on request | | | 03089-2410 | B | steel | - | hardened | black grey RAL 7021 | 10 | M20x1,5 | 33 | 74 | 28 | 12 | 25 | 10 | 22 | 30 | 2,8 | 15 | 34 |  | | on request | | | 03089-2412 | B | steel | - | hardened | black grey RAL 7021 | 12 | M20x1,5 | 33 | 78 | 28 | 14 | 25 | 12 | 22 | 30 | 2,8 | 15 | 39 |  | | on request | | | 03089-2516 | B | steel | - | hardened | black grey RAL 7021 | 16 | M24x2 | 40 | 96 | 32 | 18 | 28 | 16 | 27 | 36 | 3,2 | 20 | 46 |  | | on request | | | 03089-290384 | B | steel | - | hardened | traffic red RAL 3020 | 3 | M6x0,75 | 14 | 31,5 | 12 | 5 | 10 | 3,5 | 8 | 10 | 0,8 | 4,5 | 10 |  | | on request | | | 03089-200484 | B | steel | - | hardened | traffic red RAL 3020 | 4 | M8x1 | 18 | 38,5 | 15 | 6 | 13 | 4 | 10 | 13 | 1 | 6 | 12 |  | | on request | | | 03089-210584 | B | steel | - | hardened | traffic red RAL 3020 | 5 | M10x1 | 21 | 43,5 | 17 | 7 | 15 | 5 | 13 | 17 | 1,3 | 5 | 12 |  | | on request | | | 03089-220684 | B | steel | - | hardened | traffic red RAL 3020 | 6 | M12x1,5 | 25 | 51,7 | 20 | 8 | 17 | 6 | 14 | 19 | 1,8 | 6 | 14 |  | | on request | | | 03089-230884 | B | steel | - | hardened | traffic red RAL 3020 | 8 | M16x1,5 | 33 | 68 | 26 | 10 | 23 | 8 | 19 | 24 | 2,3 | 15 | 35 |  | | on request | | | 03089-241084 | B | steel | - | hardened | traffic red RAL 3020 | 10 | M20x1,5 | 33 | 74 | 28 | 12 | 25 | 10 | 22 | 30 | 2,8 | 15 | 34 |  | | on request | | | 03089-241284 | B | steel | - | hardened | traffic red RAL 3020 | 12 | M20x1,5 | 33 | 78 | 28 | 14 | 25 | 12 | 22 | 30 | 2,8 | 15 | 39 |  | | on request | | | 03089-251684 | B | steel | - | hardened | traffic red RAL 3020 | 16 | M24x2 | 40 | 96 | 32 | 18 | 28 | 16 | 27 | 36 | 3,2 | 20 | 46 |  | | on request | | | 03089-02903 | B | stainless steel | 1.4034 | hardened | black grey RAL 7021 | 3 | M6x0,75 | 14 | 31,5 | 12 | 5 | 10 | 3,5 | 8 | 10 | 0,8 | 4,5 | 10 |  | | on request | | | 03089-02004 | B | stainless steel | 1.4034 | hardened | black grey RAL 7021 | 4 | M8x1 | 18 | 38,5 | 15 | 6 | 13 | 4 | 10 | 13 | 1 | 6 | 12 |  |  | on request | | | 03089-02105 | B | stainless steel | 1.4034 | hardened | black grey RAL 7021 | 5 | M10x1 | 21 | 43,5 | 17 | 7 | 15 | 5 | 13 | 17 | 1,3 | 5 | 12 |  |  | on request | | | 03089-02206 | B | stainless steel | 1.4034 | hardened | black grey RAL 7021 | 6 | M12x1,5 | 25 | 51,7 | 20 | 8 | 17 | 6 | 14 | 19 | 1,8 | 6 | 14 |  |  | on request | | | 03089-02308 | B | stainless steel | 1.4034 | hardened | black grey RAL 7021 | 8 | M16x1,5 | 33 | 68 | 26 | 10 | 23 | 8 | 19 | 24 | 2,3 | 15 | 35 |  |  | on request | | | 03089-02410 | B | stainless steel | 1.4034 | hardened | black grey RAL 7021 | 10 | M20x1,5 | 33 | 74 | 28 | 12 | 25 | 10 | 22 | 30 | 2,8 | 15 | 34 |  | | on request | | | 03089-02412 | B | stainless steel | 1.4034 | hardened | black grey RAL 7021 | 12 | M20x1,5 | 33 | 78 | 28 | 14 | 25 | 12 | 22 | 30 | 2,8 | 15 | 39 |  | | on request | | | 03089-02516 | B | stainless steel | 1.4034 | hardened | black grey RAL 7021 | 16 | M24x2 | 40 | 96 | 32 | 18 | 28 | 16 | 27 | 36 | 3,2 | 20 | 46 |  | | on request | | | 03089-0290384 | B | stainless steel | 1.4034 | hardened | traffic red RAL 3020 | 3 | M6x0,75 | 14 | 31,5 | 12 | 5 | 10 | 3,5 | 8 | 10 | 0,8 | 4,5 | 10 |  | | on request | | | 03089-0200484 | B | stainless steel | 1.4034 | hardened | traffic red RAL 3020 | 4 | M8x1 | 18 | 38,5 | 15 | 6 | 13 | 4 | 10 | 13 | 1 | 6 | 12 |  | | on request | | | 03089-0210584 | B | stainless steel | 1.4034 | hardened | traffic red RAL 3020 | 5 | M10x1 | 21 | 43,5 | 17 | 7 | 15 | 5 | 13 | 17 | 1,3 | 5 | 12 |  | | on request | | | 03089-0220684 | B | stainless steel | 1.4034 | hardened | traffic red RAL 3020 | 6 | M12x1,5 | 25 | 51,7 | 20 | 8 | 17 | 6 | 14 | 19 | 1,8 | 6 | 14 |  | | on request | | | 03089-0230884 | B | stainless steel | 1.4034 | hardened | traffic red RAL 3020 | 8 | M16x1,5 | 33 | 68 | 26 | 10 | 23 | 8 | 19 | 24 | 2,3 | 15 | 35 |  | | on request | | | 03089-0241084 | B | stainless steel | 1.4034 | hardened | traffic red RAL 3020 | 10 | M20x1,5 | 33 | 74 | 28 | 12 | 25 | 10 | 22 | 30 | 2,8 | 15 | 34 |  | | on request | | | 03089-0241284 | B | stainless steel | 1.4034 | hardened | traffic red RAL 3020 | 12 | M20x1,5 | 33 | 78 | 28 | 14 | 25 | 12 | 22 | 30 | 2,8 | 15 | 39 |  | | on request | | | 03089-0251684 | B | stainless steel | 1.4034 | hardened | traffic red RAL 3020 | 16 | M24x2 | 40 | 96 | 32 | 18 | 28 | 16 | 27 | 36 | 3,2 | 20 | 46 |  | | on request | | | 03089-12903 | B | stainless steel | 1.4305 | not hardened | black grey RAL 7021 | 3 | M6x0,75 | 14 | 31,5 | 12 | 5 | 10 | 3,5 | 8 | 10 | 0,8 | 4,5 | 10 |  | | on request | | | 03089-12004 | B | stainless steel | 1.4305 | not hardened | black grey RAL 7021 | 4 | M8x1 | 18 | 38,5 | 15 | 6 | 13 | 4 | 10 | 13 | 1 | 6 | 12 |  |  | on request | | | 03089-12105 | B | stainless steel | 1.4305 | not hardened | black grey RAL 7021 | 5 | M10x1 | 21 | 43,5 | 17 | 7 | 15 | 5 | 13 | 17 | 1,3 | 5 | 12 |  |  | on request | | | 03089-12206 | B | stainless steel | 1.4305 | not hardened | black grey RAL 7021 | 6 | M12x1,5 | 25 | 51,7 | 20 | 8 | 17 | 6 | 14 | 19 | 1,8 | 6 | 14 |  |  | on request | | | 03089-12308 | B | stainless steel | 1.4305 | not hardened | black grey RAL 7021 | 8 | M16x1,5 | 33 | 68 | 26 | 10 | 23 | 8 | 19 | 24 | 2,3 | 15 | 35 |  |  | on request | | | 03089-12410 | B | stainless steel | 1.4305 | not hardened | black grey RAL 7021 | 10 | M20x1,5 | 33 | 74 | 28 | 12 | 25 | 10 | 22 | 30 | 2,8 | 15 | 34 |  | | on request | | | 03089-12412 | B | stainless steel | 1.4305 | not hardened | black grey RAL 7021 | 12 | M20x1,5 | 33 | 78 | 28 | 14 | 25 | 12 | 22 | 30 | 2,8 | 15 | 39 |  | | on request | | | 03089-12516 | B | stainless steel | 1.4305 | not hardened | black grey RAL 7021 | 16 | M24x2 | 40 | 96 | 32 | 18 | 28 | 16 | 27 | 36 | 3,2 | 20 | 46 |  | | on request | | | 03089-1290384 | B | stainless steel | 1.4305 | not hardened | traffic red RAL 3020 | 3 | M6x0,75 | 14 | 31,5 | 12 | 5 | 10 | 3,5 | 8 | 10 | 0,8 | 4,5 | 10 |  | | on request | | | 03089-1200484 | B | stainless steel | 1.4305 | not hardened | traffic red RAL 3020 | 4 | M8x1 | 18 | 38,5 | 15 | 6 | 13 | 4 | 10 | 13 | 1 | 6 | 12 |  | | on request | | | 03089-1210584 | B | stainless steel | 1.4305 | not hardened | traffic red RAL 3020 | 5 | M10x1 | 21 | 43,5 | 17 | 7 | 15 | 5 | 13 | 17 | 1,3 | 5 | 12 |  | | on request | | | 03089-1220684 | B | stainless steel | 1.4305 | not hardened | traffic red RAL 3020 | 6 | M12x1,5 | 25 | 51,7 | 20 | 8 | 17 | 6 | 14 | 19 | 1,8 | 6 | 14 |  | | on request | | | 03089-1230884 | B | stainless steel | 1.4305 | not hardened | traffic red RAL 3020 | 8 | M16x1,5 | 33 | 68 | 26 | 10 | 23 | 8 | 19 | 24 | 2,3 | 15 | 35 |  | | on request | | | 03089-1241084 | B | stainless steel | 1.4305 | not hardened | traffic red RAL 3020 | 10 | M20x1,5 | 33 | 74 | 28 | 12 | 25 | 10 | 22 | 30 | 2,8 | 15 | 34 |  | | on request | | | 03089-1241284 | B | stainless steel | 1.4305 | not hardened | traffic red RAL 3020 | 12 | M20x1,5 | 33 | 78 | 28 | 14 | 25 | 12 | 22 | 30 | 2,8 | 15 | 39 |  | | on request | | | 03089-1251684 | B | stainless steel | 1.4305 | not hardened | traffic red RAL 3020 | 16 | M24x2 | 40 | 96 | 32 | 18 | 28 | 16 | 27 | 36 | 3,2 | 20 | 46 |  | | on request | | | 03089-62903 | B | stainless steel | 1.4404 | nickel-plated | black grey RAL 7021 | 3 | M6x0,75 | 14 | 31,5 | 12 | 5 | 10 | 3,5 | 8 | 10 | 0,8 | 3 | 6,5 |  | | on request | | | 03089-62004 | B | stainless steel | 1.4404 | nickel-plated | black grey RAL 7021 | 4 | M8x1 | 18 | 38,5 | 15 | 6 | 13 | 4 | 10 | 13 | 1 | 7 | 15,5 |  | | on request | | | 03089-62105 | B | stainless steel | 1.4404 | nickel-plated | black grey RAL 7021 | 5 | M10x1 | 21 | 43,5 | 17 | 7 | 15 | 5 | 13 | 17 | 1,3 | 4 | 12,5 |  | | on request | | | 03089-62206 | B | stainless steel | 1.4404 | nickel-plated | black grey RAL 7021 | 6 | M12x1,5 | 25 | 51,7 | 20 | 8 | 17 | 6 | 14 | 19 | 1,8 | 7 | 14,5 |  | | on request | | | 03089-62308 | B | stainless steel | 1.4404 | nickel-plated | black grey RAL 7021 | 8 | M16x1,5 | 33 | 68 | 26 | 10 | 23 | 8 | 19 | 24 | 2,3 | 15 | 35 |  | | on request | | | 03089-62410 | B | stainless steel | 1.4404 | nickel-plated | black grey RAL 7021 | 10 | M20x1,5 | 33 | 74 | 28 | 12 | 25 | 10 | 22 | 30 | 2,8 | 15 | 30 |  | | on request | | | 03089-62412 | B | stainless steel | 1.4404 | nickel-plated | black grey RAL 7021 | 12 | M20x1,5 | 33 | 78 | 28 | 14 | 25 | 12 | 22 | 30 | 2,8 | 15 | 39 |  | | on request | | | 03089-62516 | B | stainless steel | 1.4404 | nickel-plated | black grey RAL 7021 | 16 | M24x2 | 40 | 96 | 32 | 18 | 28 | 16 | 27 | 36 | 3,2 | 20 | 40 |  | | on request | | | 03089-6290384 | B | stainless steel | 1.4404 | nickel-plated | traffic red RAL 3020 | 3 | M6x0,75 | 14 | 31,5 | 12 | 5 | 10 | 3,5 | 8 | 10 | 0,8 | 3 | 6,5 |  | | on request | | | 03089-6200484 | B | stainless steel | 1.4404 | nickel-plated | traffic red RAL 3020 | 4 | M8x1 | 18 | 38,5 | 15 | 6 | 13 | 4 | 10 | 13 | 1 | 7 | 15,5 |  | | on request | | | 03089-6210584 | B | stainless steel | 1.4404 | nickel-plated | traffic red RAL 3020 | 5 | M10x1 | 21 | 43,5 | 17 | 7 | 15 | 5 | 13 | 17 | 1,3 | 4 | 12,5 |  | | on request | | | 03089-6220684 | B | stainless steel | 1.4404 | nickel-plated | traffic red RAL 3020 | 6 | M12x1,5 | 25 | 51,7 | 20 | 8 | 17 | 6 | 14 | 19 | 1,8 | 7 | 14,5 |  | | on request | | | 03089-6230884 | B | stainless steel | 1.4404 | nickel-plated | traffic red RAL 3020 | 8 | M16x1,5 | 33 | 68 | 26 | 10 | 23 | 8 | 19 | 24 | 2,3 | 15 | 35 |  | | on request | | | 03089-6241084 | B | stainless steel | 1.4404 | nickel-plated | traffic red RAL 3020 | 10 | M20x1,5 | 33 | 74 | 28 | 12 | 25 | 10 | 22 | 30 | 2,8 | 15 | 30 |  | | on request | | | 03089-6241284 | B | stainless steel | 1.4404 | nickel-plated | traffic red RAL 3020 | 12 | M20x1,5 | 33 | 78 | 28 | 14 | 25 | 12 | 22 | 30 | 2,8 | 15 | 39 |  | | on request | | | 03089-6251684 | B | stainless steel | 1.4404 | nickel-plated | traffic red RAL 3020 | 16 | M24x2 | 40 | 96 | 32 | 18 | 28 | 16 | 27 | 36 | 3,2 | 20 | 40 |  | | on request | | | 03089-72903 | B | stainless steel | 1.4404 | bright | black grey RAL 7021 | 3 | M6x0,75 | 14 | 31,5 | 12 | 5 | 10 | 3,5 | 8 | 10 | 0,8 | 3 | 6,5 |  | | on request | | | 03089-72004 | B | stainless steel | 1.4404 | bright | black grey RAL 7021 | 4 | M8x1 | 18 | 38,5 | 15 | 6 | 13 | 4 | 10 | 13 | 1 | 7 | 15,5 |  | | on request | | | 03089-72105 | B | stainless steel | 1.4404 | bright | black grey RAL 7021 | 5 | M10x1 | 21 | 43,5 | 17 | 7 | 15 | 5 | 13 | 17 | 1,3 | 4 | 12,5 |  | | on request | | | 03089-72206 | B | stainless steel | 1.4404 | bright | black grey RAL 7021 | 6 | M12x1,5 | 25 | 51,7 | 20 | 8 | 17 | 6 | 14 | 19 | 1,8 | 7 | 14,5 |  | | on request | | | 03089-72308 | B | stainless steel | 1.4404 | bright | black grey RAL 7021 | 8 | M16x1,5 | 33 | 68 | 26 | 10 | 23 | 8 | 19 | 24 | 2,3 | 15 | 35 |  | | on request | | | 03089-72410 | B | stainless steel | 1.4404 | bright | black grey RAL 7021 | 10 | M20x1,5 | 33 | 74 | 28 | 12 | 25 | 10 | 22 | 30 | 2,8 | 15 | 30 |  | | on request | | | 03089-72412 | B | stainless steel | 1.4404 | bright | black grey RAL 7021 | 12 | M20x1,5 | 33 | 78 | 28 | 14 | 25 | 12 | 22 | 30 | 2,8 | 15 | 39 |  | | on request | | | 03089-72516 | B | stainless steel | 1.4404 | bright | black grey RAL 7021 | 16 | M24x2 | 40 | 96 | 32 | 18 | 28 | 16 | 27 | 36 | 3,2 | 20 | 40 |  | | on request | | | 03089-7290384 | B | stainless steel | 1.4404 | bright | traffic red RAL 3020 | 3 | M6x0,75 | 14 | 31,5 | 12 | 5 | 10 | 3,5 | 8 | 10 | 0,8 | 3 | 6,5 |  | | on request | | | 03089-7200484 | B | stainless steel | 1.4404 | bright | traffic red RAL 3020 | 4 | M8x1 | 18 | 38,5 | 15 | 6 | 13 | 4 | 10 | 13 | 1 | 7 | 15,5 |  | | on request | | | 03089-7210584 | B | stainless steel | 1.4404 | bright | traffic red RAL 3020 | 5 | M10x1 | 21 | 43,5 | 17 | 7 | 15 | 5 | 13 | 17 | 1,3 | 4 | 12,5 |  | | on request | | | 03089-7220684 | B | stainless steel | 1.4404 | bright | traffic red RAL 3020 | 6 | M12x1,5 | 25 | 51,7 | 20 | 8 | 17 | 6 | 14 | 19 | 1,8 | 7 | 14,5 |  | | on request | | | 03089-7230884 | B | stainless steel | 1.4404 | bright | traffic red RAL 3020 | 8 | M16x1,5 | 33 | 68 | 26 | 10 | 23 | 8 | 19 | 24 | 2,3 | 15 | 35 |  | | on request | | | 03089-7241084 | B | stainless steel | 1.4404 | bright | traffic red RAL 3020 | 10 | M20x1,5 | 33 | 74 | 28 | 12 | 25 | 10 | 22 | 30 | 2,8 | 15 | 30 |  | | on request | | | 03089-7241284 | B | stainless steel | 1.4404 | bright | traffic red RAL 3020 | 12 | M20x1,5 | 33 | 78 | 28 | 14 | 25 | 12 | 22 | 30 | 2,8 | 15 | 39 |  | | on request | | | 03089-7251684 | B | stainless steel | 1.4404 | bright | traffic red RAL 3020 | 16 | M24x2 | 40 | 96 | 32 | 18 | 28 | 16 | 27 | 36 | 3,2 | 20 | 40 |  | | on request | |
|
Indexing plungers, steel or stainless steel with plastic mushroom grip and locking slot |
More information |
| Order No. | Form | Main material | Steel code | Surface finish body | Component colour | D | D1 | D2 | L | L1 | L2 | L3 | Travel S | SW1 | Fx30° | Spring force initial pressure F1 approx. N | Spring force final pressure F2 approx. N | CAD | Acc. | Price | Order |
|---|
| 03089-3903 | C | steel | - | hardened | black grey RAL 7021 | 3 | M6x0,75 | 14 | 31,5 | 12 | 5 | 10 | 3,5 | 8 | 0,8 | 4,5 | 10 |  | | on request | | | 03089-3004 | C | steel | - | hardened | black grey RAL 7021 | 4 | M8x1 | 18 | 38,5 | 15 | 6 | 13 | 4 | 10 | 1 | 6 | 12 |  |  | on request | | | 03089-3105 | C | steel | - | hardened | black grey RAL 7021 | 5 | M10x1 | 21 | 43,5 | 17 | 7 | 15 | 5 | 13 | 1,3 | 5 | 12 |  |  | on request | | | 03089-3206 | C | steel | - | hardened | black grey RAL 7021 | 6 | M12x1,5 | 25 | 51,7 | 20 | 8 | 17 | 6 | 14 | 1,8 | 6 | 14 |  |  | on request | | | 03089-3308 | C | steel | - | hardened | black grey RAL 7021 | 8 | M16x1,5 | 33 | 68 | 26 | 10 | 23 | 8 | 19 | 2,3 | 15 | 35 |  |  | on request | | | 03089-3410 | C | steel | - | hardened | black grey RAL 7021 | 10 | M20x1,5 | 33 | 74 | 28 | 12 | 25 | 10 | 22 | 2,8 | 15 | 34 |  | | on request | | | 03089-3412 | C | steel | - | hardened | black grey RAL 7021 | 12 | M20x1,5 | 33 | 78 | 28 | 14 | 25 | 12 | 22 | 2,8 | 15 | 39 |  | | on request | | | 03089-3516 | C | steel | - | hardened | black grey RAL 7021 | 16 | M24x2 | 40 | 96 | 32 | 18 | 28 | 16 | 27 | 3,2 | 20 | 46 |  | | on request | | | 03089-390384 | C | steel | - | hardened | traffic red RAL 3020 | 3 | M6x0,75 | 14 | 31,5 | 12 | 5 | 10 | 3,5 | 8 | 0,8 | 4,5 | 10 |  | | on request | | | 03089-300484 | C | steel | - | hardened | traffic red RAL 3020 | 4 | M8x1 | 18 | 38,5 | 15 | 6 | 13 | 4 | 10 | 1 | 6 | 12 |  | | on request | | | 03089-310584 | C | steel | - | hardened | traffic red RAL 3020 | 5 | M10x1 | 21 | 43,5 | 17 | 7 | 15 | 5 | 13 | 1,3 | 5 | 12 |  | | on request | | | 03089-320684 | C | steel | - | hardened | traffic red RAL 3020 | 6 | M12x1,5 | 25 | 51,7 | 20 | 8 | 17 | 6 | 14 | 1,8 | 6 | 14 |  | | on request | | | 03089-330884 | C | steel | - | hardened | traffic red RAL 3020 | 8 | M16x1,5 | 33 | 68 | 26 | 10 | 23 | 8 | 19 | 2,3 | 15 | 35 |  | | on request | | | 03089-341084 | C | steel | - | hardened | traffic red RAL 3020 | 10 | M20x1,5 | 33 | 74 | 28 | 12 | 25 | 10 | 22 | 2,8 | 15 | 34 |  | | on request | | | 03089-341284 | C | steel | - | hardened | traffic red RAL 3020 | 12 | M20x1,5 | 33 | 78 | 28 | 14 | 25 | 12 | 22 | 2,8 | 15 | 39 |  | | on request | | | 03089-351684 | C | steel | - | hardened | traffic red RAL 3020 | 16 | M24x2 | 40 | 96 | 32 | 18 | 28 | 16 | 27 | 3,2 | 20 | 46 |  | | on request | | | 03089-03903 | C | stainless steel | 1.4034 | hardened | black grey RAL 7021 | 3 | M6x0,75 | 14 | 31,5 | 12 | 5 | 10 | 3,5 | 8 | 0,8 | 4,5 | 10 |  | | on request | | | 03089-03004 | C | stainless steel | 1.4034 | hardened | black grey RAL 7021 | 4 | M8x1 | 18 | 38,5 | 15 | 6 | 13 | 4 | 10 | 1 | 6 | 12 |  |  | on request | | | 03089-03105 | C | stainless steel | 1.4034 | hardened | black grey RAL 7021 | 5 | M10x1 | 21 | 43,5 | 17 | 7 | 15 | 5 | 13 | 1,3 | 5 | 12 |  |  | on request | | | 03089-03206 | C | stainless steel | 1.4034 | hardened | black grey RAL 7021 | 6 | M12x1,5 | 25 | 51,7 | 20 | 8 | 17 | 6 | 14 | 1,8 | 6 | 14 |  |  | on request | | | 03089-03308 | C | stainless steel | 1.4034 | hardened | black grey RAL 7021 | 8 | M16x1,5 | 33 | 68 | 26 | 10 | 23 | 8 | 19 | 2,3 | 15 | 35 |  |  | on request | | | 03089-03410 | C | stainless steel | 1.4034 | hardened | black grey RAL 7021 | 10 | M20x1,5 | 33 | 74 | 28 | 12 | 25 | 10 | 22 | 2,8 | 15 | 34 |  | | on request | | | 03089-03412 | C | stainless steel | 1.4034 | hardened | black grey RAL 7021 | 12 | M20x1,5 | 33 | 78 | 28 | 14 | 25 | 12 | 22 | 2,8 | 15 | 39 |  | | on request | | | 03089-03516 | C | stainless steel | 1.4034 | hardened | black grey RAL 7021 | 16 | M24x2 | 40 | 96 | 32 | 18 | 28 | 16 | 27 | 3,2 | 20 | 46 |  | | on request | | | 03089-0390384 | C | stainless steel | 1.4034 | hardened | traffic red RAL 3020 | 3 | M6x0,75 | 14 | 31,5 | 12 | 5 | 10 | 3,5 | 8 | 0,8 | 4,5 | 10 |  | | on request | | | 03089-0300484 | C | stainless steel | 1.4034 | hardened | traffic red RAL 3020 | 4 | M8x1 | 18 | 38,5 | 15 | 6 | 13 | 4 | 10 | 1 | 6 | 12 |  | | on request | | | 03089-0310584 | C | stainless steel | 1.4034 | hardened | traffic red RAL 3020 | 5 | M10x1 | 21 | 43,5 | 17 | 7 | 15 | 5 | 13 | 1,3 | 5 | 12 |  | | on request | | | 03089-0320684 | C | stainless steel | 1.4034 | hardened | traffic red RAL 3020 | 6 | M12x1,5 | 25 | 51,7 | 20 | 8 | 17 | 6 | 14 | 1,8 | 6 | 14 |  | | on request | | | 03089-0330884 | C | stainless steel | 1.4034 | hardened | traffic red RAL 3020 | 8 | M16x1,5 | 33 | 68 | 26 | 10 | 23 | 8 | 19 | 2,3 | 15 | 35 |  | | on request | | | 03089-0341084 | C | stainless steel | 1.4034 | hardened | traffic red RAL 3020 | 10 | M20x1,5 | 33 | 74 | 28 | 12 | 25 | 10 | 22 | 2,8 | 15 | 34 |  | | on request | | | 03089-0341284 | C | stainless steel | 1.4034 | hardened | traffic red RAL 3020 | 12 | M20x1,5 | 33 | 78 | 28 | 14 | 25 | 12 | 22 | 2,8 | 15 | 39 |  | | on request | | | 03089-0351684 | C | stainless steel | 1.4034 | hardened | traffic red RAL 3020 | 16 | M24x2 | 40 | 96 | 32 | 18 | 28 | 16 | 27 | 3,2 | 20 | 46 |  | | on request | | | 03089-13903 | C | stainless steel | 1.4305 | not hardened | black grey RAL 7021 | 3 | M6x0,75 | 14 | 31,5 | 12 | 5 | 10 | 3,5 | 8 | 0,8 | 4,5 | 10 |  | | on request | | | 03089-13004 | C | stainless steel | 1.4305 | not hardened | black grey RAL 7021 | 4 | M8x1 | 18 | 38,5 | 15 | 6 | 13 | 4 | 10 | 1 | 6 | 12 |  |  | on request | | | 03089-13105 | C | stainless steel | 1.4305 | not hardened | black grey RAL 7021 | 5 | M10x1 | 21 | 43,5 | 17 | 7 | 15 | 5 | 13 | 1,3 | 5 | 12 |  |  | on request | | | 03089-13206 | C | stainless steel | 1.4305 | not hardened | black grey RAL 7021 | 6 | M12x1,5 | 25 | 51,7 | 20 | 8 | 17 | 6 | 14 | 1,8 | 6 | 14 |  |  | on request | | | 03089-13308 | C | stainless steel | 1.4305 | not hardened | black grey RAL 7021 | 8 | M16x1,5 | 33 | 68 | 26 | 10 | 23 | 8 | 19 | 2,3 | 15 | 35 |  |  | on request | | | 03089-13410 | C | stainless steel | 1.4305 | not hardened | black grey RAL 7021 | 10 | M20x1,5 | 33 | 74 | 28 | 12 | 25 | 10 | 22 | 2,8 | 15 | 34 |  | | on request | | | 03089-13412 | C | stainless steel | 1.4305 | not hardened | black grey RAL 7021 | 12 | M20x1,5 | 33 | 78 | 28 | 14 | 25 | 12 | 22 | 2,8 | 15 | 39 |  | | on request | | | 03089-13516 | C | stainless steel | 1.4305 | not hardened | black grey RAL 7021 | 16 | M24x2 | 40 | 96 | 32 | 18 | 28 | 16 | 27 | 3,2 | 20 | 46 |  | | on request | | | 03089-1390384 | C | stainless steel | 1.4305 | not hardened | traffic red RAL 3020 | 3 | M6x0,75 | 14 | 31,5 | 12 | 5 | 10 | 3,5 | 8 | 0,8 | 4,5 | 10 |  | | on request | | | 03089-1300484 | C | stainless steel | 1.4305 | not hardened | traffic red RAL 3020 | 4 | M8x1 | 18 | 38,5 | 15 | 6 | 13 | 4 | 10 | 1 | 6 | 12 |  | | on request | | | 03089-1310584 | C | stainless steel | 1.4305 | not hardened | traffic red RAL 3020 | 5 | M10x1 | 21 | 43,5 | 17 | 7 | 15 | 5 | 13 | 1,3 | 5 | 12 |  | | on request | | | 03089-1320684 | C | stainless steel | 1.4305 | not hardened | traffic red RAL 3020 | 6 | M12x1,5 | 25 | 51,7 | 20 | 8 | 17 | 6 | 14 | 1,8 | 6 | 14 |  | | on request | | | 03089-1330884 | C | stainless steel | 1.4305 | not hardened | traffic red RAL 3020 | 8 | M16x1,5 | 33 | 68 | 26 | 10 | 23 | 8 | 19 | 2,3 | 15 | 35 |  | | on request | | | 03089-1341084 | C | stainless steel | 1.4305 | not hardened | traffic red RAL 3020 | 10 | M20x1,5 | 33 | 74 | 28 | 12 | 25 | 10 | 22 | 2,8 | 15 | 34 |  | | on request | | | 03089-1341284 | C | stainless steel | 1.4305 | not hardened | traffic red RAL 3020 | 12 | M20x1,5 | 33 | 78 | 28 | 14 | 25 | 12 | 22 | 2,8 | 15 | 39 |  | | on request | | | 03089-1351684 | C | stainless steel | 1.4305 | not hardened | traffic red RAL 3020 | 16 | M24x2 | 40 | 96 | 32 | 18 | 28 | 16 | 27 | 3,2 | 20 | 46 |  | | on request | | | 03089-63903 | C | stainless steel | 1.4404 | nickel-plated | black grey RAL 7021 | 3 | M6x0,75 | 14 | 31,5 | 12 | 5 | 10 | 3,5 | 8 | 0,8 | 3 | 6,5 |  | | on request | | | 03089-63004 | C | stainless steel | 1.4404 | nickel-plated | black grey RAL 7021 | 4 | M8x1 | 18 | 38,5 | 15 | 6 | 13 | 4 | 10 | 1 | 7 | 15,5 |  | | on request | | | 03089-63105 | C | stainless steel | 1.4404 | nickel-plated | black grey RAL 7021 | 5 | M10x1 | 21 | 43,5 | 17 | 7 | 15 | 5 | 13 | 1,3 | 4 | 12,5 |  | | on request | | | 03089-63206 | C | stainless steel | 1.4404 | nickel-plated | black grey RAL 7021 | 6 | M12x1,5 | 25 | 51,7 | 20 | 8 | 17 | 6 | 14 | 1,8 | 7 | 14,5 |  | | on request | | | 03089-63308 | C | stainless steel | 1.4404 | nickel-plated | black grey RAL 7021 | 8 | M16x1,5 | 33 | 68 | 26 | 10 | 23 | 8 | 19 | 2,3 | 15 | 35 |  | | on request | | | 03089-63410 | C | stainless steel | 1.4404 | nickel-plated | black grey RAL 7021 | 10 | M20x1,5 | 33 | 74 | 28 | 12 | 25 | 10 | 22 | 2,8 | 15 | 30 |  | | on request | | | 03089-63412 | C | stainless steel | 1.4404 | nickel-plated | black grey RAL 7021 | 12 | M20x1,5 | 33 | 78 | 28 | 14 | 25 | 12 | 22 | 2,8 | 15 | 39 |  | | on request | | | 03089-63516 | C | stainless steel | 1.4404 | nickel-plated | black grey RAL 7021 | 16 | M24x2 | 40 | 96 | 32 | 18 | 28 | 16 | 27 | 3,2 | 20 | 40 |  | | on request | | | 03089-6390384 | C | stainless steel | 1.4404 | nickel-plated | traffic red RAL 3020 | 3 | M6x0,75 | 14 | 31,5 | 12 | 5 | 10 | 3,5 | 8 | 0,8 | 3 | 6,5 |  | | on request | | | 03089-6300484 | C | stainless steel | 1.4404 | nickel-plated | traffic red RAL 3020 | 4 | M8x1 | 18 | 38,5 | 15 | 6 | 13 | 4 | 10 | 1 | 7 | 15,5 |  | | on request | | | 03089-6310584 | C | stainless steel | 1.4404 | nickel-plated | traffic red RAL 3020 | 5 | M10x1 | 21 | 43,5 | 17 | 7 | 15 | 5 | 13 | 1,3 | 4 | 12,5 |  | | on request | | | 03089-6320684 | C | stainless steel | 1.4404 | nickel-plated | traffic red RAL 3020 | 6 | M12x1,5 | 25 | 51,7 | 20 | 8 | 17 | 6 | 14 | 1,8 | 7 | 14,5 |  | | on request | | | 03089-6330884 | C | stainless steel | 1.4404 | nickel-plated | traffic red RAL 3020 | 8 | M16x1,5 | 33 | 68 | 26 | 10 | 23 | 8 | 19 | 2,3 | 15 | 35 |  | | on request | | | 03089-6341084 | C | stainless steel | 1.4404 | nickel-plated | traffic red RAL 3020 | 10 | M20x1,5 | 33 | 74 | 28 | 12 | 25 | 10 | 22 | 2,8 | 15 | 30 |  | | on request | | | 03089-6341284 | C | stainless steel | 1.4404 | nickel-plated | traffic red RAL 3020 | 12 | M20x1,5 | 33 | 78 | 28 | 14 | 25 | 12 | 22 | 2,8 | 15 | 39 |  | | on request | | | 03089-6351684 | C | stainless steel | 1.4404 | nickel-plated | traffic red RAL 3020 | 16 | M24x2 | 40 | 96 | 32 | 18 | 28 | 16 | 27 | 3,2 | 20 | 40 |  | | on request | | | 03089-73903 | C | stainless steel | 1.4404 | bright | black grey RAL 7021 | 3 | M6x0,75 | 14 | 31,5 | 12 | 5 | 10 | 3,5 | 8 | 0,8 | 3 | 6,5 |  | | on request | | | 03089-73004 | C | stainless steel | 1.4404 | bright | black grey RAL 7021 | 4 | M8x1 | 18 | 38,5 | 15 | 6 | 13 | 4 | 10 | 1 | 7 | 15,5 |  | | on request | | | 03089-73105 | C | stainless steel | 1.4404 | bright | black grey RAL 7021 | 5 | M10x1 | 21 | 43,5 | 17 | 7 | 15 | 5 | 13 | 1,3 | 4 | 12,5 |  | | on request | | | 03089-73206 | C | stainless steel | 1.4404 | bright | black grey RAL 7021 | 6 | M12x1,5 | 25 | 51,7 | 20 | 8 | 17 | 6 | 14 | 1,8 | 7 | 14,5 |  | | on request | | | 03089-73308 | C | stainless steel | 1.4404 | bright | black grey RAL 7021 | 8 | M16x1,5 | 33 | 68 | 26 | 10 | 23 | 8 | 19 | 2,3 | 15 | 35 |  | | on request | | | 03089-73410 | C | stainless steel | 1.4404 | bright | black grey RAL 7021 | 10 | M20x1,5 | 33 | 74 | 28 | 12 | 25 | 10 | 22 | 2,8 | 15 | 30 |  | | on request | | | 03089-73412 | C | stainless steel | 1.4404 | bright | black grey RAL 7021 | 12 | M20x1,5 | 33 | 78 | 28 | 14 | 25 | 12 | 22 | 2,8 | 15 | 39 |  | | on request | | | 03089-73516 | C | stainless steel | 1.4404 | bright | black grey RAL 7021 | 16 | M24x2 | 40 | 96 | 32 | 18 | 28 | 16 | 27 | 3,2 | 20 | 40 |  | | on request | | | 03089-7390384 | C | stainless steel | 1.4404 | bright | traffic red RAL 3020 | 3 | M6x0,75 | 14 | 31,5 | 12 | 5 | 10 | 3,5 | 8 | 0,8 | 3 | 6,5 |  | | on request | | | 03089-7300484 | C | stainless steel | 1.4404 | bright | traffic red RAL 3020 | 4 | M8x1 | 18 | 38,5 | 15 | 6 | 13 | 4 | 10 | 1 | 7 | 15,5 |  | | on request | | | 03089-7310584 | C | stainless steel | 1.4404 | bright | traffic red RAL 3020 | 5 | M10x1 | 21 | 43,5 | 17 | 7 | 15 | 5 | 13 | 1,3 | 4 | 12,5 |  | | on request | | | 03089-7320684 | C | stainless steel | 1.4404 | bright | traffic red RAL 3020 | 6 | M12x1,5 | 25 | 51,7 | 20 | 8 | 17 | 6 | 14 | 1,8 | 7 | 14,5 |  | | on request | | | 03089-7330884 | C | stainless steel | 1.4404 | bright | traffic red RAL 3020 | 8 | M16x1,5 | 33 | 68 | 26 | 10 | 23 | 8 | 19 | 2,3 | 15 | 35 |  | | on request | | | 03089-7341084 | C | stainless steel | 1.4404 | bright | traffic red RAL 3020 | 10 | M20x1,5 | 33 | 74 | 28 | 12 | 25 | 10 | 22 | 2,8 | 15 | 30 |  | | on request | | | 03089-7341284 | C | stainless steel | 1.4404 | bright | traffic red RAL 3020 | 12 | M20x1,5 | 33 | 78 | 28 | 14 | 25 | 12 | 22 | 2,8 | 15 | 39 |  | | on request | | | 03089-7351684 | C | stainless steel | 1.4404 | bright | traffic red RAL 3020 | 16 | M24x2 | 40 | 96 | 32 | 18 | 28 | 16 | 27 | 3,2 | 20 | 40 |  | | on request | |
|
Indexing plungers, steel or stainless steel with plastic mushroom grip, locking slot and locknut |
More information |
| Order No. | Form | Main material | Steel code | Surface finish body | Component colour | D | D1 | D2 | L | L1 | L2 | L3 | Travel S | SW1 | SW2 | Fx30° | Spring force initial pressure F1 approx. N | Spring force final pressure F2 approx. N | CAD | Acc. | Price | Order |
|---|
| 03089-4903 | D | steel | - | hardened | black grey RAL 7021 | 3 | M6x0,75 | 14 | 31,5 | 12 | 5 | 10 | 3,5 | 8 | 10 | 0,8 | 4,5 | 10 |  | | on request | | | 03089-4004 | D | steel | - | hardened | black grey RAL 7021 | 4 | M8x1 | 18 | 38,5 | 15 | 6 | 13 | 4 | 10 | 13 | 1 | 6 | 12 |  |  | on request | | | 03089-4105 | D | steel | - | hardened | black grey RAL 7021 | 5 | M10x1 | 21 | 43,5 | 17 | 7 | 15 | 5 | 13 | 17 | 1,3 | 5 | 12 |  |  | on request | | | 03089-4206 | D | steel | - | hardened | black grey RAL 7021 | 6 | M12x1,5 | 25 | 51,7 | 20 | 8 | 17 | 6 | 14 | 19 | 1,8 | 6 | 14 |  |  | on request | | | 03089-4308 | D | steel | - | hardened | black grey RAL 7021 | 8 | M16x1,5 | 33 | 68 | 26 | 10 | 23 | 8 | 19 | 24 | 2,3 | 15 | 35 |  |  | on request | | | 03089-4410 | D | steel | - | hardened | black grey RAL 7021 | 10 | M20x1,5 | 33 | 74 | 28 | 12 | 25 | 10 | 22 | 30 | 2,8 | 15 | 34 |  | | on request | | | 03089-4412 | D | steel | - | hardened | black grey RAL 7021 | 12 | M20x1,5 | 33 | 78 | 28 | 14 | 25 | 12 | 22 | 30 | 2,8 | 15 | 39 |  | | on request | | | 03089-4516 | D | steel | - | hardened | black grey RAL 7021 | 16 | M24x2 | 40 | 96 | 32 | 18 | 28 | 16 | 27 | 36 | 3,2 | 20 | 46 |  | | on request | | | 03089-490384 | D | steel | - | hardened | traffic red RAL 3020 | 3 | M6x0,75 | 14 | 31,5 | 12 | 5 | 10 | 3,5 | 8 | 10 | 0,8 | 4,5 | 10 |  | | on request | | | 03089-400484 | D | steel | - | hardened | traffic red RAL 3020 | 4 | M8x1 | 18 | 38,5 | 15 | 6 | 13 | 4 | 10 | 13 | 1 | 6 | 12 |  | | on request | | | 03089-410584 | D | steel | - | hardened | traffic red RAL 3020 | 5 | M10x1 | 21 | 43,5 | 17 | 7 | 15 | 5 | 13 | 17 | 1,3 | 5 | 12 |  | | on request | | | 03089-420684 | D | steel | - | hardened | traffic red RAL 3020 | 6 | M12x1,5 | 25 | 51,7 | 20 | 8 | 17 | 6 | 14 | 19 | 1,8 | 6 | 14 |  | | on request | | | 03089-430884 | D | steel | - | hardened | traffic red RAL 3020 | 8 | M16x1,5 | 33 | 68 | 26 | 10 | 23 | 8 | 19 | 24 | 2,3 | 15 | 35 |  | | on request | | | 03089-441084 | D | steel | - | hardened | traffic red RAL 3020 | 10 | M20x1,5 | 33 | 74 | 28 | 12 | 25 | 10 | 22 | 30 | 2,8 | 15 | 34 |  | | on request | | | 03089-441284 | D | steel | - | hardened | traffic red RAL 3020 | 12 | M20x1,5 | 33 | 78 | 28 | 14 | 25 | 12 | 22 | 30 | 2,8 | 15 | 39 |  | | on request | | | 03089-451684 | D | steel | - | hardened | traffic red RAL 3020 | 16 | M24x2 | 40 | 96 | 32 | 18 | 28 | 16 | 27 | 36 | 3,2 | 20 | 46 |  | | on request | | | 03089-04903 | D | stainless steel | 1.4034 | hardened | black grey RAL 7021 | 3 | M6x0,75 | 14 | 31,5 | 12 | 5 | 10 | 3,5 | 8 | 10 | 0,8 | 4,5 | 10 |  | | on request | | | 03089-04004 | D | stainless steel | 1.4034 | hardened | black grey RAL 7021 | 4 | M8x1 | 18 | 38,5 | 15 | 6 | 13 | 4 | 10 | 13 | 1 | 6 | 12 |  |  | on request | | | 03089-04105 | D | stainless steel | 1.4034 | hardened | black grey RAL 7021 | 5 | M10x1 | 21 | 43,5 | 17 | 7 | 15 | 5 | 13 | 17 | 1,3 | 5 | 12 |  |  | on request | | | 03089-04206 | D | stainless steel | 1.4034 | hardened | black grey RAL 7021 | 6 | M12x1,5 | 25 | 51,7 | 20 | 8 | 17 | 6 | 14 | 19 | 1,8 | 6 | 14 |  |  | on request | | | 03089-04308 | D | stainless steel | 1.4034 | hardened | black grey RAL 7021 | 8 | M16x1,5 | 33 | 68 | 26 | 10 | 23 | 8 | 19 | 24 | 2,3 | 15 | 35 |  |  | on request | | | 03089-04410 | D | stainless steel | 1.4034 | hardened | black grey RAL 7021 | 10 | M20x1,5 | 33 | 74 | 28 | 12 | 25 | 10 | 22 | 30 | 2,8 | 15 | 34 |  | | on request | | | 03089-04412 | D | stainless steel | 1.4034 | hardened | black grey RAL 7021 | 12 | M20x1,5 | 33 | 78 | 28 | 14 | 25 | 12 | 22 | 30 | 2,8 | 15 | 39 |  | | on request | | | 03089-04516 | D | stainless steel | 1.4034 | hardened | black grey RAL 7021 | 16 | M24x2 | 40 | 96 | 32 | 18 | 28 | 16 | 27 | 36 | 3,2 | 20 | 46 |  | | on request | | | 03089-0490384 | D | stainless steel | 1.4034 | hardened | traffic red RAL 3020 | 3 | M6x0,75 | 14 | 31,5 | 12 | 5 | 10 | 3,5 | 8 | 10 | 0,8 | 4,5 | 10 |  | | on request | | | 03089-0400484 | D | stainless steel | 1.4034 | hardened | traffic red RAL 3020 | 4 | M8x1 | 18 | 38,5 | 15 | 6 | 13 | 4 | 10 | 13 | 1 | 6 | 12 |  | | on request | | | 03089-0410584 | D | stainless steel | 1.4034 | hardened | traffic red RAL 3020 | 5 | M10x1 | 21 | 43,5 | 17 | 7 | 15 | 5 | 13 | 17 | 1,3 | 5 | 12 |  | | on request | | | 03089-0420684 | D | stainless steel | 1.4034 | hardened | traffic red RAL 3020 | 6 | M12x1,5 | 25 | 51,7 | 20 | 8 | 17 | 6 | 14 | 19 | 1,8 | 6 | 14 |  | | on request | | | 03089-0430884 | D | stainless steel | 1.4034 | hardened | traffic red RAL 3020 | 8 | M16x1,5 | 33 | 68 | 26 | 10 | 23 | 8 | 19 | 24 | 2,3 | 15 | 35 |  | | on request | | | 03089-0441084 | D | stainless steel | 1.4034 | hardened | traffic red RAL 3020 | 10 | M20x1,5 | 33 | 74 | 28 | 12 | 25 | 10 | 22 | 30 | 2,8 | 15 | 34 |  | | on request | | | 03089-0441284 | D | stainless steel | 1.4034 | hardened | traffic red RAL 3020 | 12 | M20x1,5 | 33 | 78 | 28 | 14 | 25 | 12 | 22 | 30 | 2,8 | 15 | 39 |  | | on request | | | 03089-0451684 | D | stainless steel | 1.4034 | hardened | traffic red RAL 3020 | 16 | M24x2 | 40 | 96 | 32 | 18 | 28 | 16 | 27 | 36 | 3,2 | 20 | 46 |  | | on request | | | 03089-14903 | D | stainless steel | 1.4305 | not hardened | black grey RAL 7021 | 3 | M6x0,75 | 14 | 31,5 | 12 | 5 | 10 | 3,5 | 8 | 10 | 0,8 | 4,5 | 10 |  | | on request | | | 03089-14004 | D | stainless steel | 1.4305 | not hardened | black grey RAL 7021 | 4 | M8x1 | 18 | 38,5 | 15 | 6 | 13 | 4 | 10 | 13 | 1 | 6 | 12 |  |  | on request | | | 03089-14105 | D | stainless steel | 1.4305 | not hardened | black grey RAL 7021 | 5 | M10x1 | 21 | 43,5 | 17 | 7 | 15 | 5 | 13 | 17 | 1,3 | 5 | 12 |  |  | on request | | | 03089-14206 | D | stainless steel | 1.4305 | not hardened | black grey RAL 7021 | 6 | M12x1,5 | 25 | 51,7 | 20 | 8 | 17 | 6 | 14 | 19 | 1,8 | 6 | 14 |  |  | on request | | | 03089-14308 | D | stainless steel | 1.4305 | not hardened | black grey RAL 7021 | 8 | M16x1,5 | 33 | 68 | 26 | 10 | 23 | 8 | 19 | 24 | 2,3 | 15 | 35 |  |  | on request | | | 03089-14410 | D | stainless steel | 1.4305 | not hardened | black grey RAL 7021 | 10 | M20x1,5 | 33 | 74 | 28 | 12 | 25 | 10 | 22 | 30 | 2,8 | 15 | 34 |  | | on request | | | 03089-14412 | D | stainless steel | 1.4305 | not hardened | black grey RAL 7021 | 12 | M20x1,5 | 33 | 78 | 28 | 14 | 25 | 12 | 22 | 30 | 2,8 | 15 | 39 |  | | on request | | | 03089-14516 | D | stainless steel | 1.4305 | not hardened | black grey RAL 7021 | 16 | M24x2 | 40 | 96 | 32 | 18 | 28 | 16 | 27 | 36 | 3,2 | 20 | 46 |  | | on request | | | 03089-1490384 | D | stainless steel | 1.4305 | not hardened | traffic red RAL 3020 | 3 | M6x0,75 | 14 | 31,5 | 12 | 5 | 10 | 3,5 | 8 | 10 | 0,8 | 4,5 | 10 |  | | on request | | | 03089-1400484 | D | stainless steel | 1.4305 | not hardened | traffic red RAL 3020 | 4 | M8x1 | 18 | 38,5 | 15 | 6 | 13 | 4 | 10 | 13 | 1 | 6 | 12 |  | | on request | | | 03089-1410584 | D | stainless steel | 1.4305 | not hardened | traffic red RAL 3020 | 5 | M10x1 | 21 | 43,5 | 17 | 7 | 15 | 5 | 13 | 17 | 1,3 | 5 | 12 |  | | on request | | | 03089-1420684 | D | stainless steel | 1.4305 | not hardened | traffic red RAL 3020 | 6 | M12x1,5 | 25 | 51,7 | 20 | 8 | 17 | 6 | 14 | 19 | 1,8 | 6 | 14 |  | | on request | | | 03089-1430884 | D | stainless steel | 1.4305 | not hardened | traffic red RAL 3020 | 8 | M16x1,5 | 33 | 68 | 26 | 10 | 23 | 8 | 19 | 24 | 2,3 | 15 | 35 |  | | on request | | | 03089-1441084 | D | stainless steel | 1.4305 | not hardened | traffic red RAL 3020 | 10 | M20x1,5 | 33 | 74 | 28 | 12 | 25 | 10 | 22 | 30 | 2,8 | 15 | 34 |  | | on request | | | 03089-1441284 | D | stainless steel | 1.4305 | not hardened | traffic red RAL 3020 | 12 | M20x1,5 | 33 | 78 | 28 | 14 | 25 | 12 | 22 | 30 | 2,8 | 15 | 39 |  | | on request | | | 03089-1451684 | D | stainless steel | 1.4305 | not hardened | traffic red RAL 3020 | 16 | M24x2 | 40 | 96 | 32 | 18 | 28 | 16 | 27 | 36 | 3,2 | 20 | 46 |  | | on request | | | 03089-64903 | D | stainless steel | 1.4404 | nickel-plated | black grey RAL 7021 | 3 | M6x0,75 | 14 | 31,5 | 12 | 5 | 10 | 3,5 | 8 | 10 | 0,8 | 3 | 6,5 |  | | on request | | | 03089-64004 | D | stainless steel | 1.4404 | nickel-plated | black grey RAL 7021 | 4 | M8x1 | 18 | 38,5 | 15 | 6 | 13 | 4 | 10 | 13 | 1 | 7 | 15,5 |  | | on request | | | 03089-64105 | D | stainless steel | 1.4404 | nickel-plated | black grey RAL 7021 | 5 | M10x1 | 21 | 43,5 | 17 | 7 | 15 | 5 | 13 | 17 | 1,3 | 4 | 12,5 |  | | on request | | | 03089-64206 | D | stainless steel | 1.4404 | nickel-plated | black grey RAL 7021 | 6 | M12x1,5 | 25 | 51,7 | 20 | 8 | 17 | 6 | 14 | 19 | 1,8 | 7 | 14,5 |  | | on request | | | 03089-64308 | D | stainless steel | 1.4404 | nickel-plated | black grey RAL 7021 | 8 | M16x1,5 | 33 | 68 | 26 | 10 | 23 | 8 | 19 | 24 | 2,3 | 15 | 35 |  | | on request | | | 03089-64410 | D | stainless steel | 1.4404 | nickel-plated | black grey RAL 7021 | 10 | M20x1,5 | 33 | 74 | 28 | 12 | 25 | 10 | 22 | 30 | 2,8 | 15 | 30 |  | | on request | | | 03089-64412 | D | stainless steel | 1.4404 | nickel-plated | black grey RAL 7021 | 12 | M20x1,5 | 33 | 78 | 28 | 14 | 25 | 12 | 22 | 30 | 2,8 | 15 | 39 |  | | on request | | | 03089-64516 | D | stainless steel | 1.4404 | nickel-plated | black grey RAL 7021 | 16 | M24x2 | 40 | 96 | 32 | 18 | 28 | 16 | 27 | 36 | 3,2 | 20 | 40 |  | | on request | | | 03089-6490384 | D | stainless steel | 1.4404 | nickel-plated | traffic red RAL 3020 | 3 | M6x0,75 | 14 | 31,5 | 12 | 5 | 10 | 3,5 | 8 | 10 | 0,8 | 3 | 6,5 |  | | on request | | | 03089-6400484 | D | stainless steel | 1.4404 | nickel-plated | traffic red RAL 3020 | 4 | M8x1 | 18 | 38,5 | 15 | 6 | 13 | 4 | 10 | 13 | 1 | 7 | 15,5 |  | | on request | | | 03089-6410584 | D | stainless steel | 1.4404 | nickel-plated | traffic red RAL 3020 | 5 | M10x1 | 21 | 43,5 | 17 | 7 | 15 | 5 | 13 | 17 | 1,3 | 4 | 12,5 |  | | on request | | | 03089-6420684 | D | stainless steel | 1.4404 | nickel-plated | traffic red RAL 3020 | 6 | M12x1,5 | 25 | 51,7 | 20 | 8 | 17 | 6 | 14 | 19 | 1,8 | 7 | 14,5 |  | | on request | | | 03089-6430884 | D | stainless steel | 1.4404 | nickel-plated | traffic red RAL 3020 | 8 | M16x1,5 | 33 | 68 | 26 | 10 | 23 | 8 | 19 | 24 | 2,3 | 15 | 35 |  | | on request | | | 03089-6441084 | D | stainless steel | 1.4404 | nickel-plated | traffic red RAL 3020 | 10 | M20x1,5 | 33 | 74 | 28 | 12 | 25 | 10 | 22 | 30 | 2,8 | 15 | 30 |  | | on request | | | 03089-6441284 | D | stainless steel | 1.4404 | nickel-plated | traffic red RAL 3020 | 12 | M20x1,5 | 33 | 78 | 28 | 14 | 25 | 12 | 22 | 30 | 2,8 | 15 | 39 |  | | on request | | | 03089-6451684 | D | stainless steel | 1.4404 | nickel-plated | traffic red RAL 3020 | 16 | M24x2 | 40 | 96 | 32 | 18 | 28 | 16 | 27 | 36 | 3,2 | 20 | 40 |  | | on request | | | 03089-74903 | D | stainless steel | 1.4404 | bright | black grey RAL 7021 | 3 | M6x0,75 | 14 | 31,5 | 12 | 5 | 10 | 3,5 | 8 | 10 | 0,8 | 3 | 6,5 |  | | on request | | | 03089-74004 | D | stainless steel | 1.4404 | bright | black grey RAL 7021 | 4 | M8x1 | 18 | 38,5 | 15 | 6 | 13 | 4 | 10 | 13 | 1 | 7 | 15,5 |  | | on request | | | 03089-74105 | D | stainless steel | 1.4404 | bright | black grey RAL 7021 | 5 | M10x1 | 21 | 43,5 | 17 | 7 | 15 | 5 | 13 | 17 | 1,3 | 4 | 12,5 |  | | on request | | | 03089-74206 | D | stainless steel | 1.4404 | bright | black grey RAL 7021 | 6 | M12x1,5 | 25 | 51,7 | 20 | 8 | 17 | 6 | 14 | 19 | 1,8 | 7 | 14,5 |  | | on request | | | 03089-74308 | D | stainless steel | 1.4404 | bright | black grey RAL 7021 | 8 | M16x1,5 | 33 | 68 | 26 | 10 | 23 | 8 | 19 | 24 | 2,3 | 15 | 35 |  | | on request | | | 03089-74410 | D | stainless steel | 1.4404 | bright | black grey RAL 7021 | 10 | M20x1,5 | 33 | 74 | 28 | 12 | 25 | 10 | 22 | 30 | 2,8 | 15 | 30 |  | | on request | | | 03089-74412 | D | stainless steel | 1.4404 | bright | black grey RAL 7021 | 12 | M20x1,5 | 33 | 78 | 28 | 14 | 25 | 12 | 22 | 30 | 2,8 | 15 | 39 |  | | on request | | | 03089-74516 | D | stainless steel | 1.4404 | bright | black grey RAL 7021 | 16 | M24x2 | 40 | 96 | 32 | 18 | 28 | 16 | 27 | 36 | 3,2 | 20 | 40 |  | | on request | | | 03089-7490384 | D | stainless steel | 1.4404 | bright | traffic red RAL 3020 | 3 | M6x0,75 | 14 | 31,5 | 12 | 5 | 10 | 3,5 | 8 | 10 | 0,8 | 3 | 6,5 |  | | on request | | | 03089-7400484 | D | stainless steel | 1.4404 | bright | traffic red RAL 3020 | 4 | M8x1 | 18 | 38,5 | 15 | 6 | 13 | 4 | 10 | 13 | 1 | 7 | 15,5 |  | | on request | | | 03089-7410584 | D | stainless steel | 1.4404 | bright | traffic red RAL 3020 | 5 | M10x1 | 21 | 43,5 | 17 | 7 | 15 | 5 | 13 | 17 | 1,3 | 4 | 12,5 |  | | on request | | | 03089-7420684 | D | stainless steel | 1.4404 | bright | traffic red RAL 3020 | 6 | M12x1,5 | 25 | 51,7 | 20 | 8 | 17 | 6 | 14 | 19 | 1,8 | 7 | 14,5 |  | | on request | | | 03089-7430884 | D | stainless steel | 1.4404 | bright | traffic red RAL 3020 | 8 | M16x1,5 | 33 | 68 | 26 | 10 | 23 | 8 | 19 | 24 | 2,3 | 15 | 35 |  | | on request | | | 03089-7441084 | D | stainless steel | 1.4404 | bright | traffic red RAL 3020 | 10 | M20x1,5 | 33 | 74 | 28 | 12 | 25 | 10 | 22 | 30 | 2,8 | 15 | 30 |  | | on request | | | 03089-7441284 | D | stainless steel | 1.4404 | bright | traffic red RAL 3020 | 12 | M20x1,5 | 33 | 78 | 28 | 14 | 25 | 12 | 22 | 30 | 2,8 | 15 | 39 |  | | on request | | | 03089-7451684 | D | stainless steel | 1.4404 | bright | traffic red RAL 3020 | 16 | M24x2 | 40 | 96 | 32 | 18 | 28 | 16 | 27 | 36 | 3,2 | 20 | 40 |  | | on request | |
|
Other items in this category |
|
|