|
|
|
03095-01Indexing plungers, stainless steel, pneumatic |
go back |
|
Item description/product images |
|
|
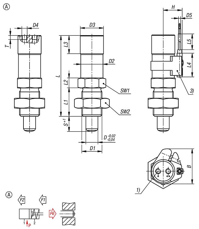
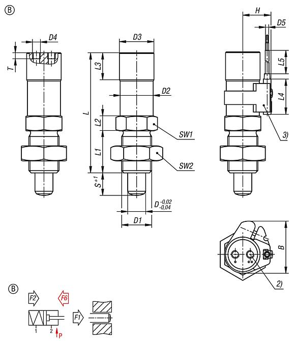
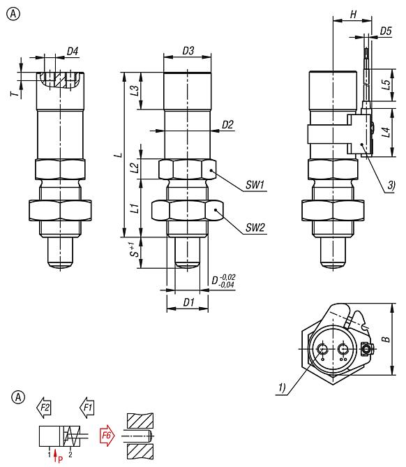
DescriptionProduct description:Indexing plungers are used where it is necessary to prevent changes of position due to lateral forces. Some examples of this are for length, height and position indexing in machines, equipment, furniture and special vehicle construction.
Pneumatic indexing plungers are operated by compressed air. This facilitates automatic retraction or extension of the indexing pin. In addition, the indexing point can be located in an area inaccessible for manual operation.
By the version with status sensor, the actuation status can be detected and evaluated electronically. For this purpose, the magnetic field sensor is clamped in the slot profile of the sensor holder. The status sensor and sensor holder can be moved axially and secured to suit the desired sensing position.Material:Threaded sleeve stainless steel 1.4305.
Indexing pin stainless steel 1.4034.
Piston seal and O-rings NBR.
Rod seal TPU.
Magnet NdFeB.
Locknut stainless steel A2-70.
Magnetic field sensor thermoplastic PA12.
Sensor holder POM, slot profile aluminium. Version:Threaded sleeve bright. Indexing pin hardened and ground, bright. Hex nuts bright.Type of operation:Form A and B: single-acting with spring return Form C: double-actingTechnical data:Pneumatic properties: Operating pressure: 4-6 bar filtered, dried air, lubricated or unlubricated
Magnetic field sensor: Output relay: PNP normally open (NO) Operating voltage: 10 - 30 V DC Operating current: 200 mA Switch field strength: 2 kA/m Switching frequency: 3000 Hz Short-circuit proof: yes Reverse polarity protected: no Rating: IP67 Connection type: 2 m PUR cable Temperature range: -25 °C - +85 °C Approvals: CE, c-UL-us, UKCA, WEEEApplication:In automated production plants and fixtures.Temperature range:-30 °C to +80 °CAccessory:Magnetic field sensor 83001. Sensor holder with T-slot 83010.Drawing reference:Form A: single-acting, pneumatic extension Form B: single-acting, pneumatic retraction Form C: double-acting 1) Port 1 - pneumatic extension 2) Port 2 - pneumatic retraction 3) With status sensor P: operating pressure Special features: DownloadHere is all the information as a PDF datasheet:
Are you looking for CAD data? These can be found directly in the product table.
|
Drawings (total overview) |
Indexing plungers, stainless steel, pneumatic, Form A, single-acting, pneumatic extension |
More information |
| Order No. | Form | Version 2 | B | D | D1 | D2 | D3 | D4 | D5 | H | Travel S | L | L1 | L2 | L3 | L4 | L5 | SW1 | SW2 | T | CAD | Acc. | Price | Order |
|---|
| 03095-01-120610 | A | - | - | 6 | M12x1,5 | 22 | 23 | M5 | - | - | 10 | 77 | 20 | 10 | 18 | - | - | 24 | 19 | 4 |  | | on request | | | 03095-01-130815 | A | - | - | 8 | M16x1,5 | 22 | 23 | M5 | - | - | 15 | 80 | 26 | 10 | 18 | - | - | 24 | 24 | 4 |  | | on request | | | 03095-01-141015 | A | - | - | 10 | M20x1,5 | 22 | 23 | M5 | - | - | 15 | 80 | 28 | 10 | 18 | - | - | 24 | 30 | 4 |  | | on request | | | 03095-01-141215 | A | - | - | 12 | M20x1,5 | 22 | 23 | M5 | - | - | 15 | 80 | 28 | 10 | 18 | - | - | 24 | 30 | 4 |  | | on request | | | 03095-01-1206101 | A | with status sensor | 35 | 6 | M12x1,5 | 22 | 23 | M5 | 2,5 | 19 | 10 | 77 | 20 | 10 | 18 | 23,5 | 2000 | 24 | 19 | 4 |  | | on request | | | 03095-01-1308151 | A | with status sensor | 35 | 8 | M16x1,5 | 22 | 23 | M5 | 2,5 | 19 | 15 | 80 | 26 | 10 | 18 | 23,5 | 2000 | 24 | 24 | 4 |  | | on request | | | 03095-01-1410151 | A | with status sensor | 35 | 10 | M20x1,5 | 22 | 23 | M5 | 2,5 | 19 | 15 | 80 | 28 | 10 | 18 | 23,5 | 2000 | 24 | 30 | 4 |  | | on request | | | 03095-01-1412151 | A | with status sensor | 35 | 12 | M20x1,5 | 22 | 23 | M5 | 2,5 | 19 | 15 | 80 | 28 | 10 | 18 | 23,5 | 2000 | 24 | 30 | 4 |  | | on request | |
| Order No. | P=Operating pressure bar | F6=Piston force at 6 bar (N) | F1=spring force extended (N) | F2=spring force retracted (N) | CAD | Acc. | Price | Order |
|---|
| 03095-01-120610 | 4-6 | 83 | 30 | 11 |  | | on request | | | 03095-01-130815 | 4-6 | 83 | 30 | 11 |  | | on request | | | 03095-01-141015 | 4-6 | 83 | 30 | 11 |  | | on request | | | 03095-01-141215 | 4-6 | 83 | 30 | 11 |  | | on request | | | 03095-01-1206101 | 4-6 | 83 | 30 | 11 |  | | on request | | | 03095-01-1308151 | 4-6 | 83 | 30 | 11 |  | | on request | | | 03095-01-1410151 | 4-6 | 83 | 30 | 11 |  | | on request | | | 03095-01-1412151 | 4-6 | 83 | 30 | 11 |  | | on request | |
|
Indexing plungers, stainless steel, pneumatic, Form B, single-acting, pneumatic retraction |
More information |
| Order No. | Form | Version 2 | B | D | D1 | D2 | D3 | D4 | D5 | H | Travel S | L | L1 | L2 | L3 | L4 | L5 | SW1 | SW2 | T | CAD | Acc. | Price | Order |
|---|
| 03095-01-220610 | B | - | - | 6 | M12x1,5 | 22 | 23 | M5 | - | - | 10 | 77 | 20 | 10 | 18 | - | - | 24 | 19 | 4 |  | | on request | | | 03095-01-230815 | B | - | - | 8 | M16x1,5 | 22 | 23 | M5 | - | - | 15 | 80 | 26 | 10 | 18 | - | - | 24 | 24 | 4 |  | | on request | | | 03095-01-241015 | B | - | - | 10 | M20x1,5 | 22 | 23 | M5 | - | - | 15 | 80 | 28 | 10 | 18 | - | - | 24 | 30 | 4 |  | | on request | | | 03095-01-241215 | B | - | - | 12 | M20x1,5 | 22 | 23 | M5 | - | - | 15 | 80 | 28 | 10 | 18 | - | - | 24 | 30 | 4 |  | | on request | | | 03095-01-2206101 | B | with status sensor | 35 | 6 | M12x1,5 | 22 | 23 | M5 | 2,5 | 19 | 10 | 77 | 20 | 10 | 18 | 23,5 | 2000 | 24 | 19 | 4 |  | | on request | | | 03095-01-2308151 | B | with status sensor | 35 | 8 | M16x1,5 | 22 | 23 | M5 | 2,5 | 19 | 15 | 80 | 26 | 10 | 18 | 23,5 | 2000 | 24 | 24 | 4 |  | | on request | | | 03095-01-2410151 | B | with status sensor | 35 | 10 | M20x1,5 | 22 | 23 | M5 | 2,5 | 19 | 15 | 80 | 28 | 10 | 18 | 23,5 | 2000 | 24 | 30 | 4 |  | | on request | | | 03095-01-2412151 | B | with status sensor | 35 | 12 | M20x1,5 | 22 | 23 | M5 | 2,5 | 19 | 15 | 80 | 28 | 10 | 18 | 23,5 | 2000 | 24 | 30 | 4 |  | | on request | |
| Order No. | Form | P=Operating pressure bar | F6=Retraction force at 6 bar (N) | F1=spring force extended (N) | F2=spring force retracted (N) | CAD | Acc. | Price | Order |
|---|
| 03095-01-220610 | B | 4-6 | 66 | 11 | 30 |  | | on request | | | 03095-01-230815 | B | 4-6 | 66 | 11 | 30 |  | | on request | | | 03095-01-241015 | B | 4-6 | 66 | 11 | 30 |  | | on request | | | 03095-01-241215 | B | 4-6 | 66 | 11 | 30 |  | | on request | | | 03095-01-2206101 | B | 4-6 | 66 | 11 | 30 |  | | on request | | | 03095-01-2308151 | B | 4-6 | 66 | 11 | 30 |  | | on request | | | 03095-01-2410151 | B | 4-6 | 66 | 11 | 30 |  | | on request | | | 03095-01-2412151 | B | 4-6 | 66 | 11 | 30 |  | | on request | |
|
Indexing plungers, stainless steel, pneumatic, Form C, double acting |
More information |
| Order No. | Form | Version 2 | B | D | D1 | D2 | D3 | D4 | D5 | H | Travel S | L | L1 | L2 | L3 | L4 | L5 | SW1 | SW2 | T | CAD | Acc. | Price | Order |
|---|
| 03095-01-320610 | C | - | - | 6 | M12x1,5 | 22 | 23 | M5 | - | - | 10 | 77 | 20 | 10 | 18 | - | - | 24 | 19 | 4 |  | | on request | | | 03095-01-330815 | C | - | - | 8 | M16x1,5 | 22 | 23 | M5 | - | - | 15 | 80 | 26 | 10 | 18 | - | - | 24 | 24 | 4 |  | | on request | | | 03095-01-341015 | C | - | - | 10 | M20x1,5 | 22 | 23 | M5 | - | - | 15 | 80 | 28 | 10 | 18 | - | - | 24 | 30 | 4 |  | | on request | | | 03095-01-341215 | C | - | - | 12 | M20x1,5 | 22 | 23 | M5 | - | - | 15 | 80 | 28 | 10 | 18 | - | - | 24 | 30 | 4 |  | | on request | | | 03095-01-3206101 | C | with status sensor | 35 | 6 | M12x1,5 | 22 | 23 | M5 | 2,5 | 19 | 10 | 77 | 20 | 10 | 18 | 23,5 | 2000 | 24 | 19 | 4 |  | | on request | | | 03095-01-3308151 | C | with status sensor | 35 | 8 | M16x1,5 | 22 | 23 | M5 | 2,5 | 19 | 15 | 80 | 26 | 10 | 18 | 23,5 | 2000 | 24 | 24 | 4 |  | | on request | | | 03095-01-3410151 | C | with status sensor | 35 | 10 | M20x1,5 | 22 | 23 | M5 | 2,5 | 19 | 15 | 80 | 28 | 10 | 18 | 23,5 | 2000 | 24 | 30 | 4 |  | | on request | | | 03095-01-3412151 | C | with status sensor | 35 | 12 | M20x1,5 | 22 | 23 | M5 | 2,5 | 19 | 15 | 80 | 28 | 10 | 18 | 23,5 | 2000 | 24 | 30 | 4 |  | | on request | |
| Order No. | Form | P=Operating pressure bar | F6=Piston force at 6 bar (N) | F6=Retraction force at 6 bar (N) | CAD | Acc. | Price | Order |
|---|
| 03095-01-320610 | C | 4-6 | 113 | 96 |  | | on request | | | 03095-01-330815 | C | 4-6 | 113 | 96 |  | | on request | | | 03095-01-341015 | C | 4-6 | 113 | 96 |  | | on request | | | 03095-01-341215 | C | 4-6 | 113 | 96 |  | | on request | | | 03095-01-3206101 | C | 4-6 | 113 | 96 |  | | on request | | | 03095-01-3308151 | C | 4-6 | 113 | 96 |  | | on request | | | 03095-01-3410151 | C | 4-6 | 113 | 96 |  | | on request | | | 03095-01-3412151 | C | 4-6 | 113 | 96 |  | | on request | |
|
Other items in this category |
|
|