|
|
|
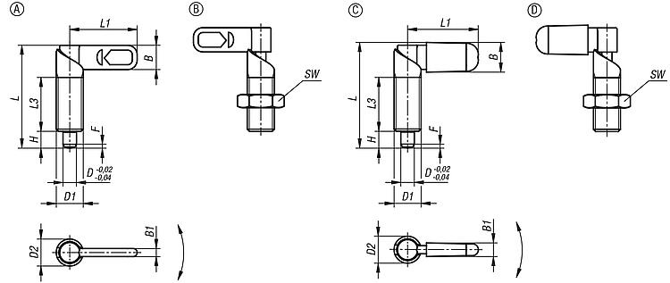
03099-11Cam-action indexing plungers |
go back |
|
|
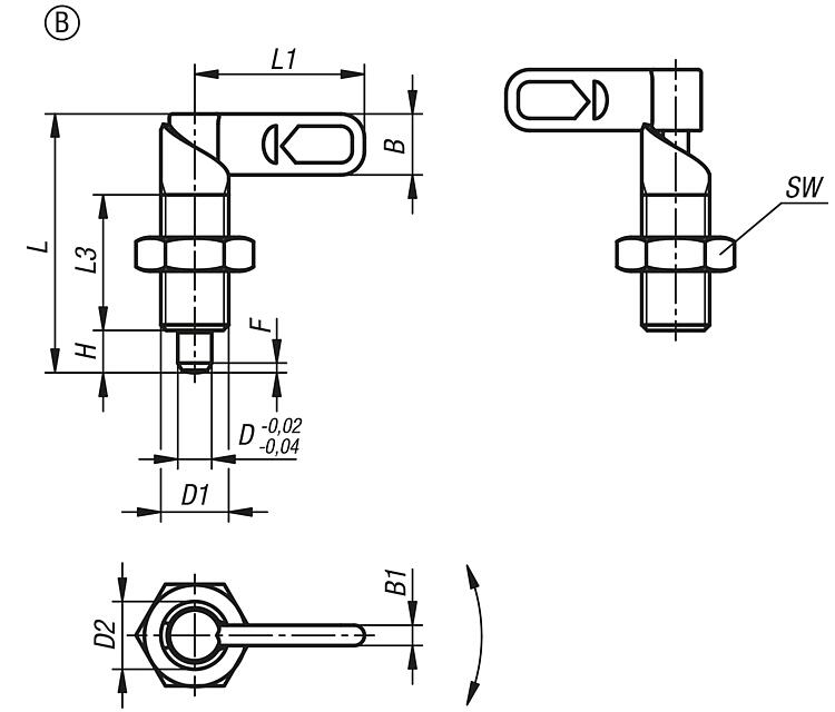
DescriptionProduct description:Cam-action indexing plungers are used where any change in locking position due to lateral forces should be prevented. Turning the grip through 180° retracts the indexing pin, enabling a change in the indexed position. The notch ensures that the grip remains in this position and the indexing pin remains retracted.Material:Grip 1.0503. Threaded sleeve and indexing pin free-cutting steel. Spring 1.4310. Grip cap thermoplastic PA.Version:Threaded sleeve and grip black oxidised. Indexing pin hardened, ground and black oxidised. Spring bright. Grip cap in various colours: - black grey RAL 7021 - pure orange RAL 2004 - colza yellow RAL 1021 - traffic red RAL 3020 - signal green RAL 6032 - traffic blue RAL 5017 - light grey RAL 7035Advantages:Turning the grip through 180° retracts the pin. Optionally available with coloured plastic grip caps. Mounted via the external thread.On request:Special versions. Accessory:Mounting bracket 03099. Positioning bushes 03099-50, 03099-60, 03099-61. Drawing reference:Form A: without grip cap or locknut Form B: without grip cap, with locknut Form C: with grip cap, without locknut Form D: with grip cap and locknut Special features: DownloadHere is all the information as a PDF datasheet:
Are you looking for CAD data? These can be found directly in the product table.
|
Drawings (total overview) |
| Order No. | Form | D | D1 | D2 | L | L1 | L3 | B | B1 | H | Fx30° | Spring force initial pressure F1 approx. N | Spring force final pressure F2 approx. N | CAD | Acc. | Price | Order |
|---|
| 03099-11-040410 | A | 4 | M10 | 10 | 38,5 | 25 | 20 | 9 | 3 | 6 | 1 | 8 | 14 |  | | on request | | | 03099-11-0404101 | A | 4 | M10x1 | 10 | 38,5 | 25 | 20 | 9 | 3 | 6 | 1 | 8 | 14 |  | | on request | | | 03099-11-040510 | A | 5 | M10 | 10 | 38,5 | 25 | 20 | 9 | 3 | 6 | 1,3 | 8 | 14 |  | | on request | | | 03099-11-0405101 | A | 5 | M10x1 | 10 | 38,5 | 25 | 20 | 9 | 3 | 6 | 1,3 | 8 | 14 |  | | on request | | | 03099-11-040610 | A | 6 | M10 | 10 | 38,5 | 25 | 20 | 9 | 3 | 6 | 1,8 | 8 | 14 |  | | on request | | | 03099-11-0406101 | A | 6 | M10x1 | 10 | 38,5 | 25 | 20 | 9 | 3 | 6 | 1,8 | 8 | 14 |  | | on request | | | 03099-11-040512 | A | 5 | M12 | 12 | 47,4 | 30 | 25 | 10,8 | 3,6 | 8 | 1,3 | 8 | 15 |  | | on request | | | 03099-11-0405121 | A | 5 | M12x1,5 | 12 | 47,4 | 30 | 25 | 10,8 | 3,6 | 8 | 1,3 | 8 | 15 |  | | on request | | | 03099-11-040612 | A | 6 | M12 | 12 | 47,4 | 30 | 25 | 10,8 | 3,6 | 8 | 1,8 | 8 | 15 |  | | on request | | | 03099-11-0406121 | A | 6 | M12x1,5 | 12 | 47,4 | 30 | 25 | 10,8 | 3,6 | 8 | 1,8 | 8 | 15 |  | | on request | | | 03099-11-040812 | A | 8 | M12 | 12 | 47,4 | 30 | 25 | 10,8 | 3,6 | 8 | 2,3 | 8 | 15 |  | | on request | | | 03099-11-0408121 | A | 8 | M12x1,5 | 12 | 47,4 | 30 | 25 | 10,8 | 3,6 | 8 | 2,3 | 8 | 15 |  | | on request | | | 03099-11-040616 | A | 6 | M16 | 16 | 61,2 | 40 | 32 | 14,4 | 4,8 | 10 | 1,8 | 15 | 35 |  | | on request | | | 03099-11-0406161 | A | 6 | M16x1,5 | 16 | 61,2 | 40 | 32 | 14,4 | 4,8 | 10 | 1,8 | 15 | 35 |  | | on request | | | 03099-11-040816 | A | 8 | M16 | 16 | 61,2 | 40 | 32 | 14,4 | 4,8 | 10 | 2,3 | 15 | 35 |  | | on request | | | 03099-11-0408161 | A | 8 | M16x1,5 | 16 | 61,2 | 40 | 32 | 14,4 | 4,8 | 10 | 2,3 | 15 | 35 |  | | on request | | | 03099-11-041016 | A | 10 | M16 | 16 | 61,2 | 40 | 32 | 14,4 | 4,8 | 10 | 2,8 | 15 | 35 |  | | on request | | | 03099-11-0410161 | A | 10 | M16x1,5 | 16 | 61,2 | 40 | 32 | 14,4 | 4,8 | 10 | 2,8 | 15 | 35 |  | | on request | | | 03099-11-040820 | A | 8 | M20 | 20 | 71 | 50 | 35 | 18 | 6 | 12 | 2,3 | 20 | 60 |  | | on request | | | 03099-11-0408201 | A | 8 | M20x1,5 | 20 | 71 | 50 | 35 | 18 | 6 | 12 | 2,3 | 20 | 60 |  | | on request | | | 03099-11-041020 | A | 10 | M20 | 20 | 71 | 50 | 35 | 18 | 6 | 12 | 2,8 | 20 | 60 |  | | on request | | | 03099-11-0410201 | A | 10 | M20x1,5 | 20 | 71 | 50 | 35 | 18 | 6 | 12 | 2,8 | 20 | 60 |  | | on request | | | 03099-11-041220 | A | 12 | M20 | 20 | 71 | 50 | 35 | 18 | 6 | 12 | 3 | 20 | 60 |  | | on request | | | 03099-11-0412201 | A | 12 | M20x1,5 | 20 | 71 | 50 | 35 | 18 | 6 | 12 | 3 | 20 | 60 |  | | on request | |
|
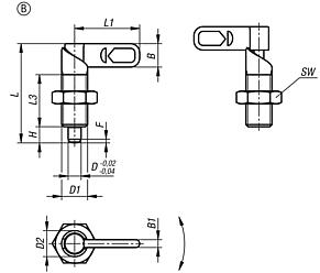
Cam-action indexing plungers, Form B, without grip cap, with nut |
More information |
| Order No. | Form | D | D1 | D2 | L | L1 | L3 | B | B1 | H | SW | Fx30° | Spring force initial pressure F1 approx. N | Spring force final pressure F2 approx. N | CAD | Acc. | Price | Order |
|---|
| 03099-11-050410 | B | 4 | M10 | 10 | 38,5 | 25 | 20 | 9 | 3 | 6 | 17 | 1 | 8 | 14 |  | | on request | | | 03099-11-0504101 | B | 4 | M10x1 | 10 | 38,5 | 25 | 20 | 9 | 3 | 6 | 17 | 1 | 8 | 14 |  | | on request | | | 03099-11-050510 | B | 5 | M10 | 10 | 38,5 | 25 | 20 | 9 | 3 | 6 | 17 | 1,3 | 8 | 14 |  | | on request | | | 03099-11-0505101 | B | 5 | M10x1 | 10 | 38,5 | 25 | 20 | 9 | 3 | 6 | 17 | 1,3 | 8 | 14 |  | | on request | | | 03099-11-050610 | B | 6 | M10 | 10 | 38,5 | 25 | 20 | 9 | 3 | 6 | 17 | 1,8 | 8 | 14 |  | | on request | | | 03099-11-0506101 | B | 6 | M10x1 | 10 | 38,5 | 25 | 20 | 9 | 3 | 6 | 17 | 1,8 | 8 | 14 |  | | on request | | | 03099-11-050512 | B | 5 | M12 | 12 | 47,4 | 30 | 25 | 10,8 | 3,6 | 8 | 19 | 1,3 | 8 | 15 |  | | on request | | | 03099-11-0505121 | B | 5 | M12x1,5 | 12 | 47,4 | 30 | 25 | 10,8 | 3,6 | 8 | 19 | 1,3 | 8 | 15 |  | | on request | | | 03099-11-050612 | B | 6 | M12 | 12 | 47,4 | 30 | 25 | 10,8 | 3,6 | 8 | 19 | 1,8 | 8 | 15 |  | | on request | | | 03099-11-0506121 | B | 6 | M12x1,5 | 12 | 47,4 | 30 | 25 | 10,8 | 3,6 | 8 | 19 | 1,8 | 8 | 15 |  | | on request | | | 03099-11-050812 | B | 8 | M12 | 12 | 47,4 | 30 | 25 | 10,8 | 3,6 | 8 | 19 | 2,3 | 8 | 15 |  | | on request | | | 03099-11-0508121 | B | 8 | M12x1,5 | 12 | 47,4 | 30 | 25 | 10,8 | 3,6 | 8 | 19 | 2,3 | 8 | 15 |  | | on request | | | 03099-11-050616 | B | 6 | M16 | 16 | 61,2 | 40 | 32 | 14,4 | 4,8 | 10 | 24 | 1,8 | 15 | 35 |  | | on request | | | 03099-11-0506161 | B | 6 | M16x1,5 | 16 | 61,2 | 40 | 32 | 14,4 | 4,8 | 10 | 24 | 1,8 | 15 | 35 |  | | on request | | | 03099-11-050816 | B | 8 | M16 | 16 | 61,2 | 40 | 32 | 14,4 | 4,8 | 10 | 24 | 2,3 | 15 | 35 |  | | on request | | | 03099-11-0508161 | B | 8 | M16x1,5 | 16 | 61,2 | 40 | 32 | 14,4 | 4,8 | 10 | 24 | 2,3 | 15 | 35 |  | | on request | | | 03099-11-051016 | B | 10 | M16 | 16 | 61,2 | 40 | 32 | 14,4 | 4,8 | 10 | 24 | 2,8 | 15 | 35 |  | | on request | | | 03099-11-0510161 | B | 10 | M16x1,5 | 16 | 61,2 | 40 | 32 | 14,4 | 4,8 | 10 | 24 | 2,8 | 15 | 35 |  | | on request | | | 03099-11-050820 | B | 8 | M20 | 20 | 71 | 50 | 35 | 18 | 6 | 12 | 30 | 2,3 | 20 | 60 |  | | on request | | | 03099-11-0508201 | B | 8 | M20x1,5 | 20 | 71 | 50 | 35 | 18 | 6 | 12 | 30 | 2,3 | 20 | 60 |  | | on request | | | 03099-11-051020 | B | 10 | M20 | 20 | 71 | 50 | 35 | 18 | 6 | 12 | 30 | 2,8 | 20 | 60 |  | | on request | | | 03099-11-0510201 | B | 10 | M20x1,5 | 20 | 71 | 50 | 35 | 18 | 6 | 12 | 30 | 2,8 | 20 | 60 |  | | on request | | | 03099-11-051220 | B | 12 | M20 | 20 | 71 | 50 | 35 | 18 | 6 | 12 | 30 | 3 | 20 | 60 |  | | on request | | | 03099-11-0512201 | B | 12 | M20x1,5 | 20 | 71 | 50 | 35 | 18 | 6 | 12 | 30 | 3 | 20 | 60 |  | | on request | |
|
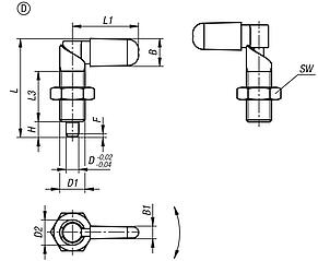
Cam-action indexing plungers, Form C, with grip cap, without nut |
More information |
| Order No. | Form | Component colour | D | D1 | D2 | L | L1 | L3 | B | B1 | H | Fx30° | Spring force initial pressure F1 approx. N | Spring force final pressure F2 approx. N | CAD | Acc. | Price | Order |
|---|
| 03099-11-060410 | C | black grey RAL 7021 | 4 | M10 | 10 | 39,5 | 26,3 | 20 | 10,9 | 4,9 | 6 | 1 | 8 | 14 |  | | on request | | | 03099-11-0604101 | C | black grey RAL 7021 | 4 | M10x1 | 10 | 39,5 | 26,3 | 20 | 10,9 | 4,9 | 6 | 1 | 8 | 14 |  | | on request | | | 03099-11-060510 | C | black grey RAL 7021 | 5 | M10 | 10 | 39,5 | 26,3 | 20 | 10,9 | 4,9 | 6 | 1,3 | 8 | 14 |  | | on request | | | 03099-11-0605101 | C | black grey RAL 7021 | 5 | M10x1 | 10 | 39,5 | 26,3 | 20 | 10,9 | 4,9 | 6 | 1,3 | 8 | 14 |  | | on request | | | 03099-11-060610 | C | black grey RAL 7021 | 6 | M10 | 10 | 39,5 | 26,3 | 20 | 10,9 | 4,9 | 6 | 1,8 | 8 | 14 |  | | on request | | | 03099-11-0606101 | C | black grey RAL 7021 | 6 | M10x1 | 10 | 39,5 | 26,3 | 20 | 10,9 | 4,9 | 6 | 1,8 | 8 | 14 |  | | on request | | | 03099-11-060512 | C | black grey RAL 7021 | 5 | M12 | 12 | 48,4 | 31,1 | 25 | 12,9 | 5,7 | 8 | 1,3 | 8 | 15 |  | | on request | | | 03099-11-0605121 | C | black grey RAL 7021 | 5 | M12x1,5 | 12 | 48,4 | 31,1 | 25 | 12,9 | 5,7 | 8 | 1,3 | 8 | 15 |  | | on request | | | 03099-11-060612 | C | black grey RAL 7021 | 6 | M12 | 12 | 48,4 | 31,1 | 25 | 12,9 | 5,7 | 8 | 1,8 | 8 | 15 |  | | on request | | | 03099-11-0606121 | C | black grey RAL 7021 | 6 | M12x1,5 | 12 | 48,4 | 31,1 | 25 | 12,9 | 5,7 | 8 | 1,8 | 8 | 15 |  | | on request | | | 03099-11-060812 | C | black grey RAL 7021 | 8 | M12 | 12 | 48,4 | 31,1 | 25 | 12,9 | 5,7 | 8 | 2,3 | 8 | 15 |  | | on request | | | 03099-11-0608121 | C | black grey RAL 7021 | 8 | M12x1,5 | 12 | 48,4 | 31,1 | 25 | 12,9 | 5,7 | 8 | 2,3 | 8 | 15 |  | | on request | | | 03099-11-060616 | C | black grey RAL 7021 | 6 | M16 | 16 | 62,3 | 41,5 | 32 | 16,6 | 7 | 10 | 1,8 | 15 | 35 |  | | on request | | | 03099-11-0606161 | C | black grey RAL 7021 | 6 | M16x1,5 | 16 | 62,3 | 41,5 | 32 | 16,6 | 7 | 10 | 1,8 | 15 | 35 |  | | on request | | | 03099-11-060816 | C | black grey RAL 7021 | 8 | M16 | 16 | 62,3 | 41,5 | 32 | 16,6 | 7 | 10 | 2,3 | 15 | 35 |  | | on request | | | 03099-11-0608161 | C | black grey RAL 7021 | 8 | M16x1,5 | 16 | 62,3 | 41,5 | 32 | 16,6 | 7 | 10 | 2,3 | 15 | 35 |  | | on request | | | 03099-11-061016 | C | black grey RAL 7021 | 10 | M16 | 16 | 62,3 | 41,5 | 32 | 16,6 | 7 | 10 | 2,8 | 15 | 35 |  | | on request | | | 03099-11-0610161 | C | black grey RAL 7021 | 10 | M16x1,5 | 16 | 62,3 | 41,5 | 32 | 16,6 | 7 | 10 | 2,8 | 15 | 35 |  | | on request | | | 03099-11-060820 | C | black grey RAL 7021 | 8 | M20 | 20 | 72,3 | 51,3 | 35 | 20,5 | 8,5 | 12 | 2,3 | 20 | 60 |  | | on request | | | 03099-11-0608201 | C | black grey RAL 7021 | 8 | M20x1,5 | 20 | 72,3 | 51,3 | 35 | 20,5 | 8,5 | 12 | 2,3 | 20 | 60 |  | | on request | | | 03099-11-061020 | C | black grey RAL 7021 | 10 | M20 | 20 | 72,3 | 51,3 | 35 | 20,5 | 8,5 | 12 | 2,8 | 20 | 60 |  | | on request | | | 03099-11-0610201 | C | black grey RAL 7021 | 10 | M20x1,5 | 20 | 72,3 | 51,3 | 35 | 20,5 | 8,5 | 12 | 2,8 | 20 | 60 |  | | on request | | | 03099-11-061220 | C | black grey RAL 7021 | 12 | M20 | 20 | 72,3 | 51,3 | 35 | 20,5 | 8,5 | 12 | 3 | 20 | 60 |  | | on request | | | 03099-11-0612201 | C | black grey RAL 7021 | 12 | M20x1,5 | 20 | 72,3 | 51,3 | 35 | 20,5 | 8,5 | 12 | 3 | 20 | 60 |  | | on request | | | 03099-11-0604102 | C | orange RAL 2004 | 4 | M10 | 10 | 39,5 | 26,3 | 20 | 10,9 | 4,9 | 6 | 1 | 8 | 14 |  | | on request | | | 03099-11-06041012 | C | orange RAL 2004 | 4 | M10x1 | 10 | 39,5 | 26,3 | 20 | 10,9 | 4,9 | 6 | 1 | 8 | 14 |  | | on request | | | 03099-11-0605102 | C | orange RAL 2004 | 5 | M10 | 10 | 39,5 | 26,3 | 20 | 10,9 | 4,9 | 6 | 1,3 | 8 | 14 |  | | on request | | | 03099-11-06051012 | C | orange RAL 2004 | 5 | M10x1 | 10 | 39,5 | 26,3 | 20 | 10,9 | 4,9 | 6 | 1,3 | 8 | 14 |  | | on request | | | 03099-11-0606102 | C | orange RAL 2004 | 6 | M10 | 10 | 39,5 | 26,3 | 20 | 10,9 | 4,9 | 6 | 1,8 | 8 | 14 |  | | on request | | | 03099-11-06061012 | C | orange RAL 2004 | 6 | M10x1 | 10 | 39,5 | 26,3 | 20 | 10,9 | 4,9 | 6 | 1,8 | 8 | 14 |  | | on request | | | 03099-11-0605122 | C | orange RAL 2004 | 5 | M12 | 12 | 48,4 | 31,1 | 25 | 12,9 | 5,7 | 8 | 1,3 | 8 | 15 |  | | on request | | | 03099-11-06051212 | C | orange RAL 2004 | 5 | M12x1,5 | 12 | 48,4 | 31,1 | 25 | 12,9 | 5,7 | 8 | 1,3 | 8 | 15 |  | | on request | | | 03099-11-0606122 | C | orange RAL 2004 | 6 | M12 | 12 | 48,4 | 31,1 | 25 | 12,9 | 5,7 | 8 | 1,8 | 8 | 15 |  | | on request | | | 03099-11-06061212 | C | orange RAL 2004 | 6 | M12x1,5 | 12 | 48,4 | 31,1 | 25 | 12,9 | 5,7 | 8 | 1,8 | 8 | 15 |  | | on request | | | 03099-11-0608122 | C | orange RAL 2004 | 8 | M12 | 12 | 48,4 | 31,1 | 25 | 12,9 | 5,7 | 8 | 2,3 | 8 | 15 |  | | on request | | | 03099-11-06081212 | C | orange RAL 2004 | 8 | M12x1,5 | 12 | 48,4 | 31,1 | 25 | 12,9 | 5,7 | 8 | 2,3 | 8 | 15 |  | | on request | | | 03099-11-0606162 | C | orange RAL 2004 | 6 | M16 | 16 | 62,3 | 41,5 | 32 | 16,6 | 7 | 10 | 1,8 | 15 | 35 |  | | on request | | | 03099-11-06061612 | C | orange RAL 2004 | 6 | M16x1,5 | 16 | 62,3 | 41,5 | 32 | 16,6 | 7 | 10 | 1,8 | 15 | 35 |  | | on request | | | 03099-11-0608162 | C | orange RAL 2004 | 8 | M16 | 16 | 62,3 | 41,5 | 32 | 16,6 | 7 | 10 | 2,3 | 15 | 35 |  | | on request | | | 03099-11-06081612 | C | orange RAL 2004 | 8 | M16x1,5 | 16 | 62,3 | 41,5 | 32 | 16,6 | 7 | 10 | 2,3 | 15 | 35 |  | | on request | | | 03099-11-0610162 | C | orange RAL 2004 | 10 | M16 | 16 | 62,3 | 41,5 | 32 | 16,6 | 7 | 10 | 2,8 | 15 | 35 |  | | on request | | | 03099-11-06101612 | C | orange RAL 2004 | 10 | M16x1,5 | 16 | 62,3 | 41,5 | 32 | 16,6 | 7 | 10 | 2,8 | 15 | 35 |  | | on request | | | 03099-11-0608202 | C | orange RAL 2004 | 8 | M20 | 20 | 72,3 | 51,3 | 35 | 20,5 | 8,5 | 12 | 2,3 | 20 | 60 |  | | on request | | | 03099-11-06082012 | C | orange RAL 2004 | 8 | M20x1,5 | 20 | 72,3 | 51,3 | 35 | 20,5 | 8,5 | 12 | 2,3 | 20 | 60 |  | | on request | | | 03099-11-0610202 | C | orange RAL 2004 | 10 | M20 | 20 | 72,3 | 51,3 | 35 | 20,5 | 8,5 | 12 | 2,8 | 20 | 60 |  | | on request | | | 03099-11-06102012 | C | orange RAL 2004 | 10 | M20x1,5 | 20 | 72,3 | 51,3 | 35 | 20,5 | 8,5 | 12 | 2,8 | 20 | 60 |  | | on request | | | 03099-11-0612202 | C | orange RAL 2004 | 12 | M20 | 20 | 72,3 | 51,3 | 35 | 20,5 | 8,5 | 12 | 3 | 20 | 60 |  | | on request | | | 03099-11-06122012 | C | orange RAL 2004 | 12 | M20x1,5 | 20 | 72,3 | 51,3 | 35 | 20,5 | 8,5 | 12 | 3 | 20 | 60 |  | | on request | | | 03099-11-06041016 | C | colza yellow RAL 1021 | 4 | M10 | 10 | 39,5 | 26,3 | 20 | 10,9 | 4,9 | 6 | 1 | 8 | 14 |  | | on request | | | 03099-11-060410116 | C | colza yellow RAL 1021 | 4 | M10x1 | 10 | 39,5 | 26,3 | 20 | 10,9 | 4,9 | 6 | 1 | 8 | 14 |  | | on request | | | 03099-11-06051016 | C | colza yellow RAL 1021 | 5 | M10 | 10 | 39,5 | 26,3 | 20 | 10,9 | 4,9 | 6 | 1,3 | 8 | 14 |  | | on request | | | 03099-11-060510116 | C | colza yellow RAL 1021 | 5 | M10x1 | 10 | 39,5 | 26,3 | 20 | 10,9 | 4,9 | 6 | 1,3 | 8 | 14 |  | | on request | | | 03099-11-06061016 | C | colza yellow RAL 1021 | 6 | M10 | 10 | 39,5 | 26,3 | 20 | 10,9 | 4,9 | 6 | 1,8 | 8 | 14 |  | | on request | | | 03099-11-060610116 | C | colza yellow RAL 1021 | 6 | M10x1 | 10 | 39,5 | 26,3 | 20 | 10,9 | 4,9 | 6 | 1,8 | 8 | 14 |  | | on request | | | 03099-11-06051216 | C | colza yellow RAL 1021 | 5 | M12 | 12 | 48,4 | 31,1 | 25 | 12,9 | 5,7 | 8 | 1,3 | 8 | 15 |  | | on request | | | 03099-11-060512116 | C | colza yellow RAL 1021 | 5 | M12x1,5 | 12 | 48,4 | 31,1 | 25 | 12,9 | 5,7 | 8 | 1,3 | 8 | 15 |  | | on request | | | 03099-11-06061216 | C | colza yellow RAL 1021 | 6 | M12 | 12 | 48,4 | 31,1 | 25 | 12,9 | 5,7 | 8 | 1,8 | 8 | 15 |  | | on request | | | 03099-11-060612116 | C | colza yellow RAL 1021 | 6 | M12x1,5 | 12 | 48,4 | 31,1 | 25 | 12,9 | 5,7 | 8 | 1,8 | 8 | 15 |  | | on request | | | 03099-11-06081216 | C | colza yellow RAL 1021 | 8 | M12 | 12 | 48,4 | 31,1 | 25 | 12,9 | 5,7 | 8 | 2,3 | 8 | 15 |  | | on request | | | 03099-11-060812116 | C | colza yellow RAL 1021 | 8 | M12x1,5 | 12 | 48,4 | 31,1 | 25 | 12,9 | 5,7 | 8 | 2,3 | 8 | 15 |  | | on request | | | 03099-11-06061616 | C | colza yellow RAL 1021 | 6 | M16 | 16 | 62,3 | 41,5 | 32 | 16,6 | 7 | 10 | 1,8 | 15 | 35 |  | | on request | | | 03099-11-060616116 | C | colza yellow RAL 1021 | 6 | M16x1,5 | 16 | 62,3 | 41,5 | 32 | 16,6 | 7 | 10 | 1,8 | 15 | 35 |  | | on request | | | 03099-11-06081616 | C | colza yellow RAL 1021 | 8 | M16 | 16 | 62,3 | 41,5 | 32 | 16,6 | 7 | 10 | 2,3 | 15 | 35 |  | | on request | | | 03099-11-060816116 | C | colza yellow RAL 1021 | 8 | M16x1,5 | 16 | 62,3 | 41,5 | 32 | 16,6 | 7 | 10 | 2,3 | 15 | 35 |  | | on request | | | 03099-11-06101616 | C | colza yellow RAL 1021 | 10 | M16 | 16 | 62,3 | 41,5 | 32 | 16,6 | 7 | 10 | 2,8 | 15 | 35 |  | | on request | | | 03099-11-061016116 | C | colza yellow RAL 1021 | 10 | M16x1,5 | 16 | 62,3 | 41,5 | 32 | 16,6 | 7 | 10 | 2,8 | 15 | 35 |  | | on request | | | 03099-11-06082016 | C | colza yellow RAL 1021 | 8 | M20 | 20 | 72,3 | 51,3 | 35 | 20,5 | 8,5 | 12 | 2,3 | 20 | 60 |  | | on request | | | 03099-11-060820116 | C | colza yellow RAL 1021 | 8 | M20x1,5 | 20 | 72,3 | 51,3 | 35 | 20,5 | 8,5 | 12 | 2,3 | 20 | 60 |  | | on request | | | 03099-11-06102016 | C | colza yellow RAL 1021 | 10 | M20 | 20 | 72,3 | 51,3 | 35 | 20,5 | 8,5 | 12 | 2,8 | 20 | 60 |  | | on request | | | 03099-11-061020116 | C | colza yellow RAL 1021 | 10 | M20x1,5 | 20 | 72,3 | 51,3 | 35 | 20,5 | 8,5 | 12 | 2,8 | 20 | 60 |  | | on request | | | 03099-11-06122016 | C | colza yellow RAL 1021 | 12 | M20 | 20 | 72,3 | 51,3 | 35 | 20,5 | 8,5 | 12 | 3 | 20 | 60 |  | | on request | | | 03099-11-061220116 | C | colza yellow RAL 1021 | 12 | M20x1,5 | 20 | 72,3 | 51,3 | 35 | 20,5 | 8,5 | 12 | 3 | 20 | 60 |  | | on request | | | 03099-11-06041084 | C | traffic red RAL 3020 | 4 | M10 | 10 | 39,5 | 26,3 | 20 | 10,9 | 4,9 | 6 | 1 | 8 | 14 |  | | on request | | | 03099-11-060410184 | C | traffic red RAL 3020 | 4 | M10x1 | 10 | 39,5 | 26,3 | 20 | 10,9 | 4,9 | 6 | 1 | 8 | 14 |  | | on request | | | 03099-11-06051084 | C | traffic red RAL 3020 | 5 | M10 | 10 | 39,5 | 26,3 | 20 | 10,9 | 4,9 | 6 | 1,3 | 8 | 14 |  | | on request | | | 03099-11-060510184 | C | traffic red RAL 3020 | 5 | M10x1 | 10 | 39,5 | 26,3 | 20 | 10,9 | 4,9 | 6 | 1,3 | 8 | 14 |  | | on request | | | 03099-11-06061084 | C | traffic red RAL 3020 | 6 | M10 | 10 | 39,5 | 26,3 | 20 | 10,9 | 4,9 | 6 | 1,8 | 8 | 14 |  | | on request | | | 03099-11-060610184 | C | traffic red RAL 3020 | 6 | M10x1 | 10 | 39,5 | 26,3 | 20 | 10,9 | 4,9 | 6 | 1,8 | 8 | 14 |  | | on request | | | 03099-11-06051284 | C | traffic red RAL 3020 | 5 | M12 | 12 | 48,4 | 31,1 | 25 | 12,9 | 5,7 | 8 | 1,3 | 8 | 15 |  | | on request | | | 03099-11-060512184 | C | traffic red RAL 3020 | 5 | M12x1,5 | 12 | 48,4 | 31,1 | 25 | 12,9 | 5,7 | 8 | 1,3 | 8 | 15 |  | | on request | | | 03099-11-06061284 | C | traffic red RAL 3020 | 6 | M12 | 12 | 48,4 | 31,1 | 25 | 12,9 | 5,7 | 8 | 1,8 | 8 | 15 |  | | on request | | | 03099-11-060612184 | C | traffic red RAL 3020 | 6 | M12x1,5 | 12 | 48,4 | 31,1 | 25 | 12,9 | 5,7 | 8 | 1,8 | 8 | 15 |  | | on request | | | 03099-11-06081284 | C | traffic red RAL 3020 | 8 | M12 | 12 | 48,4 | 31,1 | 25 | 12,9 | 5,7 | 8 | 2,3 | 8 | 15 |  | | on request | | | 03099-11-060812184 | C | traffic red RAL 3020 | 8 | M12x1,5 | 12 | 48,4 | 31,1 | 25 | 12,9 | 5,7 | 8 | 2,3 | 8 | 15 |  | | on request | | | 03099-11-06061684 | C | traffic red RAL 3020 | 6 | M16 | 16 | 62,3 | 41,5 | 32 | 16,6 | 7 | 10 | 1,8 | 15 | 35 |  | | on request | | | 03099-11-060616184 | C | traffic red RAL 3020 | 6 | M16x1,5 | 16 | 62,3 | 41,5 | 32 | 16,6 | 7 | 10 | 1,8 | 15 | 35 |  | | on request | | | 03099-11-06081684 | C | traffic red RAL 3020 | 8 | M16 | 16 | 62,3 | 41,5 | 32 | 16,6 | 7 | 10 | 2,3 | 15 | 35 |  | | on request | | | 03099-11-060816184 | C | traffic red RAL 3020 | 8 | M16x1,5 | 16 | 62,3 | 41,5 | 32 | 16,6 | 7 | 10 | 2,3 | 15 | 35 |  | | on request | | | 03099-11-06101684 | C | traffic red RAL 3020 | 10 | M16 | 16 | 62,3 | 41,5 | 32 | 16,6 | 7 | 10 | 2,8 | 15 | 35 |  | | on request | | | 03099-11-061016184 | C | traffic red RAL 3020 | 10 | M16x1,5 | 16 | 62,3 | 41,5 | 32 | 16,6 | 7 | 10 | 2,8 | 15 | 35 |  | | on request | | | 03099-11-06082084 | C | traffic red RAL 3020 | 8 | M20 | 20 | 72,3 | 51,3 | 35 | 20,5 | 8,5 | 12 | 2,3 | 20 | 60 |  | | on request | | | 03099-11-060820184 | C | traffic red RAL 3020 | 8 | M20x1,5 | 20 | 72,3 | 51,3 | 35 | 20,5 | 8,5 | 12 | 2,3 | 20 | 60 |  | | on request | | | 03099-11-06102084 | C | traffic red RAL 3020 | 10 | M20 | 20 | 72,3 | 51,3 | 35 | 20,5 | 8,5 | 12 | 2,8 | 20 | 60 |  | | on request | | | 03099-11-061020184 | C | traffic red RAL 3020 | 10 | M20x1,5 | 20 | 72,3 | 51,3 | 35 | 20,5 | 8,5 | 12 | 2,8 | 20 | 60 |  | | on request | | | 03099-11-06122084 | C | traffic red RAL 3020 | 12 | M20 | 20 | 72,3 | 51,3 | 35 | 20,5 | 8,5 | 12 | 3 | 20 | 60 |  | | on request | | | 03099-11-061220184 | C | traffic red RAL 3020 | 12 | M20x1,5 | 20 | 72,3 | 51,3 | 35 | 20,5 | 8,5 | 12 | 3 | 20 | 60 |  | | on request | | | 03099-11-06041086 | C | signal green RAL 6032 | 4 | M10 | 10 | 39,5 | 26,3 | 20 | 10,9 | 4,9 | 6 | 1 | 8 | 14 |  | | on request | | | 03099-11-060410186 | C | signal green RAL 6032 | 4 | M10x1 | 10 | 39,5 | 26,3 | 20 | 10,9 | 4,9 | 6 | 1 | 8 | 14 |  | | on request | | | 03099-11-06051086 | C | signal green RAL 6032 | 5 | M10 | 10 | 39,5 | 26,3 | 20 | 10,9 | 4,9 | 6 | 1,3 | 8 | 14 |  | | on request | | | 03099-11-060510186 | C | signal green RAL 6032 | 5 | M10x1 | 10 | 39,5 | 26,3 | 20 | 10,9 | 4,9 | 6 | 1,3 | 8 | 14 |  | | on request | | | 03099-11-06061086 | C | signal green RAL 6032 | 6 | M10 | 10 | 39,5 | 26,3 | 20 | 10,9 | 4,9 | 6 | 1,8 | 8 | 14 |  | | on request | | | 03099-11-060610186 | C | signal green RAL 6032 | 6 | M10x1 | 10 | 39,5 | 26,3 | 20 | 10,9 | 4,9 | 6 | 1,8 | 8 | 14 |  | | on request | | | 03099-11-06051286 | C | signal green RAL 6032 | 5 | M12 | 12 | 48,4 | 31,1 | 25 | 12,9 | 5,7 | 8 | 1,3 | 8 | 15 |  | | on request | | | 03099-11-060512186 | C | signal green RAL 6032 | 5 | M12x1,5 | 12 | 48,4 | 31,1 | 25 | 12,9 | 5,7 | 8 | 1,3 | 8 | 15 |  | | on request | | | 03099-11-06061286 | C | signal green RAL 6032 | 6 | M12 | 12 | 48,4 | 31,1 | 25 | 12,9 | 5,7 | 8 | 1,8 | 8 | 15 |  | | on request | | | 03099-11-060612186 | C | signal green RAL 6032 | 6 | M12x1,5 | 12 | 48,4 | 31,1 | 25 | 12,9 | 5,7 | 8 | 1,8 | 8 | 15 |  | | on request | | | 03099-11-06081286 | C | signal green RAL 6032 | 8 | M12 | 12 | 48,4 | 31,1 | 25 | 12,9 | 5,7 | 8 | 2,3 | 8 | 15 |  | | on request | | | 03099-11-060812186 | C | signal green RAL 6032 | 8 | M12x1,5 | 12 | 48,4 | 31,1 | 25 | 12,9 | 5,7 | 8 | 2,3 | 8 | 15 |  | | on request | | | 03099-11-06061686 | C | signal green RAL 6032 | 6 | M16 | 16 | 62,3 | 41,5 | 32 | 16,6 | 7 | 10 | 1,8 | 15 | 35 |  | | on request | | | 03099-11-060616186 | C | signal green RAL 6032 | 6 | M16x1,5 | 16 | 62,3 | 41,5 | 32 | 16,6 | 7 | 10 | 1,8 | 15 | 35 |  | | on request | | | 03099-11-06081686 | C | signal green RAL 6032 | 8 | M16 | 16 | 62,3 | 41,5 | 32 | 16,6 | 7 | 10 | 2,3 | 15 | 35 |  | | on request | | | 03099-11-060816186 | C | signal green RAL 6032 | 8 | M16x1,5 | 16 | 62,3 | 41,5 | 32 | 16,6 | 7 | 10 | 2,3 | 15 | 35 |  | | on request | | | 03099-11-06101686 | C | signal green RAL 6032 | 10 | M16 | 16 | 62,3 | 41,5 | 32 | 16,6 | 7 | 10 | 2,8 | 15 | 35 |  | | on request | | | 03099-11-061016186 | C | signal green RAL 6032 | 10 | M16x1,5 | 16 | 62,3 | 41,5 | 32 | 16,6 | 7 | 10 | 2,8 | 15 | 35 |  | | on request | | | 03099-11-06082086 | C | signal green RAL 6032 | 8 | M20 | 20 | 72,3 | 51,3 | 35 | 20,5 | 8,5 | 12 | 2,3 | 20 | 60 |  | | on request | | | 03099-11-060820186 | C | signal green RAL 6032 | 8 | M20x1,5 | 20 | 72,3 | 51,3 | 35 | 20,5 | 8,5 | 12 | 2,3 | 20 | 60 |  | | on request | | | 03099-11-06102086 | C | signal green RAL 6032 | 10 | M20 | 20 | 72,3 | 51,3 | 35 | 20,5 | 8,5 | 12 | 2,8 | 20 | 60 |  | | on request | | | 03099-11-061020186 | C | signal green RAL 6032 | 10 | M20x1,5 | 20 | 72,3 | 51,3 | 35 | 20,5 | 8,5 | 12 | 2,8 | 20 | 60 |  | | on request | | | 03099-11-06122086 | C | signal green RAL 6032 | 12 | M20 | 20 | 72,3 | 51,3 | 35 | 20,5 | 8,5 | 12 | 3 | 20 | 60 |  | | on request | | | 03099-11-061220186 | C | signal green RAL 6032 | 12 | M20x1,5 | 20 | 72,3 | 51,3 | 35 | 20,5 | 8,5 | 12 | 3 | 20 | 60 |  | | on request | | | 03099-11-06041087 | C | traffic blue RAL 5017 | 4 | M10 | 10 | 39,5 | 26,3 | 20 | 10,9 | 4,9 | 6 | 1 | 8 | 14 |  | | on request | | | 03099-11-060410187 | C | traffic blue RAL 5017 | 4 | M10x1 | 10 | 39,5 | 26,3 | 20 | 10,9 | 4,9 | 6 | 1 | 8 | 14 |  | | on request | | | 03099-11-06051087 | C | traffic blue RAL 5017 | 5 | M10 | 10 | 39,5 | 26,3 | 20 | 10,9 | 4,9 | 6 | 1,3 | 8 | 14 |  | | on request | | | 03099-11-060510187 | C | traffic blue RAL 5017 | 5 | M10x1 | 10 | 39,5 | 26,3 | 20 | 10,9 | 4,9 | 6 | 1,3 | 8 | 14 |  | | on request | | | 03099-11-06061087 | C | traffic blue RAL 5017 | 6 | M10 | 10 | 39,5 | 26,3 | 20 | 10,9 | 4,9 | 6 | 1,8 | 8 | 14 |  | | on request | | | 03099-11-060610187 | C | traffic blue RAL 5017 | 6 | M10x1 | 10 | 39,5 | 26,3 | 20 | 10,9 | 4,9 | 6 | 1,8 | 8 | 14 |  | | on request | | | 03099-11-06051287 | C | traffic blue RAL 5017 | 5 | M12 | 12 | 48,4 | 31,1 | 25 | 12,9 | 5,7 | 8 | 1,3 | 8 | 15 |  | | on request | | | 03099-11-060512187 | C | traffic blue RAL 5017 | 5 | M12x1,5 | 12 | 48,4 | 31,1 | 25 | 12,9 | 5,7 | 8 | 1,3 | 8 | 15 |  | | on request | | | 03099-11-06061287 | C | traffic blue RAL 5017 | 6 | M12 | 12 | 48,4 | 31,1 | 25 | 12,9 | 5,7 | 8 | 1,8 | 8 | 15 |  | | on request | | | 03099-11-060612187 | C | traffic blue RAL 5017 | 6 | M12x1,5 | 12 | 48,4 | 31,1 | 25 | 12,9 | 5,7 | 8 | 1,8 | 8 | 15 |  | | on request | | | 03099-11-06081287 | C | traffic blue RAL 5017 | 8 | M12 | 12 | 48,4 | 31,1 | 25 | 12,9 | 5,7 | 8 | 2,3 | 8 | 15 |  | | on request | | | 03099-11-060812187 | C | traffic blue RAL 5017 | 8 | M12x1,5 | 12 | 48,4 | 31,1 | 25 | 12,9 | 5,7 | 8 | 2,3 | 8 | 15 |  | | on request | | | 03099-11-06061687 | C | traffic blue RAL 5017 | 6 | M16 | 16 | 62,3 | 41,5 | 32 | 16,6 | 7 | 10 | 1,8 | 15 | 35 |  | | on request | | | 03099-11-060616187 | C | traffic blue RAL 5017 | 6 | M16x1,5 | 16 | 62,3 | 41,5 | 32 | 16,6 | 7 | 10 | 1,8 | 15 | 35 |  | | on request | | | 03099-11-06081687 | C | traffic blue RAL 5017 | 8 | M16 | 16 | 62,3 | 41,5 | 32 | 16,6 | 7 | 10 | 2,3 | 15 | 35 |  | | on request | | | 03099-11-060816187 | C | traffic blue RAL 5017 | 8 | M16x1,5 | 16 | 62,3 | 41,5 | 32 | 16,6 | 7 | 10 | 2,3 | 15 | 35 |  | | on request | | | 03099-11-06101687 | C | traffic blue RAL 5017 | 10 | M16 | 16 | 62,3 | 41,5 | 32 | 16,6 | 7 | 10 | 2,8 | 15 | 35 |  | | on request | | | 03099-11-061016187 | C | traffic blue RAL 5017 | 10 | M16x1,5 | 16 | 62,3 | 41,5 | 32 | 16,6 | 7 | 10 | 2,8 | 15 | 35 |  | | on request | | | 03099-11-06082087 | C | traffic blue RAL 5017 | 8 | M20 | 20 | 72,3 | 51,3 | 35 | 20,5 | 8,5 | 12 | 2,3 | 20 | 60 |  | | on request | | | 03099-11-060820187 | C | traffic blue RAL 5017 | 8 | M20x1,5 | 20 | 72,3 | 51,3 | 35 | 20,5 | 8,5 | 12 | 2,3 | 20 | 60 |  | | on request | | | 03099-11-06102087 | C | traffic blue RAL 5017 | 10 | M20 | 20 | 72,3 | 51,3 | 35 | 20,5 | 8,5 | 12 | 2,8 | 20 | 60 |  | | on request | | | 03099-11-061020187 | C | traffic blue RAL 5017 | 10 | M20x1,5 | 20 | 72,3 | 51,3 | 35 | 20,5 | 8,5 | 12 | 2,8 | 20 | 60 |  | | on request | | | 03099-11-06122087 | C | traffic blue RAL 5017 | 12 | M20 | 20 | 72,3 | 51,3 | 35 | 20,5 | 8,5 | 12 | 3 | 20 | 60 |  | | on request | | | 03099-11-061220187 | C | traffic blue RAL 5017 | 12 | M20x1,5 | 20 | 72,3 | 51,3 | 35 | 20,5 | 8,5 | 12 | 3 | 20 | 60 |  | | on request | | | 03099-11-06041088 | C | light grey RAL 7035 | 4 | M10 | 10 | 39,5 | 26,3 | 20 | 10,9 | 4,9 | 6 | 1 | 8 | 14 |  | | on request | | | 03099-11-060410188 | C | light grey RAL 7035 | 4 | M10x1 | 10 | 39,5 | 26,3 | 20 | 10,9 | 4,9 | 6 | 1 | 8 | 14 |  | | on request | | | 03099-11-06051088 | C | light grey RAL 7035 | 5 | M10 | 10 | 39,5 | 26,3 | 20 | 10,9 | 4,9 | 6 | 1,3 | 8 | 14 |  | | on request | | | 03099-11-060510188 | C | light grey RAL 7035 | 5 | M10x1 | 10 | 39,5 | 26,3 | 20 | 10,9 | 4,9 | 6 | 1,3 | 8 | 14 |  | | on request | | | 03099-11-06061088 | C | light grey RAL 7035 | 6 | M10 | 10 | 39,5 | 26,3 | 20 | 10,9 | 4,9 | 6 | 1,8 | 8 | 14 |  | | on request | | | 03099-11-060610188 | C | light grey RAL 7035 | 6 | M10x1 | 10 | 39,5 | 26,3 | 20 | 10,9 | 4,9 | 6 | 1,8 | 8 | 14 |  | | on request | | | 03099-11-06051288 | C | light grey RAL 7035 | 5 | M12 | 12 | 48,4 | 31,1 | 25 | 12,9 | 5,7 | 8 | 1,3 | 8 | 15 |  | | on request | | | 03099-11-060512188 | C | light grey RAL 7035 | 5 | M12x1,5 | 12 | 48,4 | 31,1 | 25 | 12,9 | 5,7 | 8 | 1,3 | 8 | 15 |  | | on request | | | 03099-11-06061288 | C | light grey RAL 7035 | 6 | M12 | 12 | 48,4 | 31,1 | 25 | 12,9 | 5,7 | 8 | 1,8 | 8 | 15 |  | | on request | | | 03099-11-060612188 | C | light grey RAL 7035 | 6 | M12x1,5 | 12 | 48,4 | 31,1 | 25 | 12,9 | 5,7 | 8 | 1,8 | 8 | 15 |  | | on request | | | 03099-11-06081288 | C | light grey RAL 7035 | 8 | M12 | 12 | 48,4 | 31,1 | 25 | 12,9 | 5,7 | 8 | 2,3 | 8 | 15 |  | | on request | | | 03099-11-060812188 | C | light grey RAL 7035 | 8 | M12x1,5 | 12 | 48,4 | 31,1 | 25 | 12,9 | 5,7 | 8 | 2,3 | 8 | 15 |  | | on request | | | 03099-11-06061688 | C | light grey RAL 7035 | 6 | M16 | 16 | 62,3 | 41,5 | 32 | 16,6 | 7 | 10 | 1,8 | 15 | 35 |  | | on request | | | 03099-11-060616188 | C | light grey RAL 7035 | 6 | M16x1,5 | 16 | 62,3 | 41,5 | 32 | 16,6 | 7 | 10 | 1,8 | 15 | 35 |  | | on request | | | 03099-11-06081688 | C | light grey RAL 7035 | 8 | M16 | 16 | 62,3 | 41,5 | 32 | 16,6 | 7 | 10 | 2,3 | 15 | 35 |  | | on request | | | 03099-11-060816188 | C | light grey RAL 7035 | 8 | M16x1,5 | 16 | 62,3 | 41,5 | 32 | 16,6 | 7 | 10 | 2,3 | 15 | 35 |  | | on request | | | 03099-11-06101688 | C | light grey RAL 7035 | 10 | M16 | 16 | 62,3 | 41,5 | 32 | 16,6 | 7 | 10 | 2,8 | 15 | 35 |  | | on request | | | 03099-11-061016188 | C | light grey RAL 7035 | 10 | M16x1,5 | 16 | 62,3 | 41,5 | 32 | 16,6 | 7 | 10 | 2,8 | 15 | 35 |  | | on request | | | 03099-11-06082088 | C | light grey RAL 7035 | 8 | M20 | 20 | 72,3 | 51,3 | 35 | 20,5 | 8,5 | 12 | 2,3 | 20 | 60 |  | | on request | | | 03099-11-060820188 | C | light grey RAL 7035 | 8 | M20x1,5 | 20 | 72,3 | 51,3 | 35 | 20,5 | 8,5 | 12 | 2,3 | 20 | 60 |  | | on request | | | 03099-11-06102088 | C | light grey RAL 7035 | 10 | M20 | 20 | 72,3 | 51,3 | 35 | 20,5 | 8,5 | 12 | 2,8 | 20 | 60 |  | | on request | | | 03099-11-061020188 | C | light grey RAL 7035 | 10 | M20x1,5 | 20 | 72,3 | 51,3 | 35 | 20,5 | 8,5 | 12 | 2,8 | 20 | 60 |  | | on request | | | 03099-11-06122088 | C | light grey RAL 7035 | 12 | M20 | 20 | 72,3 | 51,3 | 35 | 20,5 | 8,5 | 12 | 3 | 20 | 60 |  | | on request | | | 03099-11-061220188 | C | light grey RAL 7035 | 12 | M20x1,5 | 20 | 72,3 | 51,3 | 35 | 20,5 | 8,5 | 12 | 3 | 20 | 60 |  | | on request | |
|
| Order No. | Form | Component colour | D | D1 | D2 | L | L1 | L3 | B | B1 | H | SW | Fx30° | Spring force initial pressure F1 approx. N | Spring force final pressure F2 approx. N | CAD | Acc. | Price | Order |
|---|
| 03099-11-070410 | D | black grey RAL 7021 | 4 | M10 | 10 | 39,5 | 26,3 | 20 | 10,9 | 4,9 | 6 | 17 | 1 | 8 | 14 |  | | on request | | | 03099-11-0704101 | D | black grey RAL 7021 | 4 | M10x1 | 10 | 39,5 | 26,3 | 20 | 10,9 | 4,9 | 6 | 17 | 1 | 8 | 14 |  | | on request | | | 03099-11-070510 | D | black grey RAL 7021 | 5 | M10 | 10 | 39,5 | 26,3 | 20 | 10,9 | 4,9 | 6 | 17 | 1,3 | 8 | 14 |  | | on request | | | 03099-11-0705101 | D | black grey RAL 7021 | 5 | M10x1 | 10 | 39,5 | 26,3 | 20 | 10,9 | 4,9 | 6 | 17 | 1,3 | 8 | 14 |  | | on request | | | 03099-11-070610 | D | black grey RAL 7021 | 6 | M10 | 10 | 39,5 | 26,3 | 20 | 10,9 | 4,9 | 6 | 17 | 1,8 | 8 | 14 |  | | on request | | | 03099-11-0706101 | D | black grey RAL 7021 | 6 | M10x1 | 10 | 39,5 | 26,3 | 20 | 10,9 | 4,9 | 6 | 17 | 1,8 | 8 | 14 |  | | on request | | | 03099-11-070512 | D | black grey RAL 7021 | 5 | M12 | 12 | 48,4 | 31,1 | 25 | 12,9 | 5,7 | 8 | 19 | 1,3 | 8 | 15 |  | | on request | | | 03099-11-0705121 | D | black grey RAL 7021 | 5 | M12x1,5 | 12 | 48,4 | 31,1 | 25 | 12,9 | 5,7 | 8 | 19 | 1,3 | 8 | 15 |  | | on request | | | 03099-11-070612 | D | black grey RAL 7021 | 6 | M12 | 12 | 48,4 | 31,1 | 25 | 12,9 | 5,7 | 8 | 19 | 1,8 | 8 | 15 |  | | on request | | | 03099-11-0706121 | D | black grey RAL 7021 | 6 | M12x1,5 | 12 | 48,4 | 31,1 | 25 | 12,9 | 5,7 | 8 | 19 | 1,8 | 8 | 15 |  | | on request | | | 03099-11-070812 | D | black grey RAL 7021 | 8 | M12 | 12 | 48,4 | 31,1 | 25 | 12,9 | 5,7 | 8 | 19 | 2,3 | 8 | 15 |  | | on request | | | 03099-11-0708121 | D | black grey RAL 7021 | 8 | M12x1,5 | 12 | 48,4 | 31,1 | 25 | 12,9 | 5,7 | 8 | 19 | 2,3 | 8 | 15 |  | | on request | | | 03099-11-070616 | D | black grey RAL 7021 | 6 | M16 | 16 | 62,3 | 41,5 | 32 | 16,6 | 7 | 10 | 24 | 1,8 | 15 | 35 |  | | on request | | | 03099-11-0706161 | D | black grey RAL 7021 | 6 | M16x1,5 | 16 | 62,3 | 41,5 | 32 | 16,6 | 7 | 10 | 24 | 1,8 | 15 | 35 |  | | on request | | | 03099-11-070816 | D | black grey RAL 7021 | 8 | M16 | 16 | 62,3 | 41,5 | 32 | 16,6 | 7 | 10 | 24 | 2,3 | 15 | 35 |  | | on request | | | 03099-11-0708161 | D | black grey RAL 7021 | 8 | M16x1,5 | 16 | 62,3 | 41,5 | 32 | 16,6 | 7 | 10 | 24 | 2,3 | 15 | 35 |  | | on request | | | 03099-11-071016 | D | black grey RAL 7021 | 10 | M16 | 16 | 62,3 | 41,5 | 32 | 16,6 | 7 | 10 | 24 | 2,8 | 15 | 35 |  | | on request | | | 03099-11-0710161 | D | black grey RAL 7021 | 10 | M16x1,5 | 16 | 62,3 | 41,5 | 32 | 16,6 | 7 | 10 | 24 | 2,8 | 15 | 35 |  | | on request | | | 03099-11-070820 | D | black grey RAL 7021 | 8 | M20 | 20 | 72,3 | 51,3 | 35 | 20,5 | 8,5 | 12 | 30 | 2,3 | 20 | 60 |  | | on request | | | 03099-11-0708201 | D | black grey RAL 7021 | 8 | M20x1,5 | 20 | 72,3 | 51,3 | 35 | 20,5 | 8,5 | 12 | 30 | 2,3 | 20 | 60 |  | | on request | | | 03099-11-071020 | D | black grey RAL 7021 | 10 | M20 | 20 | 72,3 | 51,3 | 35 | 20,5 | 8,5 | 12 | 30 | 2,8 | 20 | 60 |  | | on request | | | 03099-11-0710201 | D | black grey RAL 7021 | 10 | M20x1,5 | 20 | 72,3 | 51,3 | 35 | 20,5 | 8,5 | 12 | 30 | 2,8 | 20 | 60 |  | | on request | | | 03099-11-071220 | D | black grey RAL 7021 | 12 | M20 | 20 | 72,3 | 51,3 | 35 | 20,5 | 8,5 | 12 | 30 | 3 | 20 | 60 |  | | on request | | | 03099-11-0712201 | D | black grey RAL 7021 | 12 | M20x1,5 | 20 | 72,3 | 51,3 | 35 | 20,5 | 8,5 | 12 | 30 | 3 | 20 | 60 |  | | on request | | | 03099-11-0704102 | D | orange RAL 2004 | 4 | M10 | 10 | 39,5 | 26,3 | 20 | 10,9 | 4,9 | 6 | 17 | 1 | 8 | 14 |  | | on request | | | 03099-11-07041012 | D | orange RAL 2004 | 4 | M10x1 | 10 | 39,5 | 26,3 | 20 | 10,9 | 4,9 | 6 | 17 | 1 | 8 | 14 |  | | on request | | | 03099-11-0705102 | D | orange RAL 2004 | 5 | M10 | 10 | 39,5 | 26,3 | 20 | 10,9 | 4,9 | 6 | 17 | 1,3 | 8 | 14 |  | | on request | | | 03099-11-07051012 | D | orange RAL 2004 | 5 | M10x1 | 10 | 39,5 | 26,3 | 20 | 10,9 | 4,9 | 6 | 17 | 1,3 | 8 | 14 |  | | on request | | | 03099-11-0706102 | D | orange RAL 2004 | 6 | M10 | 10 | 39,5 | 26,3 | 20 | 10,9 | 4,9 | 6 | 17 | 1,8 | 8 | 14 |  | | on request | | | 03099-11-07061012 | D | orange RAL 2004 | 6 | M10x1 | 10 | 39,5 | 26,3 | 20 | 10,9 | 4,9 | 6 | 17 | 1,8 | 8 | 14 |  | | on request | | | 03099-11-0705122 | D | orange RAL 2004 | 5 | M12 | 12 | 48,4 | 31,1 | 25 | 12,9 | 5,7 | 8 | 19 | 1,3 | 8 | 15 |  | | on request | | | 03099-11-07051212 | D | orange RAL 2004 | 5 | M12x1,5 | 12 | 48,4 | 31,1 | 25 | 12,9 | 5,7 | 8 | 19 | 1,3 | 8 | 15 |  | | on request | | | 03099-11-0706122 | D | orange RAL 2004 | 6 | M12 | 12 | 48,4 | 31,1 | 25 | 12,9 | 5,7 | 8 | 19 | 1,8 | 8 | 15 |  | | on request | | | 03099-11-07061212 | D | orange RAL 2004 | 6 | M12x1,5 | 12 | 48,4 | 31,1 | 25 | 12,9 | 5,7 | 8 | 19 | 1,8 | 8 | 15 |  | | on request | | | 03099-11-0708122 | D | orange RAL 2004 | 8 | M12 | 12 | 48,4 | 31,1 | 25 | 12,9 | 5,7 | 8 | 19 | 2,3 | 8 | 15 |  | | on request | | | 03099-11-07081212 | D | orange RAL 2004 | 8 | M12x1,5 | 12 | 48,4 | 31,1 | 25 | 12,9 | 5,7 | 8 | 19 | 2,3 | 8 | 15 |  | | on request | | | 03099-11-0706162 | D | orange RAL 2004 | 6 | M16 | 16 | 62,3 | 41,5 | 32 | 16,6 | 7 | 10 | 24 | 1,8 | 15 | 35 |  | | on request | | | 03099-11-07061612 | D | orange RAL 2004 | 6 | M16x1,5 | 16 | 62,3 | 41,5 | 32 | 16,6 | 7 | 10 | 24 | 1,8 | 15 | 35 |  | | on request | | | 03099-11-0708162 | D | orange RAL 2004 | 8 | M16 | 16 | 62,3 | 41,5 | 32 | 16,6 | 7 | 10 | 24 | 2,3 | 15 | 35 |  | | on request | | | 03099-11-07081612 | D | orange RAL 2004 | 8 | M16x1,5 | 16 | 62,3 | 41,5 | 32 | 16,6 | 7 | 10 | 24 | 2,3 | 15 | 35 |  | | on request | | | 03099-11-0710162 | D | orange RAL 2004 | 10 | M16 | 16 | 62,3 | 41,5 | 32 | 16,6 | 7 | 10 | 24 | 2,8 | 15 | 35 |  | | on request | | | 03099-11-07101612 | D | orange RAL 2004 | 10 | M16x1,5 | 16 | 62,3 | 41,5 | 32 | 16,6 | 7 | 10 | 24 | 2,8 | 15 | 35 |  | | on request | | | 03099-11-0708202 | D | orange RAL 2004 | 8 | M20 | 20 | 72,3 | 51,3 | 35 | 20,5 | 8,5 | 12 | 30 | 2,3 | 20 | 60 |  | | on request | | | 03099-11-07082012 | D | orange RAL 2004 | 8 | M20x1,5 | 20 | 72,3 | 51,3 | 35 | 20,5 | 8,5 | 12 | 30 | 2,3 | 20 | 60 |  | | on request | | | 03099-11-0710202 | D | orange RAL 2004 | 10 | M20 | 20 | 72,3 | 51,3 | 35 | 20,5 | 8,5 | 12 | 30 | 2,8 | 20 | 60 |  | | on request | | | 03099-11-07102012 | D | orange RAL 2004 | 10 | M20x1,5 | 20 | 72,3 | 51,3 | 35 | 20,5 | 8,5 | 12 | 30 | 2,8 | 20 | 60 |  | | on request | | | 03099-11-0712202 | D | orange RAL 2004 | 12 | M20 | 20 | 72,3 | 51,3 | 35 | 20,5 | 8,5 | 12 | 30 | 3 | 20 | 60 |  | | on request | | | 03099-11-07122012 | D | orange RAL 2004 | 12 | M20x1,5 | 20 | 72,3 | 51,3 | 35 | 20,5 | 8,5 | 12 | 30 | 3 | 20 | 60 |  | | on request | | | 03099-11-07041016 | D | colza yellow RAL 1021 | 4 | M10 | 10 | 39,5 | 26,3 | 20 | 10,9 | 4,9 | 6 | 17 | 1 | 8 | 14 |  | | on request | | | 03099-11-070410116 | D | colza yellow RAL 1021 | 4 | M10x1 | 10 | 39,5 | 26,3 | 20 | 10,9 | 4,9 | 6 | 17 | 1 | 8 | 14 |  | | on request | | | 03099-11-07051016 | D | colza yellow RAL 1021 | 5 | M10 | 10 | 39,5 | 26,3 | 20 | 10,9 | 4,9 | 6 | 17 | 1,3 | 8 | 14 |  | | on request | | | 03099-11-070510116 | D | colza yellow RAL 1021 | 5 | M10x1 | 10 | 39,5 | 26,3 | 20 | 10,9 | 4,9 | 6 | 17 | 1,3 | 8 | 14 |  | | on request | | | 03099-11-07061016 | D | colza yellow RAL 1021 | 6 | M10 | 10 | 39,5 | 26,3 | 20 | 10,9 | 4,9 | 6 | 17 | 1,8 | 8 | 14 |  | | on request | | | 03099-11-070610116 | D | colza yellow RAL 1021 | 6 | M10x1 | 10 | 39,5 | 26,3 | 20 | 10,9 | 4,9 | 6 | 17 | 1,8 | 8 | 14 |  | | on request | | | 03099-11-07051216 | D | colza yellow RAL 1021 | 5 | M12 | 12 | 48,4 | 31,1 | 25 | 12,9 | 5,7 | 8 | 19 | 1,3 | 8 | 15 |  | | on request | | | 03099-11-070512116 | D | colza yellow RAL 1021 | 5 | M12x1,5 | 12 | 48,4 | 31,1 | 25 | 12,9 | 5,7 | 8 | 19 | 1,3 | 8 | 15 |  | | on request | | | 03099-11-07061216 | D | colza yellow RAL 1021 | 6 | M12 | 12 | 48,4 | 31,1 | 25 | 12,9 | 5,7 | 8 | 19 | 1,8 | 8 | 15 |  | | on request | | | 03099-11-070612116 | D | colza yellow RAL 1021 | 6 | M12x1,5 | 12 | 48,4 | 31,1 | 25 | 12,9 | 5,7 | 8 | 19 | 1,8 | 8 | 15 |  | | on request | | | 03099-11-07081216 | D | colza yellow RAL 1021 | 8 | M12 | 12 | 48,4 | 31,1 | 25 | 12,9 | 5,7 | 8 | 19 | 2,3 | 8 | 15 |  | | on request | | | 03099-11-070812116 | D | colza yellow RAL 1021 | 8 | M12x1,5 | 12 | 48,4 | 31,1 | 25 | 12,9 | 5,7 | 8 | 19 | 2,3 | 8 | 15 |  | | on request | | | 03099-11-07061616 | D | colza yellow RAL 1021 | 6 | M16 | 16 | 62,3 | 41,5 | 32 | 16,6 | 7 | 10 | 24 | 1,8 | 15 | 35 |  | | on request | | | 03099-11-070616116 | D | colza yellow RAL 1021 | 6 | M16x1,5 | 16 | 62,3 | 41,5 | 32 | 16,6 | 7 | 10 | 24 | 1,8 | 15 | 35 |  | | on request | | | 03099-11-07081616 | D | colza yellow RAL 1021 | 8 | M16 | 16 | 62,3 | 41,5 | 32 | 16,6 | 7 | 10 | 24 | 2,3 | 15 | 35 |  | | on request | | | 03099-11-070816116 | D | colza yellow RAL 1021 | 8 | M16x1,5 | 16 | 62,3 | 41,5 | 32 | 16,6 | 7 | 10 | 24 | 2,3 | 15 | 35 |  | | on request | | | 03099-11-07101616 | D | colza yellow RAL 1021 | 10 | M16 | 16 | 62,3 | 41,5 | 32 | 16,6 | 7 | 10 | 24 | 2,8 | 15 | 35 |  | | on request | | | 03099-11-071016116 | D | colza yellow RAL 1021 | 10 | M16x1,5 | 16 | 62,3 | 41,5 | 32 | 16,6 | 7 | 10 | 24 | 2,8 | 15 | 35 |  | | on request | | | 03099-11-07082016 | D | colza yellow RAL 1021 | 8 | M20 | 20 | 72,3 | 51,3 | 35 | 20,5 | 8,5 | 12 | 30 | 2,3 | 20 | 60 |  | | on request | | | 03099-11-070820116 | D | colza yellow RAL 1021 | 8 | M20x1,5 | 20 | 72,3 | 51,3 | 35 | 20,5 | 8,5 | 12 | 30 | 2,3 | 20 | 60 |  | | on request | | | 03099-11-07102016 | D | colza yellow RAL 1021 | 10 | M20 | 20 | 72,3 | 51,3 | 35 | 20,5 | 8,5 | 12 | 30 | 2,8 | 20 | 60 |  | | on request | | | 03099-11-071020116 | D | colza yellow RAL 1021 | 10 | M20x1,5 | 20 | 72,3 | 51,3 | 35 | 20,5 | 8,5 | 12 | 30 | 2,8 | 20 | 60 |  | | on request | | | 03099-11-07122016 | D | colza yellow RAL 1021 | 12 | M20 | 20 | 72,3 | 51,3 | 35 | 20,5 | 8,5 | 12 | 30 | 3 | 20 | 60 |  | | on request | | | 03099-11-071220116 | D | colza yellow RAL 1021 | 12 | M20x1,5 | 20 | 72,3 | 51,3 | 35 | 20,5 | 8,5 | 12 | 30 | 3 | 20 | 60 |  | | on request | | | 03099-11-07041084 | D | traffic red RAL 3020 | 4 | M10 | 10 | 39,5 | 26,3 | 20 | 10,9 | 4,9 | 6 | 17 | 1 | 8 | 14 |  | | on request | | | 03099-11-070410184 | D | traffic red RAL 3020 | 4 | M10x1 | 10 | 39,5 | 26,3 | 20 | 10,9 | 4,9 | 6 | 17 | 1 | 8 | 14 |  | | on request | | | 03099-11-07051084 | D | traffic red RAL 3020 | 5 | M10 | 10 | 39,5 | 26,3 | 20 | 10,9 | 4,9 | 6 | 17 | 1,3 | 8 | 14 |  | | on request | | | 03099-11-070510184 | D | traffic red RAL 3020 | 5 | M10x1 | 10 | 39,5 | 26,3 | 20 | 10,9 | 4,9 | 6 | 17 | 1,3 | 8 | 14 |  | | on request | | | 03099-11-07061084 | D | traffic red RAL 3020 | 6 | M10 | 10 | 39,5 | 26,3 | 20 | 10,9 | 4,9 | 6 | 17 | 1,8 | 8 | 14 |  | | on request | | | 03099-11-070610184 | D | traffic red RAL 3020 | 6 | M10x1 | 10 | 39,5 | 26,3 | 20 | 10,9 | 4,9 | 6 | 17 | 1,8 | 8 | 14 |  | | on request | | | 03099-11-07051284 | D | traffic red RAL 3020 | 5 | M12 | 12 | 48,4 | 31,1 | 25 | 12,9 | 5,7 | 8 | 19 | 1,3 | 8 | 15 |  | | on request | | | 03099-11-070512184 | D | traffic red RAL 3020 | 5 | M12x1,5 | 12 | 48,4 | 31,1 | 25 | 12,9 | 5,7 | 8 | 19 | 1,3 | 8 | 15 |  | | on request | | | 03099-11-07061284 | D | traffic red RAL 3020 | 6 | M12 | 12 | 48,4 | 31,1 | 25 | 12,9 | 5,7 | 8 | 19 | 1,8 | 8 | 15 |  | | on request | | | 03099-11-070612184 | D | traffic red RAL 3020 | 6 | M12x1,5 | 12 | 48,4 | 31,1 | 25 | 12,9 | 5,7 | 8 | 19 | 1,8 | 8 | 15 |  | | on request | | | 03099-11-07081284 | D | traffic red RAL 3020 | 8 | M12 | 12 | 48,4 | 31,1 | 25 | 12,9 | 5,7 | 8 | 19 | 2,3 | 8 | 15 |  | | on request | | | 03099-11-070812184 | D | traffic red RAL 3020 | 8 | M12x1,5 | 12 | 48,4 | 31,1 | 25 | 12,9 | 5,7 | 8 | 19 | 2,3 | 8 | 15 |  | | on request | | | 03099-11-07061684 | D | traffic red RAL 3020 | 6 | M16 | 16 | 62,3 | 41,5 | 32 | 16,6 | 7 | 10 | 24 | 1,8 | 15 | 35 |  | | on request | | | 03099-11-070616184 | D | traffic red RAL 3020 | 6 | M16x1,5 | 16 | 62,3 | 41,5 | 32 | 16,6 | 7 | 10 | 24 | 1,8 | 15 | 35 |  | | on request | | | 03099-11-07081684 | D | traffic red RAL 3020 | 8 | M16 | 16 | 62,3 | 41,5 | 32 | 16,6 | 7 | 10 | 24 | 2,3 | 15 | 35 |  | | on request | | | 03099-11-070816184 | D | traffic red RAL 3020 | 8 | M16x1,5 | 16 | 62,3 | 41,5 | 32 | 16,6 | 7 | 10 | 24 | 2,3 | 15 | 35 |  | | on request | | | 03099-11-07101684 | D | traffic red RAL 3020 | 10 | M16 | 16 | 62,3 | 41,5 | 32 | 16,6 | 7 | 10 | 24 | 2,8 | 15 | 35 |  | | on request | | | 03099-11-071016184 | D | traffic red RAL 3020 | 10 | M16x1,5 | 16 | 62,3 | 41,5 | 32 | 16,6 | 7 | 10 | 24 | 2,8 | 15 | 35 |  | | on request | | | 03099-11-07082084 | D | traffic red RAL 3020 | 8 | M20 | 20 | 72,3 | 51,3 | 35 | 20,5 | 8,5 | 12 | 30 | 2,3 | 20 | 60 |  | | on request | | | 03099-11-070820184 | D | traffic red RAL 3020 | 8 | M20x1,5 | 20 | 72,3 | 51,3 | 35 | 20,5 | 8,5 | 12 | 30 | 2,3 | 20 | 60 |  | | on request | | | 03099-11-07102084 | D | traffic red RAL 3020 | 10 | M20 | 20 | 72,3 | 51,3 | 35 | 20,5 | 8,5 | 12 | 30 | 2,8 | 20 | 60 |  | | on request | | | 03099-11-071020184 | D | traffic red RAL 3020 | 10 | M20x1,5 | 20 | 72,3 | 51,3 | 35 | 20,5 | 8,5 | 12 | 30 | 2,8 | 20 | 60 |  | | on request | | | 03099-11-07122084 | D | traffic red RAL 3020 | 12 | M20 | 20 | 72,3 | 51,3 | 35 | 20,5 | 8,5 | 12 | 30 | 3 | 20 | 60 |  | | on request | | | 03099-11-071220184 | D | traffic red RAL 3020 | 12 | M20x1,5 | 20 | 72,3 | 51,3 | 35 | 20,5 | 8,5 | 12 | 30 | 3 | 20 | 60 |  | | on request | | | 03099-11-07041086 | D | signal green RAL 6032 | 4 | M10 | 10 | 39,5 | 26,3 | 20 | 10,9 | 4,9 | 6 | 17 | 1 | 8 | 14 |  | | on request | | | 03099-11-070410186 | D | signal green RAL 6032 | 4 | M10x1 | 10 | 39,5 | 26,3 | 20 | 10,9 | 4,9 | 6 | 17 | 1 | 8 | 14 |  | | on request | | | 03099-11-07051086 | D | signal green RAL 6032 | 5 | M10 | 10 | 39,5 | 26,3 | 20 | 10,9 | 4,9 | 6 | 17 | 1,3 | 8 | 14 |  | | on request | | | 03099-11-070510186 | D | signal green RAL 6032 | 5 | M10x1 | 10 | 39,5 | 26,3 | 20 | 10,9 | 4,9 | 6 | 17 | 1,3 | 8 | 14 |  | | on request | | | 03099-11-07061086 | D | signal green RAL 6032 | 6 | M10 | 10 | 39,5 | 26,3 | 20 | 10,9 | 4,9 | 6 | 17 | 1,8 | 8 | 14 |  | | on request | | | 03099-11-070610186 | D | signal green RAL 6032 | 6 | M10x1 | 10 | 39,5 | 26,3 | 20 | 10,9 | 4,9 | 6 | 17 | 1,8 | 8 | 14 |  | | on request | | | 03099-11-07051286 | D | signal green RAL 6032 | 5 | M12 | 12 | 48,4 | 31,1 | 25 | 12,9 | 5,7 | 8 | 19 | 1,3 | 8 | 15 |  | | on request | | | 03099-11-070512186 | D | signal green RAL 6032 | 5 | M12x1,5 | 12 | 48,4 | 31,1 | 25 | 12,9 | 5,7 | 8 | 19 | 1,3 | 8 | 15 |  | | on request | | | 03099-11-07061286 | D | signal green RAL 6032 | 6 | M12 | 12 | 48,4 | 31,1 | 25 | 12,9 | 5,7 | 8 | 19 | 1,8 | 8 | 15 |  | | on request | | | 03099-11-070612186 | D | signal green RAL 6032 | 6 | M12x1,5 | 12 | 48,4 | 31,1 | 25 | 12,9 | 5,7 | 8 | 19 | 1,8 | 8 | 15 |  | | on request | | | 03099-11-07081286 | D | signal green RAL 6032 | 8 | M12 | 12 | 48,4 | 31,1 | 25 | 12,9 | 5,7 | 8 | 19 | 2,3 | 8 | 15 |  | | on request | | | 03099-11-070812186 | D | signal green RAL 6032 | 8 | M12x1,5 | 12 | 48,4 | 31,1 | 25 | 12,9 | 5,7 | 8 | 19 | 2,3 | 8 | 15 |  | | on request | | | 03099-11-07061686 | D | signal green RAL 6032 | 6 | M16 | 16 | 62,3 | 41,5 | 32 | 16,6 | 7 | 10 | 24 | 1,8 | 15 | 35 |  | | on request | | | 03099-11-070616186 | D | signal green RAL 6032 | 6 | M16x1,5 | 16 | 62,3 | 41,5 | 32 | 16,6 | 7 | 10 | 24 | 1,8 | 15 | 35 |  | | on request | | | 03099-11-07081686 | D | signal green RAL 6032 | 8 | M16 | 16 | 62,3 | 41,5 | 32 | 16,6 | 7 | 10 | 24 | 2,3 | 15 | 35 |  | | on request | | | 03099-11-070816186 | D | signal green RAL 6032 | 8 | M16x1,5 | 16 | 62,3 | 41,5 | 32 | 16,6 | 7 | 10 | 24 | 2,3 | 15 | 35 |  | | on request | | | 03099-11-07101686 | D | signal green RAL 6032 | 10 | M16 | 16 | 62,3 | 41,5 | 32 | 16,6 | 7 | 10 | 24 | 2,8 | 15 | 35 |  | | on request | | | 03099-11-071016186 | D | signal green RAL 6032 | 10 | M16x1,5 | 16 | 62,3 | 41,5 | 32 | 16,6 | 7 | 10 | 24 | 2,8 | 15 | 35 |  | | on request | | | 03099-11-07082086 | D | signal green RAL 6032 | 8 | M20 | 20 | 72,3 | 51,3 | 35 | 20,5 | 8,5 | 12 | 30 | 2,3 | 20 | 60 |  | | on request | | | 03099-11-070820186 | D | signal green RAL 6032 | 8 | M20x1,5 | 20 | 72,3 | 51,3 | 35 | 20,5 | 8,5 | 12 | 30 | 2,3 | 20 | 60 |  | | on request | | | 03099-11-07102086 | D | signal green RAL 6032 | 10 | M20 | 20 | 72,3 | 51,3 | 35 | 20,5 | 8,5 | 12 | 30 | 2,8 | 20 | 60 |  | | on request | | | 03099-11-071020186 | D | signal green RAL 6032 | 10 | M20x1,5 | 20 | 72,3 | 51,3 | 35 | 20,5 | 8,5 | 12 | 30 | 2,8 | 20 | 60 |  | | on request | | | 03099-11-07122086 | D | signal green RAL 6032 | 12 | M20 | 20 | 72,3 | 51,3 | 35 | 20,5 | 8,5 | 12 | 30 | 3 | 20 | 60 |  | | on request | | | 03099-11-071220186 | D | signal green RAL 6032 | 12 | M20x1,5 | 20 | 72,3 | 51,3 | 35 | 20,5 | 8,5 | 12 | 30 | 3 | 20 | 60 |  | | on request | | | 03099-11-07041087 | D | traffic blue RAL 5017 | 4 | M10 | 10 | 39,5 | 26,3 | 20 | 10,9 | 4,9 | 6 | 17 | 1 | 8 | 14 |  | | on request | | | 03099-11-070410187 | D | traffic blue RAL 5017 | 4 | M10x1 | 10 | 39,5 | 26,3 | 20 | 10,9 | 4,9 | 6 | 17 | 1 | 8 | 14 |  | | on request | | | 03099-11-07051087 | D | traffic blue RAL 5017 | 5 | M10 | 10 | 39,5 | 26,3 | 20 | 10,9 | 4,9 | 6 | 17 | 1,3 | 8 | 14 |  | | on request | | | 03099-11-070510187 | D | traffic blue RAL 5017 | 5 | M10x1 | 10 | 39,5 | 26,3 | 20 | 10,9 | 4,9 | 6 | 17 | 1,3 | 8 | 14 |  | | on request | | | 03099-11-07061087 | D | traffic blue RAL 5017 | 6 | M10 | 10 | 39,5 | 26,3 | 20 | 10,9 | 4,9 | 6 | 17 | 1,8 | 8 | 14 |  | | on request | | | 03099-11-070610187 | D | traffic blue RAL 5017 | 6 | M10x1 | 10 | 39,5 | 26,3 | 20 | 10,9 | 4,9 | 6 | 17 | 1,8 | 8 | 14 |  | | on request | | | 03099-11-07051287 | D | traffic blue RAL 5017 | 5 | M12 | 12 | 48,4 | 31,1 | 25 | 12,9 | 5,7 | 8 | 19 | 1,3 | 8 | 15 |  | | on request | | | 03099-11-070512187 | D | traffic blue RAL 5017 | 5 | M12x1,5 | 12 | 48,4 | 31,1 | 25 | 12,9 | 5,7 | 8 | 19 | 1,3 | 8 | 15 |  | | on request | | | 03099-11-07061287 | D | traffic blue RAL 5017 | 6 | M12 | 12 | 48,4 | 31,1 | 25 | 12,9 | 5,7 | 8 | 19 | 1,8 | 8 | 15 |  | | on request | | | 03099-11-070612187 | D | traffic blue RAL 5017 | 6 | M12x1,5 | 12 | 48,4 | 31,1 | 25 | 12,9 | 5,7 | 8 | 19 | 1,8 | 8 | 15 |  | | on request | | | 03099-11-07081287 | D | traffic blue RAL 5017 | 8 | M12 | 12 | 48,4 | 31,1 | 25 | 12,9 | 5,7 | 8 | 19 | 2,3 | 8 | 15 |  | | on request | | | 03099-11-070812187 | D | traffic blue RAL 5017 | 8 | M12x1,5 | 12 | 48,4 | 31,1 | 25 | 12,9 | 5,7 | 8 | 19 | 2,3 | 8 | 15 |  | | on request | | | 03099-11-07061687 | D | traffic blue RAL 5017 | 6 | M16 | 16 | 62,3 | 41,5 | 32 | 16,6 | 7 | 10 | 24 | 1,8 | 15 | 35 |  | | on request | | | 03099-11-070616187 | D | traffic blue RAL 5017 | 6 | M16x1,5 | 16 | 62,3 | 41,5 | 32 | 16,6 | 7 | 10 | 24 | 1,8 | 15 | 35 |  | | on request | | | 03099-11-07081687 | D | traffic blue RAL 5017 | 8 | M16 | 16 | 62,3 | 41,5 | 32 | 16,6 | 7 | 10 | 24 | 2,3 | 15 | 35 |  | | on request | | | 03099-11-070816187 | D | traffic blue RAL 5017 | 8 | M16x1,5 | 16 | 62,3 | 41,5 | 32 | 16,6 | 7 | 10 | 24 | 2,3 | 15 | 35 |  | | on request | | | 03099-11-07101687 | D | traffic blue RAL 5017 | 10 | M16 | 16 | 62,3 | 41,5 | 32 | 16,6 | 7 | 10 | 24 | 2,8 | 15 | 35 |  | | on request | | | 03099-11-071016187 | D | traffic blue RAL 5017 | 10 | M16x1,5 | 16 | 62,3 | 41,5 | 32 | 16,6 | 7 | 10 | 24 | 2,8 | 15 | 35 |  | | on request | | | 03099-11-07082087 | D | traffic blue RAL 5017 | 8 | M20 | 20 | 72,3 | 51,3 | 35 | 20,5 | 8,5 | 12 | 30 | 2,3 | 20 | 60 |  | | on request | | | 03099-11-070820187 | D | traffic blue RAL 5017 | 8 | M20x1,5 | 20 | 72,3 | 51,3 | 35 | 20,5 | 8,5 | 12 | 30 | 2,3 | 20 | 60 |  | | on request | | | 03099-11-07102087 | D | traffic blue RAL 5017 | 10 | M20 | 20 | 72,3 | 51,3 | 35 | 20,5 | 8,5 | 12 | 30 | 2,8 | 20 | 60 |  | | on request | | | 03099-11-071020187 | D | traffic blue RAL 5017 | 10 | M20x1,5 | 20 | 72,3 | 51,3 | 35 | 20,5 | 8,5 | 12 | 30 | 2,8 | 20 | 60 |  | | on request | | | 03099-11-07122087 | D | traffic blue RAL 5017 | 12 | M20 | 20 | 72,3 | 51,3 | 35 | 20,5 | 8,5 | 12 | 30 | 3 | 20 | 60 |  | | on request | | | 03099-11-071220187 | D | traffic blue RAL 5017 | 12 | M20x1,5 | 20 | 72,3 | 51,3 | 35 | 20,5 | 8,5 | 12 | 30 | 3 | 20 | 60 |  | | on request | | | 03099-11-07041088 | D | light grey RAL 7035 | 4 | M10 | 10 | 39,5 | 26,3 | 20 | 10,9 | 4,9 | 6 | 17 | 1 | 8 | 14 |  | | on request | | | 03099-11-070410188 | D | light grey RAL 7035 | 4 | M10x1 | 10 | 39,5 | 26,3 | 20 | 10,9 | 4,9 | 6 | 17 | 1 | 8 | 14 |  | | on request | | | 03099-11-07051088 | D | light grey RAL 7035 | 5 | M10 | 10 | 39,5 | 26,3 | 20 | 10,9 | 4,9 | 6 | 17 | 1,3 | 8 | 14 |  | | on request | | | 03099-11-070510188 | D | light grey RAL 7035 | 5 | M10x1 | 10 | 39,5 | 26,3 | 20 | 10,9 | 4,9 | 6 | 17 | 1,3 | 8 | 14 |  | | on request | | | 03099-11-07061088 | D | light grey RAL 7035 | 6 | M10 | 10 | 39,5 | 26,3 | 20 | 10,9 | 4,9 | 6 | 17 | 1,8 | 8 | 14 |  | | on request | | | 03099-11-070610188 | D | light grey RAL 7035 | 6 | M10x1 | 10 | 39,5 | 26,3 | 20 | 10,9 | 4,9 | 6 | 17 | 1,8 | 8 | 14 |  | | on request | | | 03099-11-07051288 | D | light grey RAL 7035 | 5 | M12 | 12 | 48,4 | 31,1 | 25 | 12,9 | 5,7 | 8 | 19 | 1,3 | 8 | 15 |  | | on request | | | 03099-11-070512188 | D | light grey RAL 7035 | 5 | M12x1,5 | 12 | 48,4 | 31,1 | 25 | 12,9 | 5,7 | 8 | 19 | 1,3 | 8 | 15 |  | | on request | | | 03099-11-07061288 | D | light grey RAL 7035 | 6 | M12 | 12 | 48,4 | 31,1 | 25 | 12,9 | 5,7 | 8 | 19 | 1,8 | 8 | 15 |  | | on request | | | 03099-11-070612188 | D | light grey RAL 7035 | 6 | M12x1,5 | 12 | 48,4 | 31,1 | 25 | 12,9 | 5,7 | 8 | 19 | 1,8 | 8 | 15 |  | | on request | | | 03099-11-07081288 | D | light grey RAL 7035 | 8 | M12 | 12 | 48,4 | 31,1 | 25 | 12,9 | 5,7 | 8 | 19 | 2,3 | 8 | 15 |  | | on request | | | 03099-11-070812188 | D | light grey RAL 7035 | 8 | M12x1,5 | 12 | 48,4 | 31,1 | 25 | 12,9 | 5,7 | 8 | 19 | 2,3 | 8 | 15 |  | | on request | | | 03099-11-07061688 | D | light grey RAL 7035 | 6 | M16 | 16 | 62,3 | 41,5 | 32 | 16,6 | 7 | 10 | 24 | 1,8 | 15 | 35 |  | | on request | | | 03099-11-070616188 | D | light grey RAL 7035 | 6 | M16x1,5 | 16 | 62,3 | 41,5 | 32 | 16,6 | 7 | 10 | 24 | 1,8 | 15 | 35 |  | | on request | | | 03099-11-07081688 | D | light grey RAL 7035 | 8 | M16 | 16 | 62,3 | 41,5 | 32 | 16,6 | 7 | 10 | 24 | 2,3 | 15 | 35 |  | | on request | | | 03099-11-070816188 | D | light grey RAL 7035 | 8 | M16x1,5 | 16 | 62,3 | 41,5 | 32 | 16,6 | 7 | 10 | 24 | 2,3 | 15 | 35 |  | | on request | | | 03099-11-07101688 | D | light grey RAL 7035 | 10 | M16 | 16 | 62,3 | 41,5 | 32 | 16,6 | 7 | 10 | 24 | 2,8 | 15 | 35 |  | | on request | | | 03099-11-071016188 | D | light grey RAL 7035 | 10 | M16x1,5 | 16 | 62,3 | 41,5 | 32 | 16,6 | 7 | 10 | 24 | 2,8 | 15 | 35 |  | | on request | | | 03099-11-07082088 | D | light grey RAL 7035 | 8 | M20 | 20 | 72,3 | 51,3 | 35 | 20,5 | 8,5 | 12 | 30 | 2,3 | 20 | 60 |  | | on request | | | 03099-11-070820188 | D | light grey RAL 7035 | 8 | M20x1,5 | 20 | 72,3 | 51,3 | 35 | 20,5 | 8,5 | 12 | 30 | 2,3 | 20 | 60 |  | | on request | | | 03099-11-07102088 | D | light grey RAL 7035 | 10 | M20 | 20 | 72,3 | 51,3 | 35 | 20,5 | 8,5 | 12 | 30 | 2,8 | 20 | 60 |  | | on request | | | 03099-11-071020188 | D | light grey RAL 7035 | 10 | M20x1,5 | 20 | 72,3 | 51,3 | 35 | 20,5 | 8,5 | 12 | 30 | 2,8 | 20 | 60 |  | | on request | | | 03099-11-07122088 | D | light grey RAL 7035 | 12 | M20 | 20 | 72,3 | 51,3 | 35 | 20,5 | 8,5 | 12 | 30 | 3 | 20 | 60 |  | | on request | | | 03099-11-071220188 | D | light grey RAL 7035 | 12 | M20x1,5 | 20 | 72,3 | 51,3 | 35 | 20,5 | 8,5 | 12 | 30 | 3 | 20 | 60 |  | | on request | |
|
Other items in this category |
|
|